电脑桌面
添加小米粒文库到电脑桌面
安装后可以在桌面快捷访问

nRF9E5CNVIP免费

nRF9E5CN_第1页
1/63
nRF9E5CN_第2页
2/63
nRF9E5CN_第3页
3/63
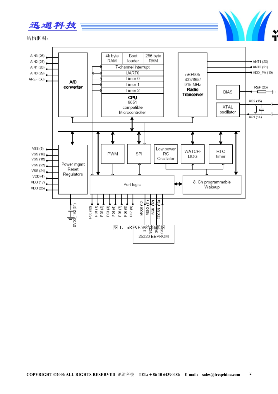
COPYRIGHT © 2006 ALL RIGHTS RESERVED 迅通科技 TEL: + 86 10 64390486 E-mail: sales@freqchina.com 1内置51 微处理器和4 路10 位A/D RF 430/868/915MHz 系统级单片无线收发芯片 nRF9E5 特性:  内置nRF905 433/868/915MHz 收发器  内嵌8051 微控制器  4 输入10 位80kspsAD 转换器  工作电压:1.9-3.6V  封装:32pin QFN (5×5mm)  极少的外围元件  内部VDD 电源监控  掉电模式时工作电流: 2.5 µA  最大输出功率: +10 dBm  频道切换时间650µs  低MCU 供电电流 1mA ,4MHz@3V  适合高频应用  载波检测功能  低供电电流,发射时的典型值为11mA@-10dBm,接收时的典型值为12.5mA 概述: nRF9E5是真正的系统级无线射频收发芯片,内嵌高性能8051MCU,4通道12位ADC。内置nRF905收发器,包括所有nRF905芯片特性,可以工作在ShockburstTM模式下(自动处理前缀,地址和CRC),最大程度的抑制了噪声,工作电压范围为1.9V-3.6V。nRF9E5符合FCC标准和ETSI EN300 220-1标准。 快速参考数据: 参数 值 单位 最低供电电压 1.9 V 温度范围 -40~+85 ℃ 在发射功率为-10dBm 时的发射电流 11 mA 接收模式下的电流 12.5 mA 微控制器4MHz@3volt 时的供电电流 1 mA ADC 工作电流 0.9 mA 最大发射功率 10 dBm 数据传输率 100 kbps 灵敏度 -100 dBm 低功耗模式下工作电流 2.5 µA 表 1. nRF9E5 快速参考数据 分类信息: 型号 描述 版本 nRF9E5 IC 32L QFN 5*5mm - nRF9E5-EVKIT433 评估套件433MHz 1.0 nRF9E5-EVKIT 868/915 评估套件868/915MHz 1.0 表 2. nRF9E5 分类信息 应用领域:  无线数据通讯  报警和安全系统  自动测试系统  家庭自动化控制  遥控装置  监测  车辆安全系统  工业控制  无线通信  电信终端 COPYRIGHT © 2006 ALL RIGHTS RESERVED 迅通科技 TEL: + 86 10 64390486 E-mail: sales@freqchina.com 2结构框图: 图1. nRF9E5 结构框图 COPYRIGHT © 2006 ALL RIGHTS RESERVED 迅通科技 TEL: + 86 10 64390486 E-mail: sales@freqchina.com 3目录: 1. 概述 1.1 微控制器 1.2 脉宽调制 PWM 1.3 连续可编程接口SPI 1.4 端口逻辑 1.5 电源管理 1.6 低频时钟,RTC 唤醒定时器, GPIO 唤...

1、当您付费下载文档后,您只拥有了使用权限,并不意味着购买了版权,文档只能用于自身使用,不得用于其他商业用途(如 [转卖]进行直接盈利或[编辑后售卖]进行间接盈利)。
2、本站所有内容均由合作方或网友上传,本站不对文档的完整性、权威性及其观点立场正确性做任何保证或承诺!文档内容仅供研究参考,付费前请自行鉴别。
3、如文档内容存在违规,或者侵犯商业秘密、侵犯著作权等,请点击“违规举报”。

碎片内容

您可能关注的文档

确认删除?
VIP
微信客服
  • 扫码咨询
会员Q群
  • 会员专属群点击这里加入QQ群
客服邮箱
回到顶部