海量管理资料下载,仅供学习研究之用,严禁用作商业用途 物流管理系统 物流配送流程图: 一、货物入库 1. 物流配送中心根据客户的入库...
物流工作流程及出入库管理流程图 出入库管理制度 一、物品入库有关制度: (一)物品采购回来后首先办理入库手续,由采购人员向仓库管理...
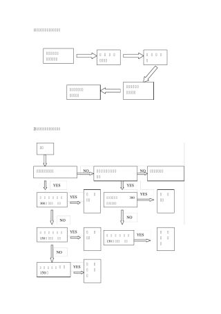
2 -2 月度物料需求计划流程 是 是 否 下月预测计划 营销部 成品库存计划 本月营销计划 月末成品台帐 库存管理制度 制订物料库...
物流工作流程及出入库管理流程图 出入库管理制度 一、物品入库有关制度: (一)物品采购回来后首先办理入库手续,由采购人员向仓库管理...
1、银行业务系统的业务流程图 2、移动优惠卡逻辑关系判断树 接收存、取款单和用户存折 查 询 存 款文件核对 存 取 款 处理 修改...
一、 制造业企业主流程 制造业企业,必须遵守制造业企业主流程。 制造企业的管理目标通常是“在客户约定的时间内,以可接受的成本生产出...
物业管理工作流程图()
物业管理全套工作流程图 一 物业服务中心流程图(2 0 个) 中心流程 住户入住控制流程图 业主装修控制流程图 用户报...
物业服务办事制度 一、工作时间 工作时间:8:30—20:30 二、服务内容 负责项目的公共秩序维护、公共设施设备维护、公共环境维护、公...
第 1 页 全套物业管理公司工作流程图 目 录 管理工作流程图 1.文件控制流程图 2.记录控制流程图 3.人员和培训管理流程图 4....
W ORD 格式 可编辑 专业知识 整理分享 物业管理全套工作流程图 一 物业服务中心流程图(2 0 个) 中心流程 住户入住控制...
- 1 - 物 业服务有限公司应急预案汇编 人身伤害处置应急预案 1 目的 - 2 - 规范各类突发人身伤害事件的处置工作,尽力控制事态...
- 1 - 人身伤害处置应急预案 1 目的 规范各类突发人身伤害事件的处置工作,尽力控制事态发展、影响。 2 适用范围 适用于各类人身...
工程部业务程序图 一、 日常维护保养程序 工作程序 工作步骤 1、查阅保养记录 (1) 掌握设备保养周期; (2) 掌握设备技术状况。 2...
一、 行政管理中心 流程图共计:1 6 个 办公用品领用工作流程图 档案资料管理流程图 档案资料借阅流程图 发文流程...
一 业主服务中心 流程图共计:2 0 个 中心流程 住户入住控制流程图 业主装修控制流程图 用户报修(保修)控制流程...
物业公司安保工作流程图 安保工作流程图 1 .安保管理流程图 2 .物业管理部工作流程图 3 .安保主管工作流程图 4 .班长日检查工...
物业保安工作流程图全集
工 程 技 术 部 管 理 流 程 图 工 程 部 统计员 项目组 工程部负责人 财务部 技术部 物资部 市场部 乙方工程队 户内...
×××××××煤炭有限责任公司 组织框架控制流程图 生产技术部 安全技术部 井 口 财 务 部 财 务 部 综 合 部 机修车间 ...

