·510·全国建筑环境与设备第3届技术交流大会文集其他电动压缩式冷水机组冷凝热的利用湖南化工医药设计院尹建新摘要常用的水冷式冷水机组冷...
电动大门控制电动大门控制电动大门控制电动大门控制控制要求:(1)警卫人员通过操作开门按钮、关门按钮和停止按钮控制大门。(2)当按下开...
检验项目序号检验内容与要求实测检验结果技术档案1(1)产品合格证;(2)安全临检报告书(3)安装验收资料(包括大车轨道基础)(4)安装...
电动自行车智能充电管理系统设计方案XXXXXXXXXX科技有限公司20xx年XX月XX日手机启动锻佶小程倬oooo充电设扫描充电I金额充值、故障反微信小...
动态平衡电动调节阀的作用————————————————————————————————作者:——————————————————...
电动双开平移门设计方案及说明一、概述电动平移大门按开启、运行方式可分为:单向直线运行式、双向直线运行式。电动平移大门按承重方式可分...
气动蝶阀技术规范1、基本性能型式:双偏心法兰式软密封蝶阀;公称压力:(bar):6/10/16/25/40;强度试验:(bar):1.5倍;密封试验:(b...
电动单梁起重机维修施工方案一、吊钩1、拆卸检查吊钩、轴、横梁、滑轮、轴承并清洗润滑2、检查危险断面磨损状况3、吊钩的试验4、板钩检修(...
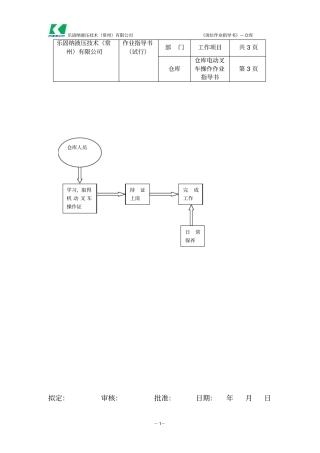
乐固纳液压技术(常州)有限公司《岗位作业指导书》—仓库乐固纳液压技术(常州)有限公司作业指导书(试行)部门工作项目共3页仓库仓库电...
新能源纯电动客车底盘各总成组装工艺规范及质量要求1范围本标准仅适用于各类新能源纯电动客车底盘组装制造工艺,在实际中请参照本工艺相关...
电动单梁桥式起重机检修规程1.总则本标准适用于克什克腾煤制气项目电动单梁桥式起重机的检修。2.电动单梁桥式起重机的基本构造电动单梁桥式...
南京航空航天大学机械设计课程设计任务书题目:电动绞车的传动装置姓名学号学院专业08机械工程及其自动化班级指导教师设计完成日期2010年12...
电动液压舵机的操作与管理一、电动液压舵机启动1.启动前的准备(1)检查油箱油位,保持在2/3左右;(2)检查各联轴节的连接紧固件是否松动,...
AI/MI系列检修规程上海自动化仪表有限公司自动化仪表十一厂65.1执行机构的操作65.1.1手动操作图1压下手动/自动手柄,使其处于手动位置。旋...
数控电动螺旋压力机一、螺旋压力机发展趋势模锻件在汽车、工程机械、铁路车辆、航空、国防等工业中应用广泛,随着轿车工业、国防工业的发展...
高空作业平台、电动叉车价格尽在邦势启www.posup.cn400-7283-599全电动铝合金高空作业平台六桅电控系统更省力全电动铝合金高空作业平台六桅...
[键入文字]全球知名电动助力转向系统供应商一览[键入文字][键入文字][键入文字][键入文字][键入文字][键入文字]来源:盖世汽车[键入文字]
仓库管理网址http://www.cangguan.cn/hbcms/article_html/type13/国内外电动叉车的结构特点及分析电动平衡叉车是以直流电源(电瓶)为动力...
合肥工业大学硕士学位论文交流技术在电动叉车驱动系统的应用姓名:栾英申请学位级别:硕士专业:车辆工程指导教师:陈无畏20090601表格清单表I-...
液压振动锤与电动锤之比较高频液压振动锤的六大特点在桩工机械中,许多桩工机械只具有单一的成桩作业性能,兼容性和应用领域有限,而高频液...

