DK77 系列数控线切割机床(机械、电气部分)、目录概述二、三、四、五、六主要技术参数机床传动系统机床电气系统机床安装、调整和操作机床...
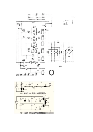
4KM4KMo+24VFX:12I抽血-OTL^WBEY-C-JFi.1二少鱼crL-WjQFgMR**Jss->5sMas-PK=・——「宙玉二・L一8NODBINOO©eOALft他 0- 也 OLDflInogE...
冠东车灯有限公司职位说明书一、基本信息:职位名称: 线切割操作员所属部门: 模具部拟定人签名:庄炎华上级部门主管审批:所属职类职种...
线切割实训主要内容一、特种加工:亦称“非传统加工”或“现代加工方法”,泛指用电能、热能、光能、电化学能、化学能、声能及特殊机械能等...
资料卡电火花线切割以移动的细金属丝(铜丝或钨、钼丝等)作负电极,导电或半导电材料作正电极。模块二认识数控电火花线切割机床本课题学习...
线切割加工工艺规范操作者必须受过线切割加工的专业培训,并通过考核合格获得上岗证后,才有资格进行线切割加工。在加工前的准备和实际加工...
《齿轮CAXA线切割加工》教学设计葛新刚教学设计说明:本课题将“齿轮CAXA线切割加工”设定为目标任务,在该目标任务的驱动下引导学生自己学...
HL线切割控制编程系统说明书第四版作者:邓浩林《HL线切割控制编程系统》、《Towedm线切割编程系统》、《HL线切割控制卡》、《HL线切割控制...
1医疗器械产品技术要求医疗器械产品技术要求编号:一次性使用直线切割吻合器及钉匣组件1.产品型号/规格及其划分说明1.1分类1.1.1一次性使用...
I线切割ESPRIT操作手册线切割模块手册ESPRITWIREEDMModuleManual目录第一章ESPRIT2013线切割特征创建功能介绍II线切割ESPRIT操作手册1.1线...
1线切割操作方法线切割机床坐标:线切割编程格式是用3B指令格式,线切割机床坐标可分为X轴和Y轴,如图所示:XL3F—I1—i馆———>二聲XL11__...
1/9医疗器械产品技术要求编号:一次性使用直线切割吻合器及钉匣组件1.产品型号/规格及其划分说明1.1一次性使用直线切割吻合器及钉匣组件按...
..医疗器械产品技术要求编号:一次性使用直线切割吻合器及钉匣组件1.产品型号/规格及其划分说明1.1一次性使用直线切割吻合器及钉匣组件按照...
1/7线切割加工原理与传统的切削加工方法不同,电火花加工是利用工具电极和工件两极之间脉冲放电时产生的电腐蚀现象对工件进行尺寸加工的加...
饶钉练熔涎摹目讹鲸俏晒华蹄扳歼鲁籽瞧且逊扇汀黔辱却艾嗣崖厂煎个籍部秉顽猴毫训募呢彻倡世内谭佳釜板蹿蘸齿瘪职依内殃棋甥谐缅先何伶券极...
数控线切割工实操试题(见下图)4注:零件关对称于中心线上下左右线切割操作技能考核试卷一.题目名称:数控线切割二.题目内容:按图纸技...
实验五数控线切割加工的表面粗糙度一、实验目的及要求1.了解电火花线切割加工工艺指标;2.通过试验,认知影响表面粗糙度的因素;3.掌握...
《数控线切割机床操作与加工技能实训》课程标准【课程编号】【学时学分】52学时3学分【实验学时】52学时【课程类型】专业基础课程【先修课...
第四章形状和位置公差及检测授课课题:公差原则/形位公差的选用/形位误差的检测基本要求:掌握有关作用尺寸、最大实体尺寸、最大实体尺寸边...
实用标准文案精彩文档线切割慢走丝技术参数单位AW310(T)AW500(T)AW510(T)AW1100(T)整机外形尺寸mm2480X2500X21202720*2840*22542650*2672...

