手把手用CorelDRAW 教你画地质剖面图 看到学弟学妹们CorelDRAW 画剖面图一张如此费时,特出教程一例,教你如何20min 搞定一张剖面(不...
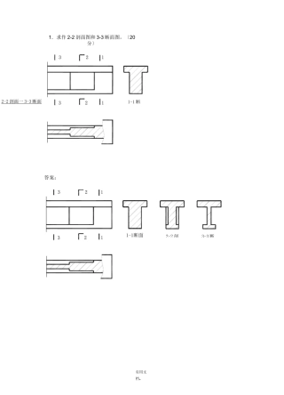
实用文档.2-2 剖面一 3-3 断面 1.求作 2-2 剖面图和 3-3 断面图。〔20分〕答案:1-1 断2-2 剖3-3 断12-2 断 ^ 剖面 实用文...
剖面图和断面图的区别1. 断面图又称截面图,它是形体被剖切后仅画出断面的正投影图。2. 断面图与剖视图的区别在于:断面图只画出剖切平面...
建筑立面图/平面图、立面图、剖面图和建筑详图的形成以及图示方法 要将一幢房屋的全貌包括内外形状结构完整表达清楚,根据正投影原理,按...
建筑平立剖面图画法
《建筑 CAD》课程教案 (2014~2015 学年 第 二 学期) 学 院 建筑工程与管理 专 业 工程造价 年 级 造价 2013 级 任课教...
如何利用ex cel 绘制土壤含水率的纵剖面图 1) 首先将土壤含水率的数据输入ex cell 中,如下图所示。 2) 选择插入图表,并选择散点...
如 何 绘 制 信 手 地 质 剖 面 图 ? 一 、基本要求 进行路线地 质 观察或者实测地 质 剖 面 时,应绘 制 信 手 ...
国家大剧院平面剖面图 剖面图透视图 音乐厅平面
剖面图和断面图的区别 1.断面图又称截面图,它是形体被剖切后仅画出断面的正投影图。 2.断面图与剖视图的区别在于:断面图只画出剖切平面...
2025年平面图立面图剖面图
《建筑 CAD》课程教案2014~2015 学年第二学期)学院建筑工程与管理专业工程造价年级造价 2013 级 任课教师汪晨武1《建筑 CAD》课程教...
美国地质调查局对“评审地质图与剖面图”的建议 评审地质图与剖面图很像做它们:评审者和作者关注的同样的事。第一个关注是地质图与剖面图...
地 质 剖 面 图 的 基 本 概 念 及 制 作 方 法 一 . 目 的 1. 了 解 地 质 剖 面 图 的 基 本 概 念 ...
1 地形剖面图专题练习 一、选择题 读 沿 某 纬 度 所 作 的 海 陆 剖 面 示 意 图 6, 当 北 半 球 夏 到 日 ,...
剖面图和断面图及画法教案教案首页课题7.4 剖面图和断面图的画法2 课时教学目标通过剖视图的学习,让学生学会画和看懂内部结构复杂的物体...
(( 千米)千米)600060005000500040004000300030002000200010001000000010001000200020003000300040004000500050006000600070007000(米)...
第十章第十章剖面图与断面图剖面图与断面图第0节视图第一节剖面图第二节断面图第三节材料图例及其画法规定第二章房屋建筑制图的基本表示方...
园林景观立(剖)面图的绘制教学目标:•对立面、剖面图的各种表现技法、规律有一定的了解和认识,会熟练运用绘图工具绘制景观立面、剖面图...
地质剖面图的判读地质剖面图是对某一地质构造所作的垂直剖面图,包括:图1地质地貌示意图图2地貌景观和地质剖面图图3褶皱和断层构造示意图...

