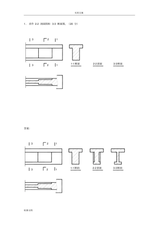
实用文案标准文档1.求作2-2剖面图和3-3断面图。(20分)3123213-3断面2-2剖面1-1断面答案:3123213-3断面2-2剖面1-1断面实用文案标准文档2...
剖面图、断面图_画图题
第五章建筑剖面图与断面图5.1建筑剖面图5.2建筑断面图5.1.1剖面图的形成假想剖切面剖面图1、为了清晰地表达物体的内部结构;2、假想用...
第7章剖面图与断面图7.2断面图7.2断面图7.1剖面图7.1剖面图7.3简化画法7.3简化画法六面投影图(基本视图)用正投影法绘制出的形体图形称为...
剖面图和断面图§2-1剖面图§2-2断面图概述建筑形体的结构形状是多种多样的,为了能够更正确、完整、清晰地将不同图样表达出来,就需要采用...
新编系列新编系列建筑立面图的形成建筑立面图建筑立面图形成将房屋向与其立面平行的投影面投影即得到立面图。立面图主要反映房屋的外貌和立...
1.求作2-2剖面图和3-3断面图。(20分)3123213-3断面2-2剖面1-1断面答案:3123213-3断面2-2剖面1-1断面2.求作2-2断面图和3-3剖面图。(20...
剖面图的形成和图示方法剖面图的分类断面图的形成和图示方法断面图与剖面图的区别与联系根据《房屋建筑制图统一标准》规定,在绘制...
读褶皱区地质图并绘地质剖面图构造地质学实习二目的要求:1、掌握阅读褶皱岩层地形地质图的步骤和方法。2、学会从地质图上分析褶皱构造要素...
(优选)建筑立面图及剖面图第1页,共34页。21.建筑立面图的形成立面图是房屋各个方向的外墙面及按投影方向可见的构配件的正投影图一、建筑...
剖面图与断面图学习目标要求1.了解剖面图和断面图的形成原理;2.掌握剖面图和断面图的种类和画法;3.掌握剖面图和断面图的图示...
建筑施工图建筑平面立面剖面图
建筑施工立面、剖面图立面图、剖面图建筑详图(外墙剖面详图、楼梯详图、门窗节点详图等)建筑施工图的绘制本章主要内容本章内容建筑立...
建筑剖面图建筑详图演示文稿第1页,共45页。4.6建筑剖面图第2页,共45页。教学目标1、理解剖面图的形成、表达内容2、掌握剖面图识图步...
24/10/19天天课堂——AutoCAD2010中文版建筑制图基础教程1AutoCAD2010AutoCAD2010中文版建筑制图基中文版建筑制图基础教程础教程天天课堂天...
9建筑施工图-剖面图一、剖面图的形成与作用二、剖面图的图示内容及识读顺序三、剖面图的绘图方法和步骤四、剖面图应用举例建筑剖面图的形成...
国家大剧院平面剖面图剖面图透视图音乐厅平面
地形剖面图专题练习一、选择题读沿某纬度所作的海陆剖面示意图6,当北半球夏到日,甲地的正午太阳高度角为43°08′,判断1~2题。1.该图属A...
地质剖面图的基本概念及制作方法一.目的1.了解地质剖面图的基本概念,学会编制地质剖面图。2.掌握不整合在剖面图及平面图上的表现特点。...

