目录目录..................................................................................................- 2 -第一章首件工程的...
建设工程劳务分包合同(编号::xxx)甲方:xxx 郑州市 xxx 路快速化工程 xxx 乙方: 依照《中华人民共和国合同法》、《中华人民共和...
( 五 ) 、 系 梁 、 盖 梁 、 墩 柱 施 工 方 法1 、系 梁 施 工 本标段共有两种不同尺寸的系梁82条 , 其 中 1...
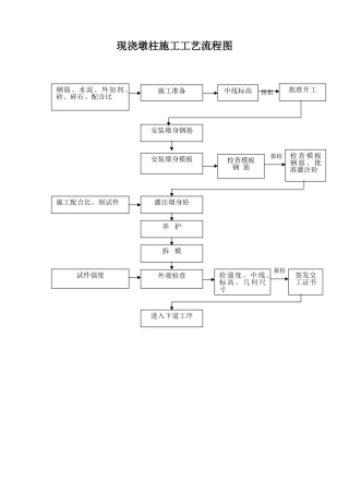
现浇墩柱施工工艺流程图 报检报检报批钢筋、水泥、外加剂、砂、碎石、配合比施工准备中线标高批准开工安装墩身钢筋安装墩身模板检 查 模...
目 录第一章 编制说明................................................................11.1、编制依据.................................
墩柱施工监理控制过程(墩柱钢筋加工与安装)墩柱钢筋分为墩身钢筋和墩帽钢筋两部分:墩身钢筋的 N1 筋在施工承台时进行预埋,承台施工完...
A30 高速公路(界河~外环线)五标段墩柱工程施工组织设计二○○五年四月十八日上 海 A30 高 速 公路(浦东段)第五标段中 建 七局项...
乐昌至广州高速公路 XX 至 XX 段 桥梁墩柱、系梁及盖梁施工方案编 制: 审 核: 审 批: 目 录一、编制依据.....................
分项工程施工安全技术交底单(三级)单位工程xxx 特大桥交底时间2025、3、8分项工程墩柱系梁工程工程部位墩柱、系梁接受班组下构一队工程数...
天津生态城中部片区经六路上跨蓟运河故道桥梁工程墩台专项施工方案编制: 审核: 审批: 中铁十八局集团第五工程有限公司二零一二年二月...
承台墩柱施工作业指导书承台施工作业指导书 一、承台施工 1、基坑开挖 桩基施工完成并达到一定龄期后,由挖掘机进行基坑开挖,待挖掘机...
墩柱盖梁支模架专项施工方案一、工程概况本工程余杭塘路 02 标地面桥梁丰潭河桥西起K 2+856、874,东至 K2+9 0 3、127,全长4 6、2...
墩柱钢筋保护层合格率偏低原因分析及预控措施我部近期施工得桥梁墩柱,经过钢筋保护层检测仪检测后,发现保护层合格率偏低。为了保证铜合高...
A30 高速公路(界河~外环线)五标段墩柱工程施工组织设计二○○五年四月十八日上 海 A30 高 速 公路(浦东段)第五标段中 建 七局项...
河都高速公路N o、3 合同段(K5 2+000、13 4~K71+3 15)墩柱、系梁、盖梁、承台专项施工方案编制: 侯兆隆、张瑞平_ _ 审核: ...
墩 柱 技 术 交 底 书 单位名称:中建筑港集团有限公司 编号:单位工程沌口互通匝道桥工程里程(桩号)分部分项工程墩柱交底日期说...
桩接柱、墩柱施工方案2025 年 7 月 11 日1一、工程概况K74+348 中桥共有桥台桩接柱 8 个,桥墩墩柱 8 个。桩接柱直径为 1.4m,...
2)承(桥))台施工:桥梁墩枉盖梁脚手架安全施工方案一、安全文明施工1、墩柱及盖梁施工的脚手架搭设方案需经过监理工程师的批准,安装脚手架...
梁 墩 柱 模 板 专 项 施 工 方 案1、编制依据《钢结构设计法律规范》GB517-23《钢结构设计手册(上册)(第三版)》2、工程概况...
桥梁墩柱模板施工方案及方法1、模板试拼墩身施工前,对墩身模板进行第二次试拼,检查是否符合设计要求,不符合设计要求以及质量标准的,且...

