电脑桌面
添加小米粒文库到电脑桌面
安装后可以在桌面快捷访问

旺景家园施工安全管理制度VIP免费

旺景家园施工安全管理制度_第1页
1/7
旺景家园施工安全管理制度_第2页
2/7
旺景家园施工安全管理制度_第3页
3/7
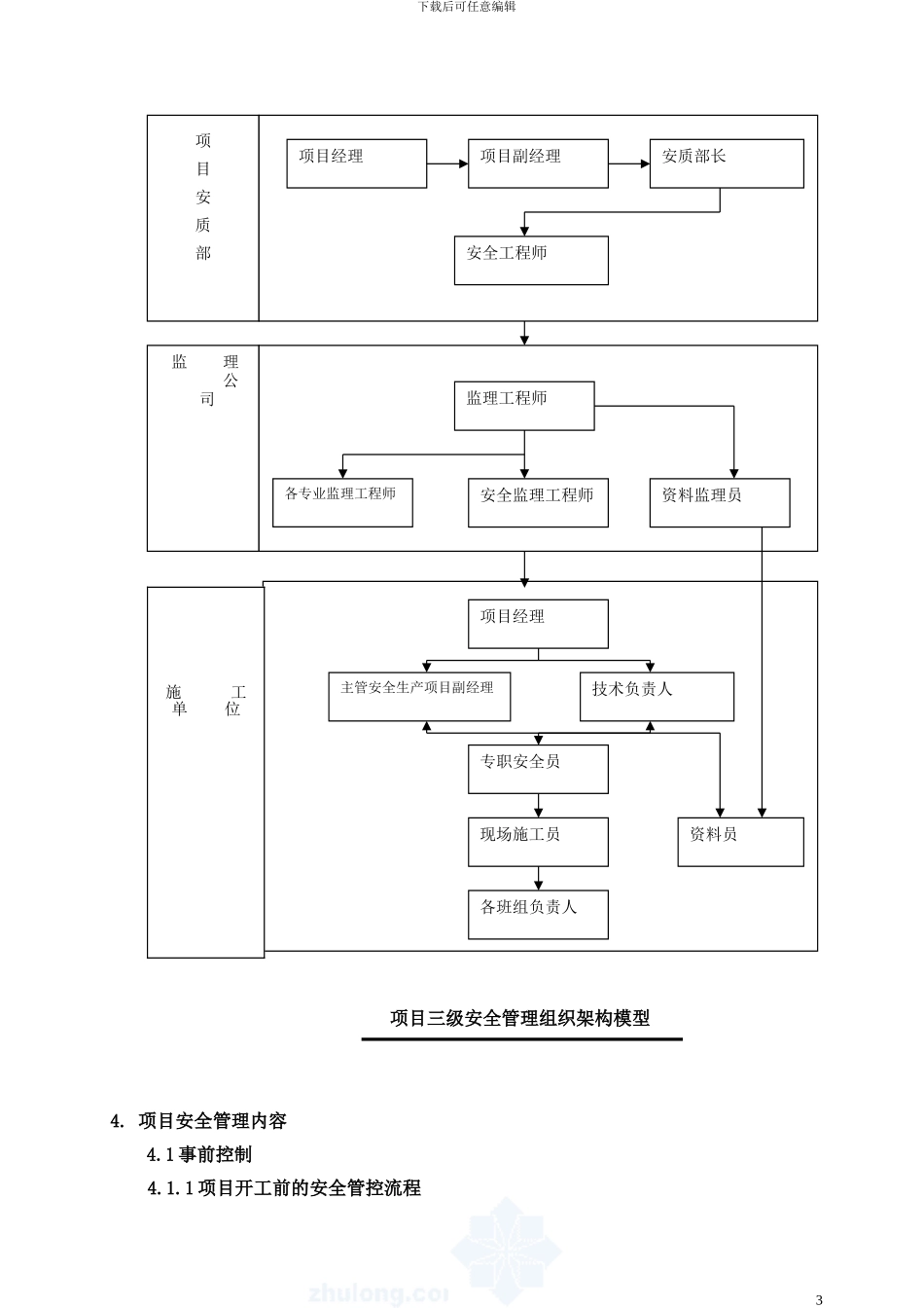
下载后可任意编辑旺景家园施工安全管理制度目录1. 目的...................................................................22.安全管理目标...........................................................23. 安全管理的架构体系.....................................................23.1 公司内部安全管理体系...................................................23.2 项目安全管理组织架构...................................................24.项目安全管理内容.......................................................34.1 事前控制...............................................................34.1.1 项目开工前的安全管控流程............................................34.1.2 项目开工前的安全管控................................................44.2 事中控制...............................................................44.2.1安全巡检............................................................44.2.2安全联合检查........................................................54.2.3安全月度例会........................................................54.2.4公司安全检查........................................................64.2.5安全专项方案报审....................................................64.3 事后控制...............................................................65.施工现场的安全管理标准.................................................66.相关附件...............................................................61下载后可任意编辑1. 目的为加强旺景家园建设项目现场安全施工管理,促进现场安全管理标准化、法律规范化和制度化,改善项目现场环境,从而切实保障施工现场人身安全,特制定此制度。2. 安全管理目标保证旺景家园工程项目安全施工,提高安全管理预控能力,减少或杜绝重大人员伤亡及工程安全事故的发生,有效降低工伤意外率。3. 安全管理的架构体系3.1 公司内部安全管理体系公司建立由公司安全生产领导小组、安全质量部以及项目安质部构成的安全管理三级组织体系。安全生产领导小组由公司工程分管领导总负责,负责公司安全制度与实施标准的审批、监督、协调与保障,同时也负责各项目安全应急事故的指挥与决策。公司安全质量部是安全管理工作...

1、当您付费下载文档后,您只拥有了使用权限,并不意味着购买了版权,文档只能用于自身使用,不得用于其他商业用途(如 [转卖]进行直接盈利或[编辑后售卖]进行间接盈利)。
2、本站所有内容均由合作方或网友上传,本站不对文档的完整性、权威性及其观点立场正确性做任何保证或承诺!文档内容仅供研究参考,付费前请自行鉴别。
3、如文档内容存在违规,或者侵犯商业秘密、侵犯著作权等,请点击“违规举报”。

碎片内容

旺景家园施工安全管理制度

确认删除?
VIP
微信客服
  • 扫码咨询
会员Q群
  • 会员专属群点击这里加入QQ群
客服邮箱
回到顶部