电脑桌面
添加小米粒文库到电脑桌面
安装后可以在桌面快捷访问

LM358应用电路图VIP免费

LM358应用电路图_第1页
1/9
LM358应用电路图_第2页
2/9
LM358应用电路图_第3页
3/9
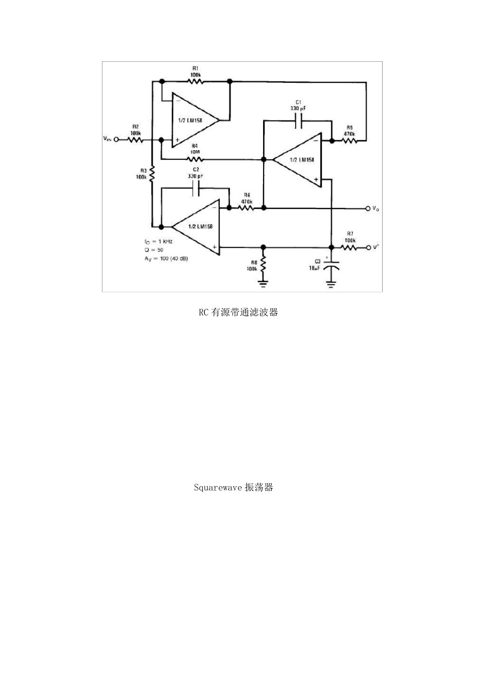
LM 358 应用电路图: LM358 的特性(Features): . 内部频率补偿 . 低输入偏流 . 低输入失调电压和失调电流 . 共模输入电压范围宽,包括接地 . 差模输入电压范围宽,等于电源电压范围 . 直流电压增益高(约100dB) . 单位增益频带宽(约1MHz) . 电源电压范围宽:单电源(3—30V); . 双电源(±1.5 一±15V) . 低功耗电流,适合于电池供电 . 输出电压摆幅大(0 至 Vcc-1.5V) 参数 输入偏置电流45 nA 输入失调电流50 nA 输入失调电压2.9mV 输入共模电压最大值 VCC~1.5 V 共模抑制比 80dB 电源抑制比 100dB LM 358 应用电路图: 直流耦合低通 RC 有源滤波器 LED 驱动器 TTL 驱动电路 RC 有源带通滤波器 Squarewave 振荡器 滞后比较器 带通有源滤波器 灯驱动程序 电流监视器 低漂移峰值检测器 电压跟随器 功率放大器外围电路 电压控制振荡器VCO 固定电流源 脉冲发生器 交流耦合反相放大器 交流耦合非反相放大器 可调增益仪表放大器 直流放大器 脉冲发生器 桥式电流放大器 引用差分输入信号 直流差动放大器

1、当您付费下载文档后,您只拥有了使用权限,并不意味着购买了版权,文档只能用于自身使用,不得用于其他商业用途(如 [转卖]进行直接盈利或[编辑后售卖]进行间接盈利)。
2、本站所有内容均由合作方或网友上传,本站不对文档的完整性、权威性及其观点立场正确性做任何保证或承诺!文档内容仅供研究参考,付费前请自行鉴别。
3、如文档内容存在违规,或者侵犯商业秘密、侵犯著作权等,请点击“违规举报”。

碎片内容

LM358应用电路图

您可能关注的文档

小辰4+ 关注
实名认证
内容提供者

出售各种资料和文档

确认删除?
VIP
微信客服
  • 扫码咨询
会员Q群
  • 会员专属群点击这里加入QQ群
客服邮箱
回到顶部