电脑桌面
添加小米粒文库到电脑桌面
安装后可以在桌面快捷访问

最小拍控制系统

最小拍控制系统_第1页
1/7
最小拍控制系统_第2页
2/7
最小拍控制系统_第3页
3/7
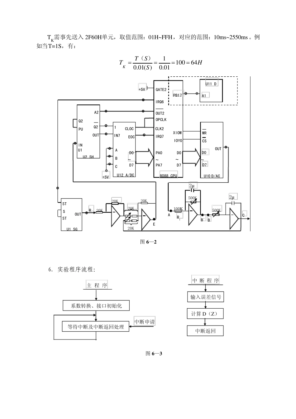
实验六 最小拍控制系统 一、实验目的 1.掌握最少拍有纹波系统和最少拍无纹波系统的计算机控制脉冲传函数D(Z)的设计方法。 2.了解最少拍设计的饱和非线性条件及改进设计。 二、实验仪器与设备 1.TDN—ACS 实验教学系统一台 2.PC 微机一台 3.电阻电容若干 三、实验原理 (一)最小拍有纹波系统 1.原理 见图 6—1。R 为输入,C 为输出,计算机对误差 E 定时采样按 D(Z)计算输出控 制量 U。图中 K=5。 Se TS−−1)1(+SSKC R -+)(ZD 图 6 —1 针对阶跃输入进行计算机控制算法D(Z)设计。 2.D(Z)算法 采样周期 T=1S,(Z)为计算机输入,U(Z)为输出,有: 33221133221101)()()(−−−−−−++++++==ZPZPZPZKZKZKKZEZUZD 式中 Ki与 Pi取值范围:–0.9999~ +0.9999,计算机分别用相邻三个字节存储其 BCD 码。最低字节存符号,00H 为正,01H 为负。中间字节存前 2 位小数,最高字节存末 2位小数。例有系数0.1234,则内存为: 地址 内容 2F00H 00H 2F01H 12H 2F02H 34H 程序运行时转换为二进制模 2 定点小数。注意,D(Z)中缺项相当于系数为零, 应在相应内存三字节全存入 00H。 系数存储安排如表 6—1 表 6 — 1 2F00H 2F0CH 2F01H 2F0DH 2F02H 2F0EH K0P12F03H 2F0FH 2F04H 2F10H 2F05H 2F11H K1P22F06H 2F12H 2F07H 2F13H 2F08H 2F14H K2P3 2F09H 2F0AH 2F0BH K3将 D( Z) 式 写 成 差 分 方 程 , 则 有 : 3322113322110−−−−−−−−−+++=KKKKKEKKUPUPUPEKEKEKEKU 式 中 EK ~ EK-3, 误 差 输 入 ; U K ~ U K-3 , 计 算 机 输 出 。 计 算 机 运 算 还 设 有 溢 出 处 理 , 当 计 算 机 控 制 输 出 超 过 00H~ FFH 时 ( 对 应 于 模 拟 量-5V~ +5V),则 计 算 机 输 出 相 应 的 极 值 00H 或 FFH,同 时 在 相 应 的 内 存 单 元 也 存 入 极 值 。 每 次 计 算 完 控 制 量 , 计 算 机 立 即 输 出 , 并 且 将 各 次 采 入 的 误 差 与 各 次 计 算 输 出 作 延时 运 算 , 最 后 再 作 一 部 分 下 次 的 输 出 控 制 量 计 算 。 这 样 当 采 入 下 次 误 差 信 号 时 , 可 减 少运 算 次 数 , 从 而 缩 短 计 算 机 的 ...

1、当您付费下载文档后,您只拥有了使用权限,并不意味着购买了版权,文档只能用于自身使用,不得用于其他商业用途(如 [转卖]进行直接盈利或[编辑后售卖]进行间接盈利)。
2、本站所有内容均由合作方或网友上传,本站不对文档的完整性、权威性及其观点立场正确性做任何保证或承诺!文档内容仅供研究参考,付费前请自行鉴别。
3、如文档内容存在违规,或者侵犯商业秘密、侵犯著作权等,请点击“违规举报”。

碎片内容

最小拍控制系统

您可能关注的文档

小辰7+ 关注
实名认证
内容提供者

出售各种资料和文档

确认删除?
VIP
微信客服
  • 扫码咨询
会员Q群
  • 会员专属群点击这里加入QQ群
客服邮箱
回到顶部