电脑桌面
添加小米粒文库到电脑桌面
安装后可以在桌面快捷访问

光缆施工接续方法

光缆施工接续方法_第1页
1/11
光缆施工接续方法_第2页
2/11
光缆施工接续方法_第3页
3/11
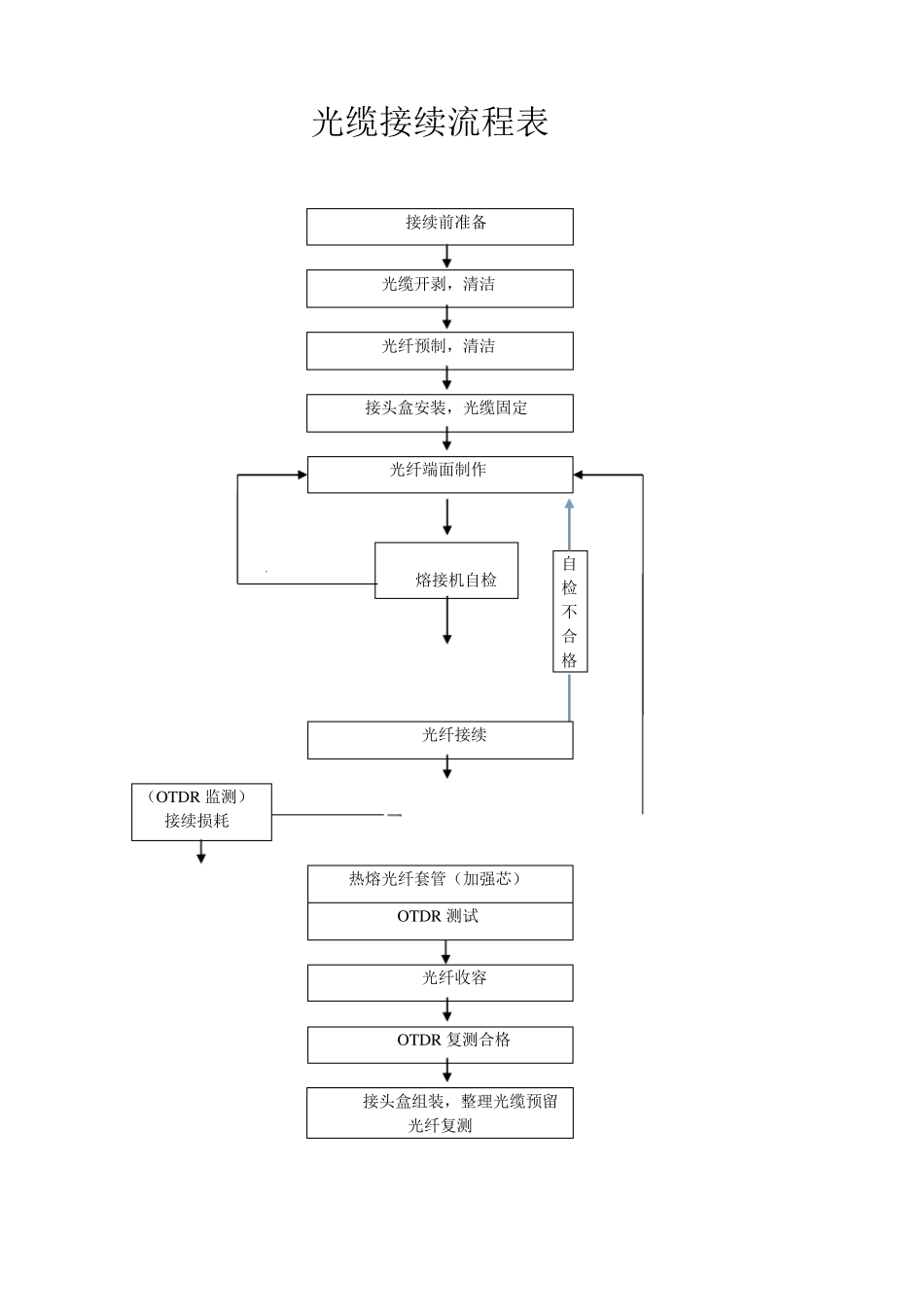
光缆接续流程表 接续前准备 光缆开剥,清洁 光纤预制,清洁 接头盒安装,光缆固定 光纤端面制作 光纤接续 热熔光纤套管(加强芯) OTDR 测试 光纤收容 OTDR 复测合格 接头盒组装,整理光缆预留 光纤复测 熔接机自检 自检不合格 (OTDR 监测) 接续损耗 光缆施工接续技术规范 光缆接续是光缆线路施工和维护中工程量大、技术要求高的一道重要工序。光缆接续质量的好坏直接影响通信线路的传输使用质量和相关设备的可靠性。 光缆接续是一项专业技术、工艺、环境要求相对高的工作,接续时操作人员要严格操作规范,周密细致,才能有效降低接续损耗。光缆接续的步骤一般可分为:光缆的开剥、固定、光纤接续、接续损耗的监测和不合格纤的处理、余纤的收容、光缆接头的封盒。 1;接续前的准备工作; 接续前先检查接续所需要的工具材料是否齐全;在接头坑(井)附近整理出一块能供接续时所用的场地。把所需要接续的 A,B 两条光缆预放到位。并且同时检查光缆是否在敷设时有所损伤。 2;光缆的开剥 光缆开剥前,首先用断线钳剪除两端光缆头 0.5-1.5 米,预防光缆端头在敷设时弯曲半径过大造成的纤芯损伤。然后清洁光缆外皮大约 2 米,用光缆环切 刀 开剥光缆外护套 ,一般光缆开剥长 度 1.2 米~1.5 米,开剥时一定要把握 好环切 刀 片 进 刀 深 度 ,防止 损伤光纤松 套管 。拔 除光缆外护套 拽 缆时,光缆的转 弯半径应 大于 光缆直径的 20倍 。开剥后的光缆口 应 平 齐、无 毛 刺 ,束 管 纤芯无 损伤。整理束 管 时,从 开剥处剪断纱 线及 填 充 芯,加 强 芯留 长 约40 ㎜ 剪断(实 际 长 度 视接续盒而定),用卫生纸或脱脂棉擦洗干净光纤松套管上的油膏后区分松套管管序,粘贴标签。 光缆的端别和松套管管序的确定,正对光缆端面,按填充芯颜色以红色松套管或领示填充芯开始,按照顺时针方向确定松套管管序为1、2、3……管,以绿色填充芯结束,此端光缆为A 端,以红色填充芯开始逆时针方向确定松套管管序为1、2、3……管,以绿色填充芯结束,此端光缆为B 端。(以上管序分法简称红头绿尾)松套管内光纤的纤序顺序以色谱(以12 纤为例)兰、橙、绿、棕、灰、白、红、黑、黄、紫,粉红、天蓝顺序排列。 3;光缆固定 光缆固定包括加强芯和光缆的固定。为防止光纤松套管受损,已开剥的光缆口用绝缘胶带缠绕几圈,然后将加强芯和光缆固定在接头盒钢质或塑料支架...

1、当您付费下载文档后,您只拥有了使用权限,并不意味着购买了版权,文档只能用于自身使用,不得用于其他商业用途(如 [转卖]进行直接盈利或[编辑后售卖]进行间接盈利)。
2、本站所有内容均由合作方或网友上传,本站不对文档的完整性、权威性及其观点立场正确性做任何保证或承诺!文档内容仅供研究参考,付费前请自行鉴别。
3、如文档内容存在违规,或者侵犯商业秘密、侵犯著作权等,请点击“违规举报”。

碎片内容

光缆施工接续方法

小辰9+ 关注
实名认证
内容提供者

出售各种资料和文档

相关文档

确认删除?
VIP
微信客服
  • 扫码咨询
会员Q群
  • 会员专属群点击这里加入QQ群
客服邮箱
回到顶部