电脑桌面
添加小米粒文库到电脑桌面
安装后可以在桌面快捷访问

游标卡尺螺旋测微器读数练习题VIP免费

游标卡尺螺旋测微器读数练习题_第1页
1/6
游标卡尺螺旋测微器读数练习题_第2页
2/6
游标卡尺螺旋测微器读数练习题_第3页
3/6
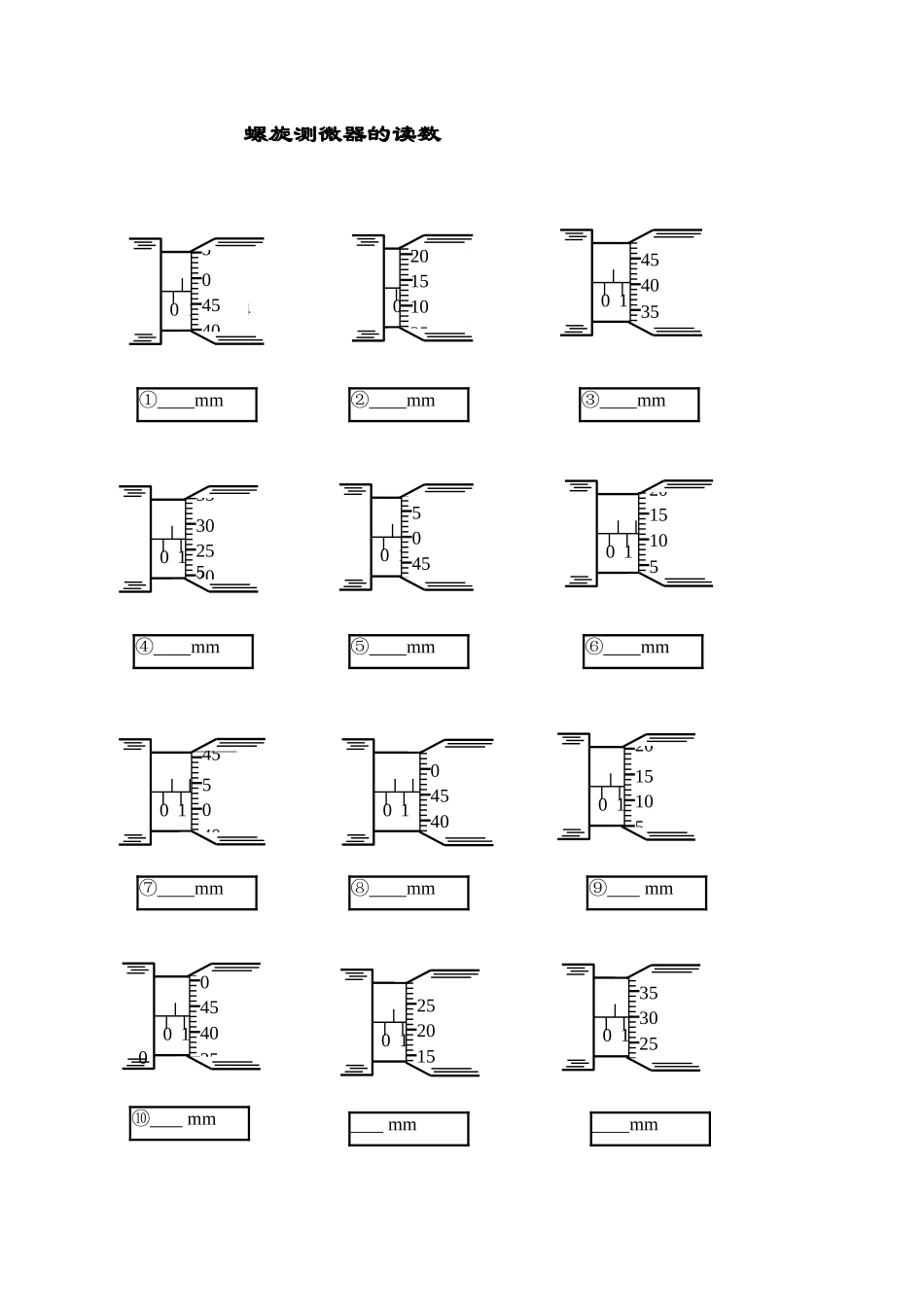
游标卡尺螺旋测微器读数练习题班级___姓名_____10分度(0.1mm)1读数:_____mm2读数:_____mm3读数:____mm4读数:_____mm5读数:_____mm6读数:_____mm7读数:_____mm8读数:_____mm9读数:_____mm10读数:_____mm34cm0101011cm01001cm010910cm01034cm010910cm010910cm0106cm010910cm910cm01001020分度(0.05mm)50分度(0.02mm)11读数:___mm1cm2cm3cm01020主尺游标尺12读数:___mm13读数:___mm345cm0102014读数:___mm15读数:___mm012344505403530螺旋测微器的读数012315205103530012344505403530012342553035200353001230554535300123152051053001230545403530012345054035300123101520535300123404505403530012342025301535300123430355253530①mm②mm③mm④mm⑤mm⑥mm⑦mm⑧mm⑨mm⑩mmmmmmmmmmmmmmmmmmmmmmmmmmmmmm1、2、3、4、5、6、7、8、9、10、11、12、图1图2电流表、电压表的读数U=I=读出下列电表的测量值.⑴⑵接0~3V量程时读数为_______V.接0~3A量程时读数为_______A.接0~15V量程时读数为______V.接0~0.6A量程时读数A.多用电表的读数1.下图为一正在测量中的多用电表表盘.(1)如果是用×10Ω挡测量电阻,则读数为________Ω.(2)如果是用直流10mA挡测量电流,则读数为______________mA.(3)如果是用直流5V挡测量电压,则读数为________V.2.某同学利用多用电表测二极管的反向电阻.完成下列步骤:(1)检查多用电表的机械零点.(2)将红、黑表笔分别插入正、负表笔插孔,将选择开关拨至电阻测量挡适当的量程处.(3)将红、黑表笔________,进行欧姆调零.(4)测反向电阻时,将________表笔接二极管正极,将_________表笔接二极管负极,读出电表示数.(5)为了得到准确的测量结果,应让电表指针尽量指向表盘________(填“左侧”、“右侧”或“中央”);否则,在可能的条件下,应重新选择量程,并重复步骤(3)、(4).(6)测量完成后,将选择开关拨向________位置.3.某同学利用多用电表测量一个未知电阻的阻值,由于第一次选择的欧姆挡不够合适,又改换另一欧姆挡测量,两次测量时电表指针所指的位置如图中的虚线所示,下面列出这两次测量中的有关操作:A.将两根表笔短接,并调零B.将两根表笔分别跟被测电阻的两端接触,观察指针的位置0123051015V00.20.40.60123AC.记下电阻值D.将多用电表面板上旋钮旋到R×100挡E.将多用电表面板上旋钮旋到R×10挡F.将多用电表面板上旋钮旋到OFF挡(1)根据上述有关操作将两次的合理实验步骤按顺序写出(利用上述操作项目前面的字母表示,且可以重复使用)________________________.(2)该电阻的阻值是________Ω.4.(1)用多用电表测直流电流时,应把选择开关旋至标有________处,并把多用电表________连接到被测电路中.若测电压时,应把选择开关旋至标有________处,并把多用电压与被测电路________联.测直流电压和电流时,都必须把红表笔接在______处,即电流从______表笔流进.(2)如图所示的Ⅰ、Ⅱ、Ⅲ三条线分别表示多用电表指针的指示位置.①将多用电表选择开关置于“×1”挡,Ⅰ的示数为______Ω,Ⅱ的示数为___Ω.②选择开关置于直流“50V”挡,Ⅰ的示数为____V,Ⅱ的示数为______V,Ⅲ的示数为____V.③选择开关置于直流“250V”挡时,Ⅰ的示数为______V,Ⅱ的示数为________V.5.(2011年泉州模拟)一位同学使用多用电表测电阻,它在实验中的主要步骤如下:①把选择开关拨到“×10”的欧姆挡上;②把表笔插入测试笔插孔中,先把两表笔相接触,旋转调零旋钮,使指针指在零处;③把两表笔分别与待测电阻的两端相接,发现这时指针偏转角度较小;④换用“×100”欧姆挡测量,发现这时指针偏转适中,随即记下电阻数值;⑤把表笔从测试笔插孔拔出后,把多用电表放回桌上原处,实验完毕.这个学生在测量时已注意到:待测电阻与其他元件的电源断开,不用手碰表笔的金属杆.这个学生在实验中还有哪些违反使用规则的地方?a._____________________;b._____________________.

1、当您付费下载文档后,您只拥有了使用权限,并不意味着购买了版权,文档只能用于自身使用,不得用于其他商业用途(如 [转卖]进行直接盈利或[编辑后售卖]进行间接盈利)。
2、本站所有内容均由合作方或网友上传,本站不对文档的完整性、权威性及其观点立场正确性做任何保证或承诺!文档内容仅供研究参考,付费前请自行鉴别。
3、如文档内容存在违规,或者侵犯商业秘密、侵犯著作权等,请点击“违规举报”。

碎片内容

游标卡尺螺旋测微器读数练习题

您可能关注的文档

确认删除?
VIP
微信客服
  • 扫码咨询
会员Q群
  • 会员专属群点击这里加入QQ群
客服邮箱
回到顶部