电脑桌面
添加小米粒文库到电脑桌面
安装后可以在桌面快捷访问

松下NVM9000摄像机说明书

松下NVM9000摄像机说明书_第1页
1/48
松下NVM9000摄像机说明书_第2页
2/48
松下NVM9000摄像机说明书_第3页
3/48
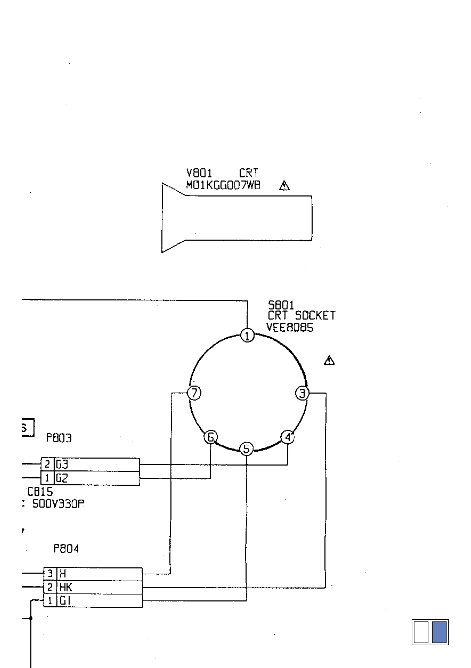
SPECIFICATIONS/ТЕХНИЧЕСКИЕ ХАРАКТЕРИСТИКИCOMPARISON CHART/СРАВНИТЕЛЬНАЯ ТАБЛИЦАEVF schematic diagram/принципиальная схема видоискателяCCD drive schematic diagram/принципиальная схема управления ПЗС матрицыProcess & camera operation schematic diagram/принципиальная схема обработки видеосигнала иблока выбора режимов работыAuto focus schematic diagram/принципиальная схема блока автоматической фокусировкиPower schematic diagram/принципиальная схема блока питанияSystem control & servo schematic diagram/принципиальная схема системы управления исервоприводаSub servo schematic diagram/принципиальная схема сервоприводаLuminance/chrominance & head AMP schematic diagram/принципиальная схема обработкивидеосигнала и усилителя видеоголовокVITC schematic diagram/принципиальная схема ПВКHIFI Audio schematic diagram/принципиальная схема аудиоусилителяAV jack (A) schematic diagram/принципиальная схема аудио/видео разъема (A)AV jack (B) schematic diagram/принципиальная схема аудио/видео разъема (B)VTR operation schematic diagram/принципиальная схема блока управления видеомагнитофономMIC schematic diagram/принципиальная схема микрофонаCircuit board layout/размещение платInterconnection schematic diagram/схема соединенийEXPLODED VIEWS & PARTS LISTS/СБОРОЧНЫЕ ЧЕРТЕЖИ И СПИСКИ ЗАПАСНЫХ ЧАСТЕЙVTR mechanism section (1)/механизм видеомагнитофона (секция 1)VTR mechanism section (2)/механизм видеомагнитофона (секция 2)Camera lens section/модуль оптикиFrame & casing parts section (1)/корпус и шасси (секция 1)Frame & casing parts section (2)/корпус и шасси (секция 2)EVF section/видоискательPacking parts & accessories section (NVMS4E3/A3, NVM9000EN3, NVM9900MC3)/упаковочныематериалы и принадлежности (NVMS4E3/A3, NVM9000EN3, NVM9900MC3)Packing parts & accessories section (NVMS4B3)/ упаковочные материалы и принадлежности (NVMS4B3)Mechanical replacement parts list/список механических запасных частейElectrical replacement parts list/список электрических запасных частей

1、当您付费下载文档后,您只拥有了使用权限,并不意味着购买了版权,文档只能用于自身使用,不得用于其他商业用途(如 [转卖]进行直接盈利或[编辑后售卖]进行间接盈利)。
2、本站所有内容均由合作方或网友上传,本站不对文档的完整性、权威性及其观点立场正确性做任何保证或承诺!文档内容仅供研究参考,付费前请自行鉴别。
3、如文档内容存在违规,或者侵犯商业秘密、侵犯著作权等,请点击“违规举报”。

碎片内容

松下NVM9000摄像机说明书

您可能关注的文档

确认删除?
VIP
微信客服
  • 扫码咨询
会员Q群
  • 会员专属群点击这里加入QQ群
客服邮箱
回到顶部