电脑桌面
添加小米粒文库到电脑桌面
安装后可以在桌面快捷访问

栈板测试要求VIP专享

栈板测试要求_第1页
1/7
栈板测试要求_第2页
2/7
栈板测试要求_第3页
3/7
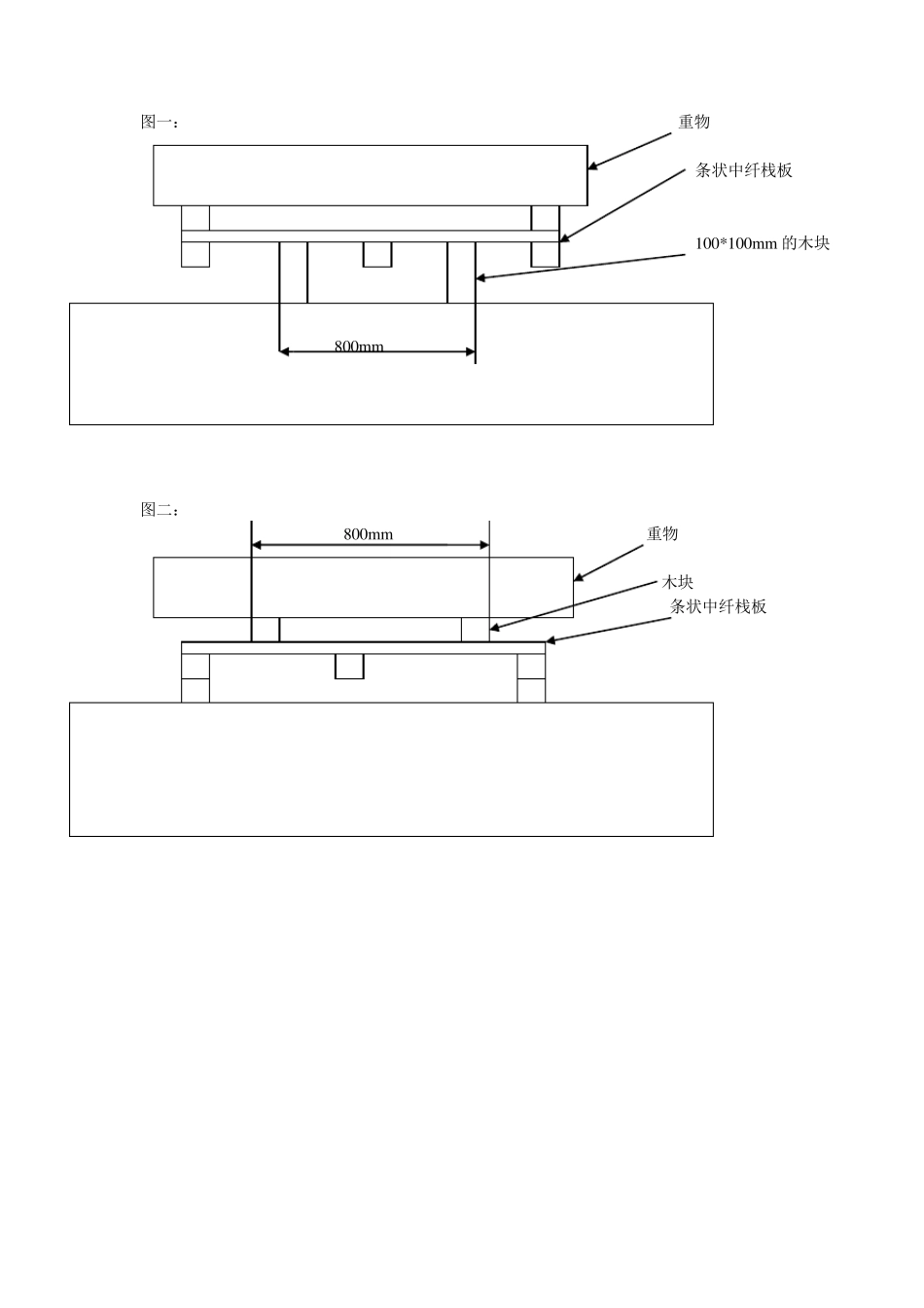
栈板测试要求 一、测试的环境条件: 1、 空气:20-32℃ 2、 相对湿度:90±5% 3、 时间 48 小时 4、 托盘材料:中纤板、刨花墩 二、具体实施: 内容或项目 试验条件和方法 试验结果 结论 强度测试 承载 2000KG,试验时间48 小时 卸载后,栈板外观良好,没有掉脚和折断的现象 静载可达 2000KG 挠度测试 用来做测试的条形木材为100*100mm , 长 度1500mm,测试栈板以长边为测试基准面。 挠度测试1 如图 1 栈板在 700KG时保持良好 抗挠度大于 700KG 挠度测试2 如图 2 栈板在 700KG时保持良好 抗挠度大于 700KG 动态测试 承载 1200KG, 1、用叉车模拟运输条件,进叉方向:2 个方向。 2、用叉车拉载 1200KG 的重物在地面上运行 120 分钟。 卸载后,栈板外观良好,没有掉脚和折断的现象 1、 可以在 2 个方向进叉 2、 动载 1200KG 没有问题 3、 可以进行多次装卸 存储模拟测试 每个栈板承重 600KG 的重物,然后两个堆叠 24小时 卸载后,栈板外观良好,没有掉脚和折断的现象 可以两层堆叠存储 SONY 方法测试 如图 1、图 2 所示方法,承重 600KG 卸载后,栈板外观良好,没有掉脚和折断的现象 该栈板挠度好 图一: 重物 条状中纤栈板 100*100m m 的木块 图二: 800m m 重物 木块 条状中纤栈板 800m m 栈板的图片 栈板的图片 栈板测试前的图片 栈板测试后的图片 强度测试 承载2000K G ,试验时间48 小时 挠度测试1 承载700K G 挠度测试2 承载700K G 动态测试 承载1200K G 存储模拟测试 每个栈板承重600K G 的重物,然后两层堆叠 48 小时 SONY 方法测试 1 SONY 方法测试 2 SONY 方法测试 2

1、当您付费下载文档后,您只拥有了使用权限,并不意味着购买了版权,文档只能用于自身使用,不得用于其他商业用途(如 [转卖]进行直接盈利或[编辑后售卖]进行间接盈利)。
2、本站所有内容均由合作方或网友上传,本站不对文档的完整性、权威性及其观点立场正确性做任何保证或承诺!文档内容仅供研究参考,付费前请自行鉴别。
3、如文档内容存在违规,或者侵犯商业秘密、侵犯著作权等,请点击“违规举报”。

碎片内容

栈板测试要求

确认删除?
VIP
微信客服
  • 扫码咨询
会员Q群
  • 会员专属群点击这里加入QQ群
客服邮箱
回到顶部