电脑桌面
添加小米粒文库到电脑桌面
安装后可以在桌面快捷访问

某中桥工程钻孔桩施工技术交底

某中桥工程钻孔桩施工技术交底_第1页
1/17
某中桥工程钻孔桩施工技术交底_第2页
2/17
某中桥工程钻孔桩施工技术交底_第3页
3/17
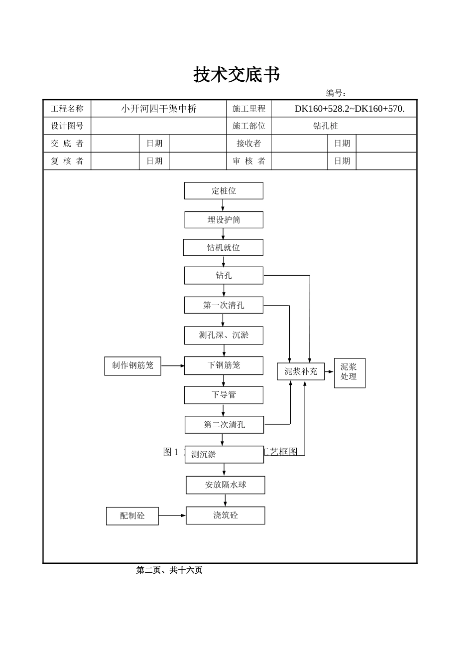
技术交底书编号:DD-3-3-小开河四干渠中桥-001工程名称小开河四干渠中桥施工里程DK160+528.2~DK160+570.设计图号施工部位钻孔桩交 底 者日期接 收 者日期复 核 者日期审 核 者日期技术交底内容:钻孔桩施工技术交底1、适用范围适用于小开河四干渠 DK160+528.2~DK160+570.0 中桥各种土质层和砂类土、碎(卵)石土或中等硬度以下基岩的桥墩桩基施工。施工前应根据不同的地质采纳不等的钻头。目前国内常用的德国产 BG 系列和意大利的 R 系列旋挖钻机及其他满足要求的旋挖钻机。2、施工方法及工艺要求 旋挖钻钻孔桩施工工艺如图 1 所示。技术交底书编号:工程名称小开河四干渠中桥施工里程DK160+528.2~DK160+570.设计图号施工部位钻孔桩交 底 者日期接收者日期复 核 者日期审 核 者日期图 1 旋挖钻钻孔桩施工工艺框图 第二页、共十六页定桩位埋设护筒钻机就位钻孔第一次清孔测孔深、沉淤下钢筋笼下导管第二次清孔测沉淤 安放隔水球浇筑砼泥浆补充泥浆处理制作钢筋笼配制砼技术交底书编号:工程名称小开河四干渠中桥施工里程DK160+528.2~DK160+570设计图号施工部位钻孔桩交 底 者日期接收者日期复 核 者日期审 核 者日期4.1 施工准备 钻孔场地应根据地形、地质、水文资料和桩顶标高等情况结合施工技术的要求,须作准备工作如下:首先确定钻孔桩位:根据基线控制网及桥墩设计坐标,用全站仪精确放出桩位。钻孔场地在旱地且施工期间地下水位在原地面以下大于 1m 者,应平整场地,清除杂物,更换软土,夯填密实。钻机座不宜直接置于不坚实的填土上,以免产生不均匀沉陷。修通旱地位置便道,为施工机具、材料运送提供便利。钻孔场地在陡坡时,应挖成平坡。如有困难,可用排架或枕木搭设工作平台。钻孔场地在浅水时,宜采纳筑岛法。岛顶面通常高出施工水位 0.75~1.0m。筑岛面积按钻孔方法、设备大小等决定。4.2 泥浆制备 在砂类土、碎(卵)石土或黏土夹层中钻孔,采纳膨润土泥浆护壁。在黏性土中钻孔,当塑性指数大于 15,可利用孔内原土造浆护壁。钻孔施工时随着孔深的增加向孔内及时、连续地补浆,维持护筒内应有的水头,防止孔壁坍塌。桩孔砼灌注时,孔内溢出的泥浆引流至泥浆池内,利用于下一基桩钻孔护壁中。4.3 埋设护筒 钻孔前设置坚固、不漏水的孔口护筒。护筒内径大于钻头直径,使用旋转钻机钻孔比钻头大约 20cm,护筒顶面高出施工水位或地下水位 2m,埋设钢护筒,护筒内径比桩径大 20cm,还需满足...

1、当您付费下载文档后,您只拥有了使用权限,并不意味着购买了版权,文档只能用于自身使用,不得用于其他商业用途(如 [转卖]进行直接盈利或[编辑后售卖]进行间接盈利)。
2、本站所有内容均由合作方或网友上传,本站不对文档的完整性、权威性及其观点立场正确性做任何保证或承诺!文档内容仅供研究参考,付费前请自行鉴别。
3、如文档内容存在违规,或者侵犯商业秘密、侵犯著作权等,请点击“违规举报”。

碎片内容

某中桥工程钻孔桩施工技术交底

您可能关注的文档

人从众+ 关注
实名认证
内容提供者

欢迎光临小店,本店以公文和教育为主,希望符合您的需求。

确认删除?
VIP
微信客服
  • 扫码咨询
会员Q群
  • 会员专属群点击这里加入QQ群
客服邮箱
回到顶部