电脑桌面
添加小米粒文库到电脑桌面
安装后可以在桌面快捷访问

变更管理流程与表格工具

变更管理流程与表格工具_第1页
1/10
变更管理流程与表格工具_第2页
2/10
变更管理流程与表格工具_第3页
3/10
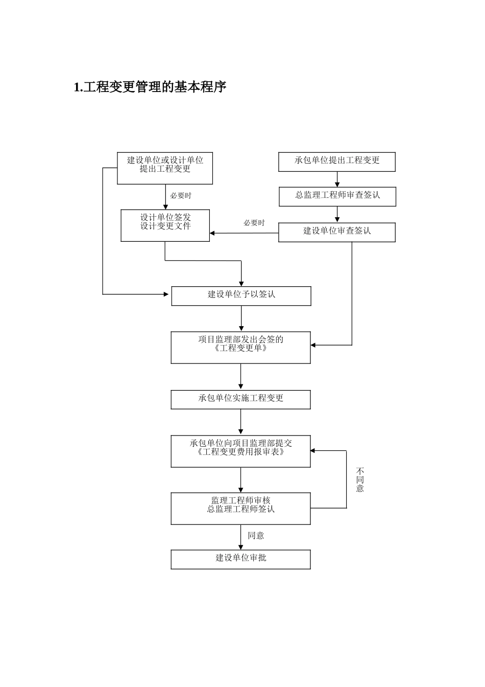
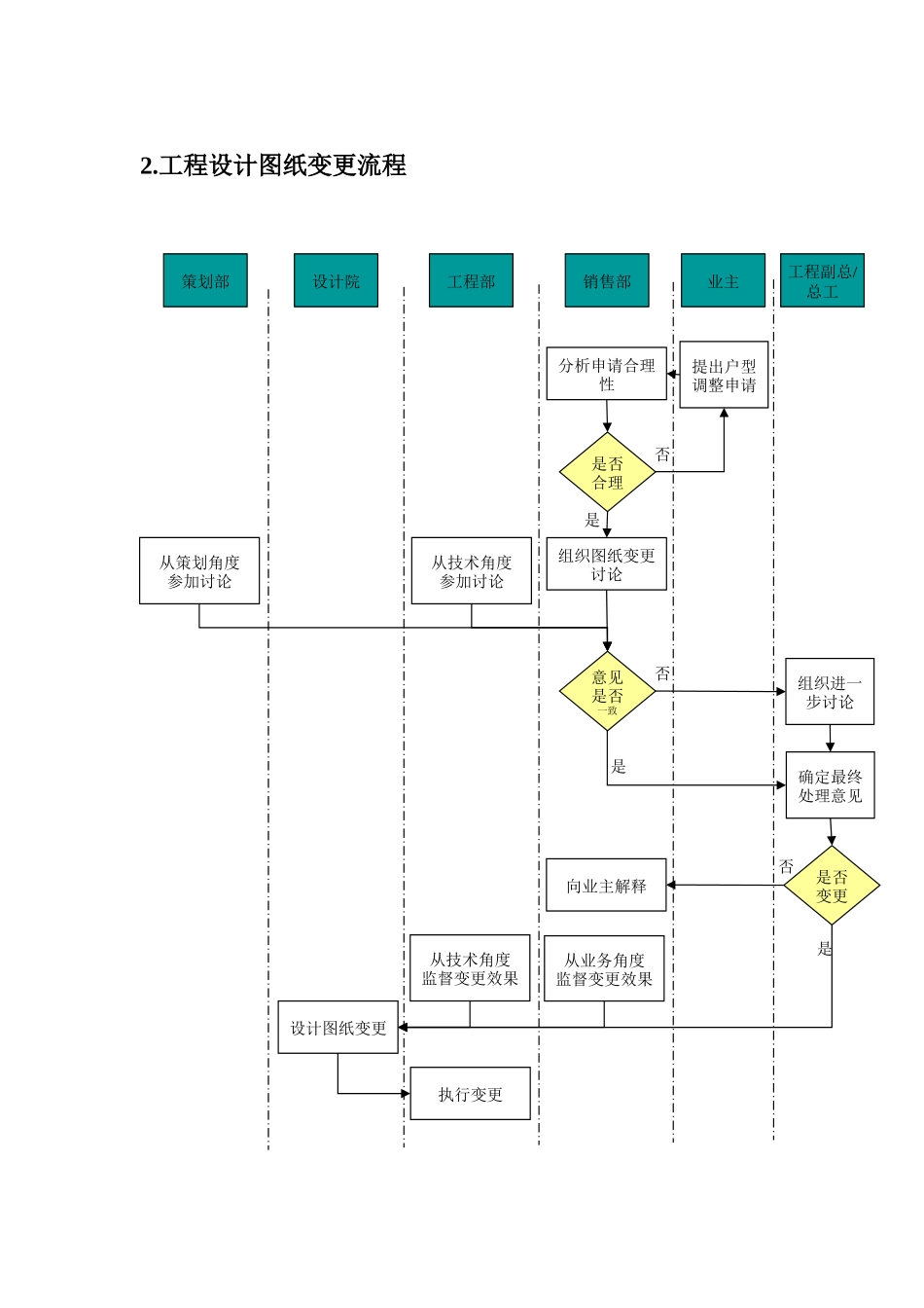
变更管理流程与表格工具1.工程变更管理的基本程序_______________________________________________________12.工程设计图纸变更流程_________________________________________________________23.设计变更管理流程_____________________________________________________________44.技术设计变更工作流程_________________________________________________________55.变更监理工作流程_____________________________________________________________76.工程变更(签证)审批表_______________________________________________________87.设计变更审批表_______________________________________________________________91.工程变更管理的基本程序同意不同意建设单位或设计单位提出工程变更设计单位签发设计变更文件建设单位予以签认承包单位向项目监理部提交《工程变更费用报审表》监理工程师审核总监理工程师签认建设单位审批建设单位审查签认总监理工程师审查签认承包单位提出工程变更必要时必要时项目监理部发出会签的《工程变更单》承包单位实施工程变更2.工程设计图纸变更流程意见是否一致是否合理提出户型调整申请分析申请合理性是否工程部设计院策划部销售部工程副总/总工业主否组织图纸变更讨论从技术角度参加讨论设计图纸变更否是组织进一步讨论确定最终处理意见从策划角度参加讨论是否变更向业主解释从技术角度监督变更效果从业务角度监督变更效果是执行变更3.设计变更管理流程相关部门 分(子)公司总师办 相关领导设计单位审查、签署设计变更意见。(设计院出图)下发设计变更重大变更的联系单及修改图纸上报集团总师办、造价审计部备案结束集团总工审定客户提出设计变更监理单位审查分公司分管领导审核施工单位提出设计变更设计单位提出设计变更分公司销售部接办、初审分公司总师办审查建设单位提出设计变更分公司工程部、造价审计部审查集团总师办、造价审计部审查重大变更一般变更监理单位提出设计变更开始4.技术设计变更工作流程否否变更设计方案是是否审核审批审批备案,并转交监理单位执行备案,并转交施工单位填写技术设计变更联系单委托设计院变更设计是否组织会审审批工程建设中心总经理施工单位监理单位设计单位是否副总经理否是否需要修改?相关部门参加会审参加会审是否较大设计变更进展计划部审批是注:进展计划部审批的项目:1、超出设计预算;2、较大的设计变更 总经理、副总经理审批的项目:1、超出设计预算...

1、当您付费下载文档后,您只拥有了使用权限,并不意味着购买了版权,文档只能用于自身使用,不得用于其他商业用途(如 [转卖]进行直接盈利或[编辑后售卖]进行间接盈利)。
2、本站所有内容均由合作方或网友上传,本站不对文档的完整性、权威性及其观点立场正确性做任何保证或承诺!文档内容仅供研究参考,付费前请自行鉴别。
3、如文档内容存在违规,或者侵犯商业秘密、侵犯著作权等,请点击“违规举报”。

碎片内容

变更管理流程与表格工具

一帆文传+ 关注
实名认证
内容提供者

欢迎光临店铺,各类公文供您挑选。

确认删除?
VIP
微信客服
  • 扫码咨询
会员Q群
  • 会员专属群点击这里加入QQ群
客服邮箱
回到顶部