电脑桌面
添加小米粒文库到电脑桌面
安装后可以在桌面快捷访问

公司应收账款应收尽收管理流程

公司应收账款应收尽收管理流程_第1页
1/3
公司应收账款应收尽收管理流程_第2页
2/3
公司应收账款应收尽收管理流程_第3页
3/3
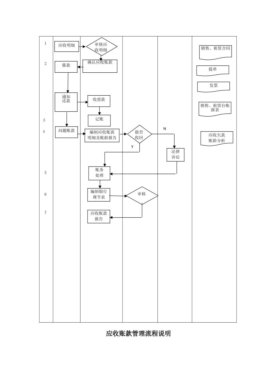
伊犁福金商贸有限公司怎样做到应收尽收方案一、把应该收的钱都全部收到公司账户里为了及时收回欠款,财务部实行每月中旬和下旬,都为销售部、行政部提供一分详细的客户欠款明细表,并随时跟踪,提醒。财务部门及时提供应收账款账龄分析表,以便让决策者和相关部门准确、及时全面掌握应收账款现状.对应收款项短信通知、下催收单、上门进行催缴、按月进行轮换催收制,每月更换不同的人员进行催收,可以查出已收过的款项未入账情况,保证款项按时入账。每月清查开具收据情况,并对开具的收据和存入公司账户的钱款进行核对,会计和出纳相互监督,保证所收钱款和账面一致,并与行政部进行合同收款情况的核对确认,假如本月开的收据总金额和本月收的现金总金额不一致,需列明原因,并报请领导知悉,每月将以上明细表存档备查。保证收回的款项存入公司账户。二、公司对应收账款进行催收管理流程详见附件:应收账款管理流程节点业务部门财务部总经理法务部相关规程/表单应收账款管理流程说明编制应收账款明细及账龄报告应收明细催款法律诉讼账务处理编制银行调节表审核应收账款报告1确认应收账款销售、租赁合同销售、租赁台账报表提单发票Y23456问题账款N能否收回7应收欠款账龄分析通知还款收借款记账审核应收明细流程节点责任人工作说明1应收明细相关部门提前 1 个月提交销售、租赁合同、提单等单证给财务部备案审核财务部审核、查对业务人员提交的销售合同、提单及财务开票信息是否正确、一致.对合同约定的结算金额、结算方式、收款和开票约定、违约责任等条款要仔细审核。无异议则送交财务经理审批2确认应付账款财务部对凭证审核无误,确认销售收入和应收账款催款/通知还款相关部门按合同邀约日期通知欠款单位或欠款人还欠款3收款/记账财务部收款、核销或冲减、记账4问题账款业务部如出现问题账款,需分析回款对策,送交财务经理审批并协助财务部分析是否能收回,审核确认总经理对于能够收回的账款,可协助业务人员与客户协商办理延期付款手续或要求客户及时付款,通知财务部进行账务处理;假如不能收回则付诸法律5账务处理财务部1.应收款项在收回款项或货物后,要及时入账核销,冲减应收账款并更新记录2。对于确实无法收回的款项,根据规定审批程序批准后作为坏账损失处理。已处理的坏账要建立备查簿逐笔登记,以保留追索权6编制银行调节表财务部核对银行存款,编制银行存款余额调节表审核总经理审核报表数据,严格把关7应收账款报告财务部总结应收账款情...

1、当您付费下载文档后,您只拥有了使用权限,并不意味着购买了版权,文档只能用于自身使用,不得用于其他商业用途(如 [转卖]进行直接盈利或[编辑后售卖]进行间接盈利)。
2、本站所有内容均由合作方或网友上传,本站不对文档的完整性、权威性及其观点立场正确性做任何保证或承诺!文档内容仅供研究参考,付费前请自行鉴别。
3、如文档内容存在违规,或者侵犯商业秘密、侵犯著作权等,请点击“违规举报”。

碎片内容

公司应收账款应收尽收管理流程

您可能关注的文档

确认删除?
VIP
微信客服
  • 扫码咨询
会员Q群
  • 会员专属群点击这里加入QQ群
客服邮箱
回到顶部