电脑桌面
添加小米粒文库到电脑桌面
安装后可以在桌面快捷访问

管理流程及管理制度全案8人力资源管理流程图【13】VIP免费

管理流程及管理制度全案8人力资源管理流程图【13】_第1页
1/13
管理流程及管理制度全案8人力资源管理流程图【13】_第2页
2/13
管理流程及管理制度全案8人力资源管理流程图【13】_第3页
3/13
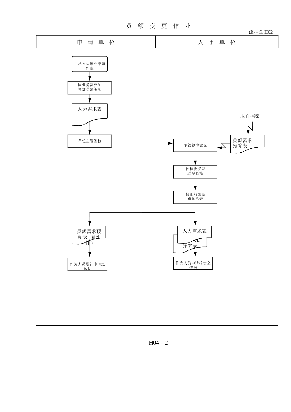
人力需求表人力需求表(复印件)人力需求表内部调迁?员额需求预算表人员增补申请作业流程图H01申请单位人事单位H03–2依核决权限送呈签核依业务或工作量之需要提出申请上承人力资源规划作业H01填写人力需求表审核单位主管签核据以办理对外招募下接招募甄选作业存档备查取自档案详见异动交接作业-调迁是否员额需求预算表取自档案人力需求表员额需求预算表(复印件)员额需求预算表人力需求表员额变更作业流程图H02申请单位人事单位H04–2修正员额需求预算表依核决权限送呈签核因业务需要须增加员额编制上承人员增补申请作业主管签注意见单位主管签核作为人员申请核对之依据作为人员增补申请之依据初审合格?应征文件测试合格?需专业测试?应征文件人力需求表招募、甄选作业─初选流程图H03人事单位H05–3招募、甄选作业─面试否否是以电话联络通知应征者面试时间上承人员增补申请作业对外办理招募通知应征者专业学识测验资格初审存档来自应征者否是是应征文件履历表新进人员面谈记录新进人员面谈记录履历表应征文件录取?新进人员面谈记录履历表流程图H03-1人事单位H05–4任用作业─新进人员报到否是将核定薪资填入新进人员面谈记录填履历表应征人员面试以电话联络通知应征者报到时间及相关事宜依核决权限送呈签核填新进人员面谈记录相关人员面试上承招募、甄选作业—初选存档备查存檔新进报到核薪表新进报到核薪表抚养亲属申报表有关资料人事资料卡新进报到核薪表员工保证书抚养亲属申报表人事资料卡有关资料员工保证书流程图H04人事单位H06–3任用作业─新进人员考核新进人员报到填写相关文件数据核对上承招募、甄选作业取自档案建立人事资料档案后存盘编制新进报到核薪表依核决权限送呈签核人事单位存盘备查送交财务单位据以审核薪资新进人员面谈记录填新进人员薪资通知函新进人员通知函通知新进人员核薪新进人员工作心得报告表人事及薪资异动表人事及薪资异动表人事及薪资异动表新进人员考核表调薪?任用?新进人员考核表流程图H04-1用人单位人事单位财务单位H06-4教育训练作业流程图H05新进人员期满单位主管审核并注明是否任用上承任用作业登入人事资料档案后存盘新进人员期满否通知试用员工不予任用并办理离职下接离职作业填人事及薪资异动申请表依核决权限送呈签核是否是据以审核薪资表更新员工薪资资料后存盘依核决权限送呈签核后填人事及薪资异动通知单通知新进人员调薪公司年度教育训练计划同仁训练报名表公司年度教育训练计划公司年度教育训练计划全公司年度教育训练修正?全公司年度教育训练计划全公司年度教育训练计划单位年度教育训练计划用人单位人事单位H07–3考勤作业─加班流程图H06单位主管签核执行训练审核分送各单位配合业务需要拟订年度员工教育训练计划提傲决策层会议审查将训练课程及时间登入个人训练记录表存档做为训练申请审核之依据研拟全公司年度教育训练计划汇总各单位年度教育训练计划上承职业前程规划作业存档备查否是取自档案据以提出训练报名表加班申请单加班申请单加班申报单加班统计表存档据以核算薪资作为薪资审核之依据员工出缺勤统计表出勤记录取自档案加班单位人事单位财务单位H08–2考勤作业─请假流程图H06-1核对单位主管签核依工作需要填写加班申请单开始填入员工出缺勤统计表实际加班补休申请加班费证明文件证明文件出缺勤统计表请假卡出勤记录请假卡请假卡请假人人事单位H08-3考核作业─年度考绩作业流程图H07核对据以核算薪资单位主管签核将假别及起启时间登入出缺勤统计表填具请假理由期间及职务代理人并检附证明文件开始取自档案取自人事单位取自档案人事资料卡出勤记录考核表考核表用人单位人事单位-H09–3异动交接作业─离职流程图H08直接主管初核将相关资料填入单位主管复核依核决权限送呈签核作为晋升,调薪之参考依据,并归入员工人事数据文件依考评分数评定考绩等级依员工表现填入考评分数每年定期办理员工绩效考核开始离职/移交手续办理清单(正本)员工离职申请书离职/移交手续办理清单(复印件)离职/移交手续办理清单(复印件)离职/移交手续办理清单(复印件)员工离职申请书离职/移交手续办理清单人事资料卡人事资料卡离职/移交手续办理清...

1、当您付费下载文档后,您只拥有了使用权限,并不意味着购买了版权,文档只能用于自身使用,不得用于其他商业用途(如 [转卖]进行直接盈利或[编辑后售卖]进行间接盈利)。
2、本站所有内容均由合作方或网友上传,本站不对文档的完整性、权威性及其观点立场正确性做任何保证或承诺!文档内容仅供研究参考,付费前请自行鉴别。
3、如文档内容存在违规,或者侵犯商业秘密、侵犯著作权等,请点击“违规举报”。

碎片内容

管理流程及管理制度全案8人力资源管理流程图【13】

确认删除?
VIP
微信客服
  • 扫码咨询
会员Q群
  • 会员专属群点击这里加入QQ群
客服邮箱
回到顶部