电脑桌面
添加小米粒文库到电脑桌面
安装后可以在桌面快捷访问

会计凭证完整性审查VIP免费

会计凭证完整性审查_第1页
1/5
会计凭证完整性审查_第2页
2/5
会计凭证完整性审查_第3页
3/5
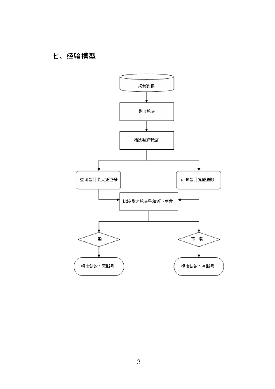
会计凭证完整性审查一、标题会计凭证完整性审查二、经验类别所属分类:通用审计三、经验种类总体分析经验四、经验描述近年来,计算机审计工作已随着计算机会计系统的日益普及而逐渐发展起来。计算机审计技术在审计工作实践中的广泛运用,取得显著的成效,极大地提高了审计工作效率和质量。但是,计算机审计也存在着一定风险因素,如数据采集的完整性。我们在计算机审计工作实践中,通过凭证断号审查,来验证电子数据的完整性,检查审计采集的数据是否真实、完整,在一定程度上防范了计算机审计风险。五、所需资料被审计单位凭证表(vouch_info)。主要字段如下:1、会计月份(copy_month)2、凭证号(v_no)六、审计步骤步骤一:采集被审计单位数据,导出凭证表。1.新建一个空的ACCESS数据库。2.查看被审计单位电子数据,确定凭证表(vouch_info)。3.对凭证表进行整理,并导出到空数据库中。步骤二:对凭证表进行筛选,去除凭证号重复记录。步骤三:查询各月最大凭证号。步骤四:计算各月凭证总数并与最大凭证号进行比较,如不一致,说明有凭证断号情况,需进一步审查。2七、经验模型3八、类SQL描述步骤类SQL描述备注1SELECTDISTINCT凭证表.会计月份,凭证表.凭证号FROM凭证表WHERE(((凭证表.会计月份)="01"));2SELECTDISTINCT凭证筛选.会计月份,Max(凭证筛选.凭证号)AS凭证号之最大值FROM凭证筛选GROUPBY凭证筛选.会计月份;3SELECTCount(凭证筛选.凭证号)AS凭证号之计数,凭证号最大值.凭证号之最大值FROM凭证筛选,凭证号最大值GROUPBY凭证号最大值.凭证号之最大值;4手工操作九、适用法规法规名称:《会计电算化管理办法》发文文号:[94]财会字第27号法规条目:《会计核算软件基本功能规范》第十四条“会计核算软件应当对记账凭证编号的连续性进行控制”。生效日期:1994年7月1日4失效日期:无适用范围:会计电算化核算单位十、典型案例2006年在对XX单位进行计算机辅助审计时,为确保采集数据的完整性,防范计算机审计风险,我们对其凭证表进行了断号查询,具体做法是:1.设置查询程序,查找各月最大凭证号。2.设置查询程序,查找各月所有无重复凭证。3.设置查询程序,计算各月凭证总数。4、比较最大凭证号与凭证数。在查询对比过程中,发现了断号问题。十一、作者焦静波刘小平焦作市修武县审计局十二、日期2007年5月30日5

1、当您付费下载文档后,您只拥有了使用权限,并不意味着购买了版权,文档只能用于自身使用,不得用于其他商业用途(如 [转卖]进行直接盈利或[编辑后售卖]进行间接盈利)。
2、本站所有内容均由合作方或网友上传,本站不对文档的完整性、权威性及其观点立场正确性做任何保证或承诺!文档内容仅供研究参考,付费前请自行鉴别。
3、如文档内容存在违规,或者侵犯商业秘密、侵犯著作权等,请点击“违规举报”。

碎片内容

会计凭证完整性审查

您可能关注的文档

确认删除?
VIP
微信客服
  • 扫码咨询
会员Q群
  • 会员专属群点击这里加入QQ群
客服邮箱
回到顶部