电脑桌面
添加小米粒文库到电脑桌面
安装后可以在桌面快捷访问

一种艾烟净化器讲解VIP专享VIP免费

一种艾烟净化器讲解_第1页
1/12
一种艾烟净化器讲解_第2页
2/12
一种艾烟净化器讲解_第3页
3/12
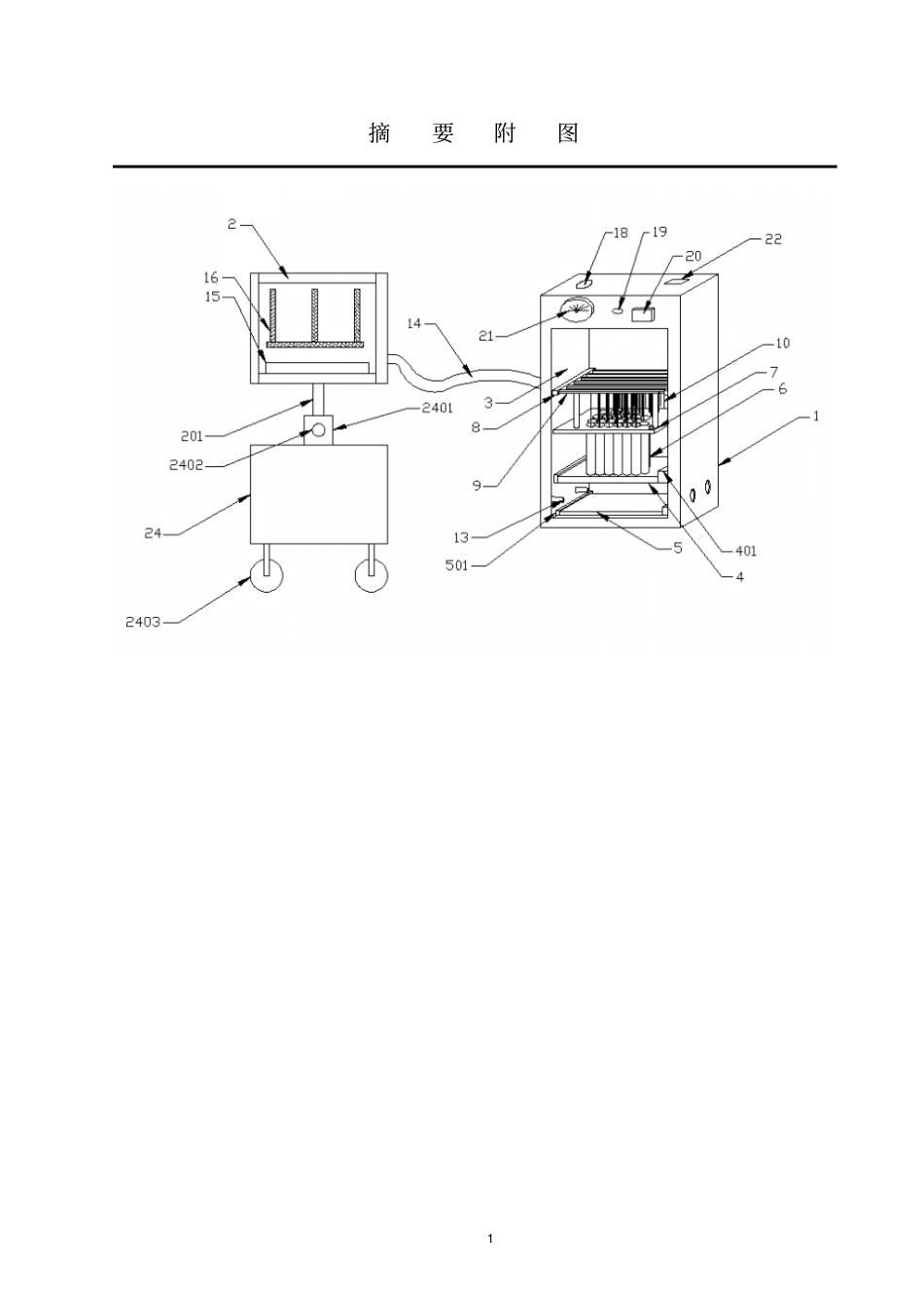
1说明书摘要本实用新型公开了一种艾烟净化器,包括艾烟处理器和灸器,艾烟处理器内设置有处理仓,处理仓内设置有金属板,金属板的一侧设置有艾油盘,金属板的孔洞内固定有若干金属管,若干金属管套接于安装板,安装板的一侧设置有安装架,安装架之间设置有若干固定架,若干固定架的一侧均设置有导电针,导电针插入金属管;安装板的一侧设置有正极接电口,固定架的一侧设置有负极接电口。本实用新型可以将艾烟通过艾烟处理器进行处理,能够减少室内艾烟的浓度;另外通过艾烟处理器对设备内烟的处理,排出去的气体,减少了很大部分的固体颗粒;减少了对空气的污染。1摘要附图1权利要求书1.一种艾烟净化器,其特征在于,包括艾烟处理器(1)和灸器(2),所述艾烟处理器(1)内设置有处理仓(3),所述处理仓(3)内设置有金属板(4),所述金属板(4)的一侧设置有艾油盘(5),所述金属板(6)的孔洞内固定有若干金属管(6),若干所述金属管(6)套接于安装板(7),所述安装板(7)的一侧设置有安装架(8),所述安装架(8)之间设置有若干固定架(9),若干所述固定架(9)的一侧均设置有导电针(10),所述导电针(10)插入所述金属管(6),所述导电针(10)与所述金属管(6)数量相等且一一对应插入所述金属管(6);所述安装板(7)的一侧设置有正极接电口(11),所述固定架(9)的一侧设置有负极接电口(12)。2.根据权利要求1所述的一种艾烟净化器,其特征在于,所述艾烟处理器(1)的一侧设置有进气口(13),所述进气口(13)连接有连接管(14),所述连接管(14)与所述灸器(2)相连通,所述灸器(2)内设置有盛灰盘(15),所述盛灰盘(15)的一侧设置有燃烧架(16)。3.根据权利要求1所述的一种艾烟净化器,其特征在于,所述金属板(4)的边侧均设置有金属板滑槽(401);所述艾油盘(5)的边侧均设置有艾油盘滑槽(501)。4.根据权利要求1所述的一种艾烟净化器,其特征在于,所述艾烟处理器(1)内的一侧设置有排气孔(17)。5.根据权利要求2所述的一种艾烟净化器,其特征在于,所述进气口(13)位于所述艾油盘(5)的一侧,所述进气口(13)设置有四个。6.根据权利要求1所述的一种艾烟净化器,其特征在于,所述艾烟处理器(1)一端的内部设置有涡流风机(18),所述涡流风机(18)的一侧设置有直流高压静电源(22);所述艾烟处理器(1)的一侧设置有开关指示灯(19),所述开关指示灯(19)的一侧设置有总开关(20),所述总开关(20)的一侧设置有电流表(21)。7.根据权利要求1所述的一种艾烟净化器,其特征在于,所述安装板(7)的一侧设置有若干绝缘杆(23)。8.根据权利要求1所述的一种艾烟净化器,其特征在于,所述灸器(2)的端部设置有连接杆(201),所述灸器(2)的一侧设置有支撑基座(24),所述支撑基座(24)的一端设置有套管(2401),所述连接杆(201)套接于套管(2401),所述套管(2401)的一侧设置有紧固螺钉(2402);所述支撑基座(24)的底部设置有万向轮(2403)。29.根据权利要求7所述的一种艾烟净化器,其特征在于,所述金属板(4)、所述金属管(6)、所述安装板(7)、所述导电针(10)和所述绝缘杆(23)构成蜂窝式高压静电电场。10.根据权利要求9所述的一种艾烟净化器,其特征在于,所述总开关(20)电性连接所述直流高压静电源(22),所述直流高压静电源(22)电性连接所述涡流风机(18)、所述电流表(21)和所述蜂窝式高压静电电场。1说明书一种艾烟净化器技术领域本实用新型涉及一种净化器,特别涉及一种艾烟净化器。背景技术艾灸:中医针灸疗法中的灸法。点燃用艾叶制成的艾炷、艾条为主,熏烤人体的穴位以达到保健治病的一种自然疗法。艾灸产生于中国远古时代,因为它的作用机理和针疗有相近之处,并且与针疗有相辅相成的治疗作用,通常针、灸并用,故称为针灸。针灸治病在国内外有着深远的影响,但现代人说针灸,多数时候仅指针疗,已经很少包含艾灸的内容了。是用艾叶制成的艾灸材料产生的艾热刺激体表穴位或特定部位,通过激发经气的活动来调整人体紊乱的生理生化功能,从而达到防病治病目的的一种治疗方法。现在利用艾...

1、当您付费下载文档后,您只拥有了使用权限,并不意味着购买了版权,文档只能用于自身使用,不得用于其他商业用途(如 [转卖]进行直接盈利或[编辑后售卖]进行间接盈利)。
2、本站所有内容均由合作方或网友上传,本站不对文档的完整性、权威性及其观点立场正确性做任何保证或承诺!文档内容仅供研究参考,付费前请自行鉴别。
3、如文档内容存在违规,或者侵犯商业秘密、侵犯著作权等,请点击“违规举报”。

碎片内容

一种艾烟净化器讲解

确认删除?
VIP
微信客服
  • 扫码咨询
会员Q群
  • 会员专属群点击这里加入QQ群
客服邮箱
回到顶部