电脑桌面
添加小米粒文库到电脑桌面
安装后可以在桌面快捷访问

人事管理系统课程设计VIP免费

人事管理系统课程设计_第1页
1/19
人事管理系统课程设计_第2页
2/19
人事管理系统课程设计_第3页
3/19
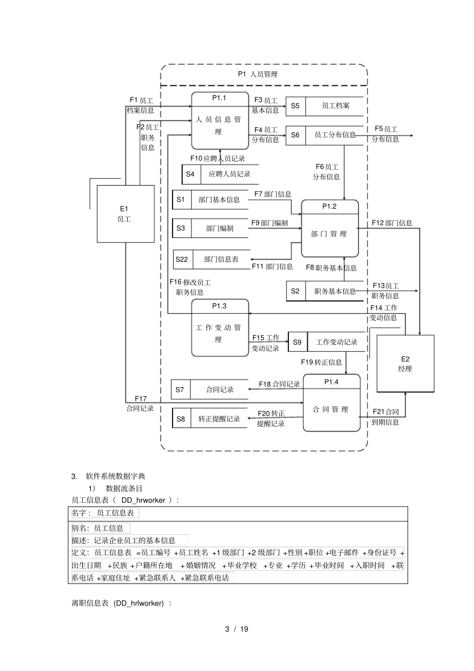
1/19实验一软件需求分析实验项目名称:软件需求分析实验目的:1)掌握系统的功能描述、性能描述方法;2)掌握需求分析工具数据流程图、数据字典等;3)掌握系统需求分析的步骤和方法。实验内容:用结构化数据流分析技术进行软件系统需求分析,得出系统的数据流程图和数据字典。实验步骤:1)到相关单位进行需求分析2)综合利用Internet网和相关书籍整理并完善需求分析。3)画出系统数据流图(分析系统是事务型还是变换型)4)得出系统数据字典1.软件系统需求描述:(从功能,性能上进行描述)功能需求:确定新系统应做什么,这算最主要的需求.该系统就是对A公司的人员信息进行录入,修改,删除,查找以及表单输出..性能需求:给出所开发的新系统的技术性能指标,包括存储容量限制,运行时间限制,安全保密性等.2.软件系统数据流程(由加工、数据流、数据存储、源点和终点四种元素组成):顶层数据流图E1员工E2经理F51工资表F21培训信息F30工作信息F25奖惩信息F14工作变动F12部门信息F32考核汇总信息F1员工基本信息F17合同记录F21合同到期信息F26奖惩信息F33考勤信息F34请假信息F46福利信息F38批假信息F24培训信息F35请假信息P0人事管理系统F43考勤统计信息F2员工分布信息11)2)1层数据流图3)02/19P1人员管理E1员工E2经理P2工作管理P3工资管理F51工资表F21培训信息F30工作信息F13员工分布信息F25奖惩信息P0人事管理系统F14工作变动信息F12部门信息F2员工分布信息F32考核汇总信息F5职务信息F1员工基本信息F17合同记录F21合同到期信息F26奖惩信息F28奖惩信息F33考勤信息F34请假信息F46福利信息F38批假信息F24培训信息F35请假信息F43考勤统计信息00000002层数据流图3/19E1员工部门信息表S22F1员工档案信息P1.1人员信息管理P1.3工作变动管理P1.2部门管理F7部门信息F16修改员工职务信息P1人员管理E2经理F14工作变动信息F13员工职务信息F3员工基本信息F2员工职务信息部门基本信息S1部门编制S3F4员工分布信息职务基本信息S2P1.4合同管理合同记录S7转正提醒记录S8员工档案S5员工分布信息S6F19转正信息F21合同到期信息工作变动记录S9应聘人员记录S4F17合同记录F5员工分布信息F9部门编制F11部门信息F6员工分布信息F15工作变动记录F8职务基本信息F18合同记录F20转正提醒记录F10应聘人员记录F12部门信息3.软件系统数据字典1)数据流条目员工信息表(DD_hrworker):名字:员工信息表别名:员工信息描述:记录企业员工的基本信息定义:员工信息表=员工编号+员工姓名+1级部门+2级部门+性别+职位+电子邮件+身份证号+出生日期+民族+户籍所在地+婚姻情况+毕业学校+专业+学历+毕业时间+入职时间+联系电话+家庭住址+紧急联系人+紧急联系电话离职信息表(DD_hrlworker):4/19名字:离职信息表别名:离职信息描述:记录企业离职员工的信息定义:员工信息表=员工编号+员工姓名+1级部门+2级部门+性别+职位+电子邮件+身份证号+出生日期+民族+户籍所在地+婚姻情况+毕业学校+专业+学历+毕业时间+入职时间+离职时间+离职成本+离职类型+联系电话+家庭住址+紧急联系人+紧急联系电话员工转正信息表(DD_hrrenew):名字:员工转正信息表别名:转正信息描述:记录企业引进转正员工的信息定义:员工转正信息表=转正编号+转正员工的编号+转正员工姓名+转正时间+原定转正时间+试用期工资+转正工资借调信息表(DD_hrborrow):名字:借调信息表别名:借调信息描述:记录企业借调人员相关信息。定义:借调信息表=借调编号+借调员工编号+原部门编号+原部门主管编号+原岗位+现部门编号+现部门主管编号+现岗位+借调开始时间+拟定借调终止时间+实际借调终止时间调动信息表(DD_hrmobilize):名字:调动信息表别名:调动信息描述:记录企业人员调动相关信息。定义:调动编号+调动员工编号+原部门编号+原部门主管编号+原岗位+现部门编号+现主管编号+现岗位+调动开始时间部门信息表(DD_hrdepartment):名字:部门信息表别名:部门信息描述:记录企业部门的相关信息。定义:部门信息表=部门编号+部门名称+部门主管+上级部门+部门级别+部门地址+部门电话+部门开业时间社保信息表(DD_hrinsurance):名字:社保信息表5/19别名:保险信息,社保信息描...

1、当您付费下载文档后,您只拥有了使用权限,并不意味着购买了版权,文档只能用于自身使用,不得用于其他商业用途(如 [转卖]进行直接盈利或[编辑后售卖]进行间接盈利)。
2、本站所有内容均由合作方或网友上传,本站不对文档的完整性、权威性及其观点立场正确性做任何保证或承诺!文档内容仅供研究参考,付费前请自行鉴别。
3、如文档内容存在违规,或者侵犯商业秘密、侵犯著作权等,请点击“违规举报”。

碎片内容

人事管理系统课程设计

确认删除?
VIP
微信客服
  • 扫码咨询
会员Q群
  • 会员专属群点击这里加入QQ群
客服邮箱
回到顶部