电脑桌面
添加小米粒文库到电脑桌面
安装后可以在桌面快捷访问

冲压模具课程设计指导说明书VIP免费

冲压模具课程设计指导说明书_第1页
1/21
冲压模具课程设计指导说明书_第2页
2/21
冲压模具课程设计指导说明书_第3页
3/21
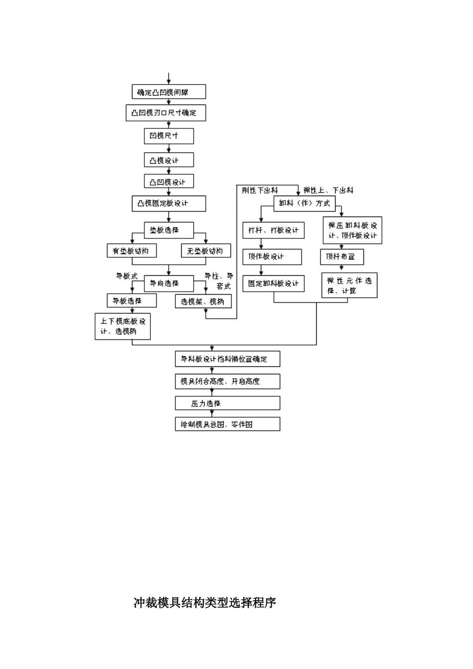
冲压模具课程设计指导模具课程设计是一个重要的专业教学环节,这个数学环节的目的:(1)帮助学生具体运用和巩固《模具设计与制造》课程及相关的理论知识,了解设计冲压模的一般程序。(2)是使学生能够熟练地运用有关技术资料,如《冷冲模国家标准》、《模具设计与制造简明手册》、《冷冲压模具结构图册》及其它有关规范等。(3)训练学生初步设计冷冲压模具的能力,为以后的工作打下初步的基础。设计任务:模具装配图一张(A2 以上);零件图 3~4 张(同组人员所绘零件图应有不同);设计计算说明书一份(至少 20 页以上)。1 冲压模设计的准备工作1.1 研究设计任务应充分研究设计任务书,了解产品用途,并进行冲压件的工艺性及尺寸公差等级分析,对于一些冲压件结构不合理或工艺性不好的,必须征询指导教师的意见后进行改进。在初步明确设计要求的基础上,可按以下步骤进行冲压总体方案的论证。第一步,酝酿冲压工序安排的初步方案,并画出各步的冲压工序草图;第二步,通过工序安排计算及《冷冲压模具结构图册》等技术资料,验证各步的冲压成型方案是否可行,构画该道工序的模具结构草图。 第三步,构画其它模具的结构草图,进一步推敲上述冲压工序安排方案是否合理可行。 第四步,冲压工序安排方案经指导教师过目后,即可正式绘制各步的冲压工序图,并着手按照“设计任务书”上的要求进行课程设计。1.2 资料及工具准备课程设计开始前必须预先准备好《冷冲模国家标准》、《模具设计与制造简明手册》、《冷冲压模具结构图册》等技术资料,及图板、图纸、绘图仪器等工具。也可将课程设计全部或部分工作安排在计算机上用 Auto CAD 等软件来完成,相应地需事前调试设备及软件、准备好打印用纸及墨盒等材料。1.3 设计步骤冲压模课程设计按以下几个步骤进行。(1)分析冲压件的工艺性(结构、尺寸、精度、材料等方面)(5%);(2)拟定冲压工序安排方案、画出冲压工序图、画出待设计模具的排样图(阶段考核比例为15%)(3)计算冲压力(包括冲裁力、卸料力、推件力等)、确定模具压力中心、确定凸凹模间隙,计算刃口尺寸、确定待设计模具的有关结构要素(各个模板的外形尺寸、卸料弹簧或橡胶的自由高度等)、选用模具典型组合等,初选压力机(主要考虑公称压力、装模高度、滑块行程、工作台面尺寸等因素)(25%);(4)设计及绘制模具装配图(25%);(5)设计及绘制模具零件图(25%);(6)按规定格式编制设计说明书(5%);(7)...

1、当您付费下载文档后,您只拥有了使用权限,并不意味着购买了版权,文档只能用于自身使用,不得用于其他商业用途(如 [转卖]进行直接盈利或[编辑后售卖]进行间接盈利)。
2、本站所有内容均由合作方或网友上传,本站不对文档的完整性、权威性及其观点立场正确性做任何保证或承诺!文档内容仅供研究参考,付费前请自行鉴别。
3、如文档内容存在违规,或者侵犯商业秘密、侵犯著作权等,请点击“违规举报”。

碎片内容

冲压模具课程设计指导说明书

您可能关注的文档

确认删除?
VIP
微信客服
  • 扫码咨询
会员Q群
  • 会员专属群点击这里加入QQ群
客服邮箱
回到顶部