电脑桌面
添加小米粒文库到电脑桌面
安装后可以在桌面快捷访问

传染病报告工作流程VIP免费

传染病报告工作流程_第1页
1/28
传染病报告工作流程_第2页
2/28
传染病报告工作流程_第3页
3/28
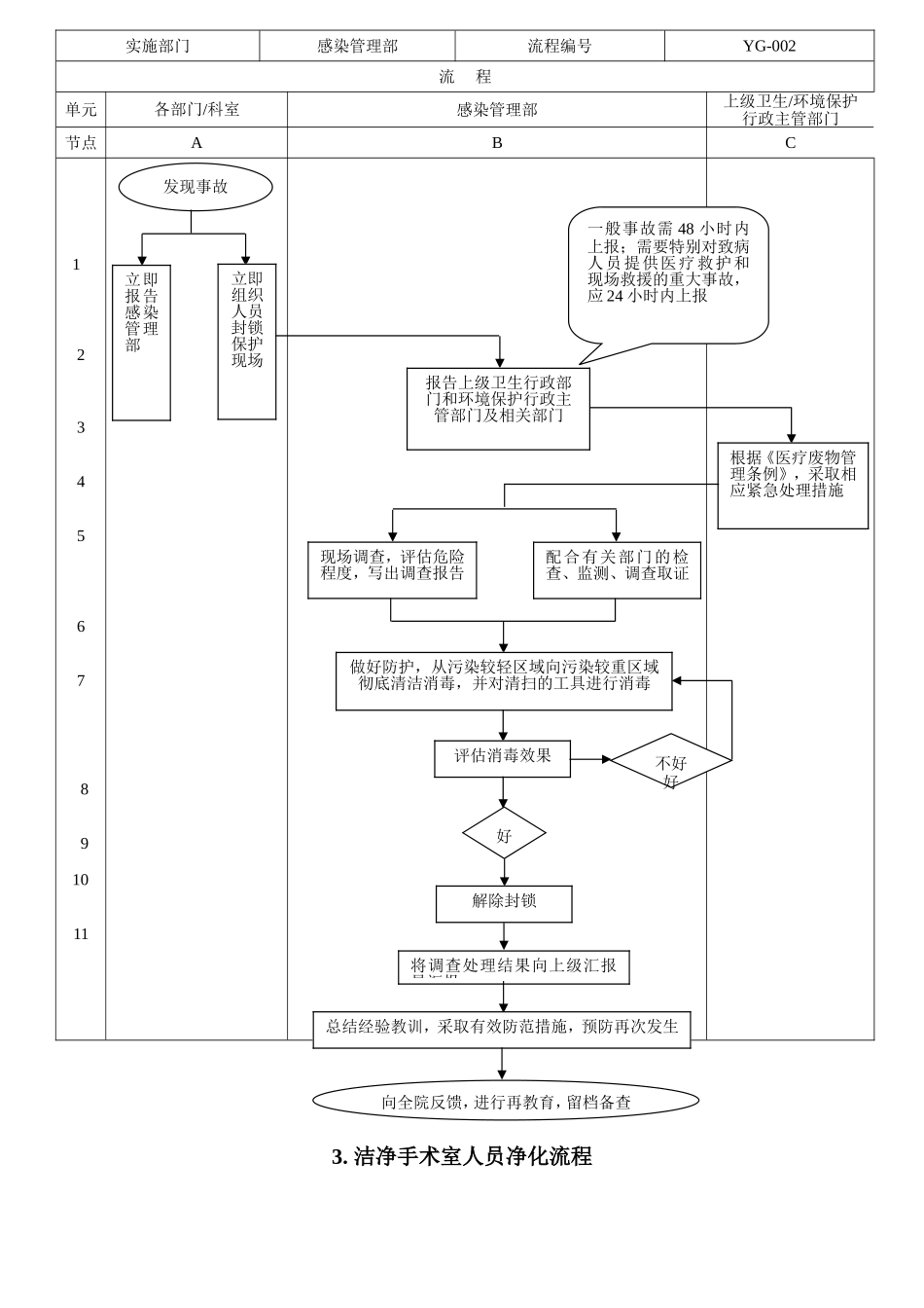
1. 传染病报告工作流程2. 医疗废物流失、泄漏事故紧急处理流程实施部门各科室流程编号YG-001流 程单元各科室(首诊医生)预防保健部节点AB1234567接诊病人甲类传染病乙类传染病丙类传染病正 常 班 时 间 2小时内电话报预防保健部晚上或节假日 2小时内电话报院总值及科主任6 小 时 内电话报预防保健部24 小时内电话报预防保健部报告医教部填写传染病报告卡报预防保健部网络直报报医院领导报疾病预防控制中心(CDC)卫生局3. 洁净手术室人员净化流程实施部门感染管理部流程编号YG-002流 程单元各部门/科室感染管理部上级卫生/环境保护行政主管部门节点ABC1234 567891011发现事故立即报告感染管理部立即组织人员封锁保护现场报告上级卫生行政部门和环境保护行政主管部门及相关部门一般事故需 48 小时内上报;需要特别对致病人员提供医疗救护和现场救援的重大事故,应 24 小时内上报根据《医疗废物管理条例》,采取相应紧急处理措施现场调查,评估危险程度,写出调查报告配合有关部门的检查、监测、调查取证做好防护,从污染较轻区域向污染较重区域彻底清洁消毒,并对清扫的工具进行消毒评估消毒效果好不好好将调查处理结果向上级汇报 导汇报解除封锁总结经验教训,采取有效防范措施,预防再次发生向全院反馈,进行再教育,留档备查4. 洁净手术室物品净化流程实施部门手术室流程编号YG-003流 程单元医务人员手术病人节点AB1234567严格按照规定做好进入手术室前的准备换鞋进行个人卫生处理进入洁净区二次换鞋穿洁净工作服刷手、手消毒换车麻醉准备进入洁净手术室5. 感染性疾病病人就诊流程实施部门供应室流程编号YG-004流 程单元手术室供应室节点AB12456根据手术安排申请所需物品提前准备所需物品,确保物品质量进入洁净手术室专用通道运输放置无菌物品暂存区脱包放入一次性物品及药品贮存间无菌物品一次性物品及药品6. 预警病例报告、诊断、处理流程实施部门感染性疾病科流程编号YG-005流 程单元非发热、非传染性疾病病人发热、非传染性疾病病人发热、传染性疾病病人节点ABC1234567891011预检分诊处测体温到普通门诊就诊由医护人员为其戴口罩,测量体温并做记录感染科门诊医生进行排查由专职护理人员引导患者做血、尿、便常规检查做 X 线胸片检查原路返回发热门诊初 步 诊断排除病例普通门诊就诊排除病例排除病例留观室治疗观察 4~5 天疑似病例准备转院专用车辆转 入 定 点 医院安排住入普通病房院外治疗7. 一次...

1、当您付费下载文档后,您只拥有了使用权限,并不意味着购买了版权,文档只能用于自身使用,不得用于其他商业用途(如 [转卖]进行直接盈利或[编辑后售卖]进行间接盈利)。
2、本站所有内容均由合作方或网友上传,本站不对文档的完整性、权威性及其观点立场正确性做任何保证或承诺!文档内容仅供研究参考,付费前请自行鉴别。
3、如文档内容存在违规,或者侵犯商业秘密、侵犯著作权等,请点击“违规举报”。

碎片内容

传染病报告工作流程

您可能关注的文档

确认删除?
VIP
微信客服
  • 扫码咨询
会员Q群
  • 会员专属群点击这里加入QQ群
客服邮箱
回到顶部