电脑桌面
添加小米粒文库到电脑桌面
安装后可以在桌面快捷访问

初级电工实操指导书与新标准考试题VIP免费

初级电工实操指导书与新标准考试题_第1页
1/26
初级电工实操指导书与新标准考试题_第2页
2/26
初级电工实操指导书与新标准考试题_第3页
3/26
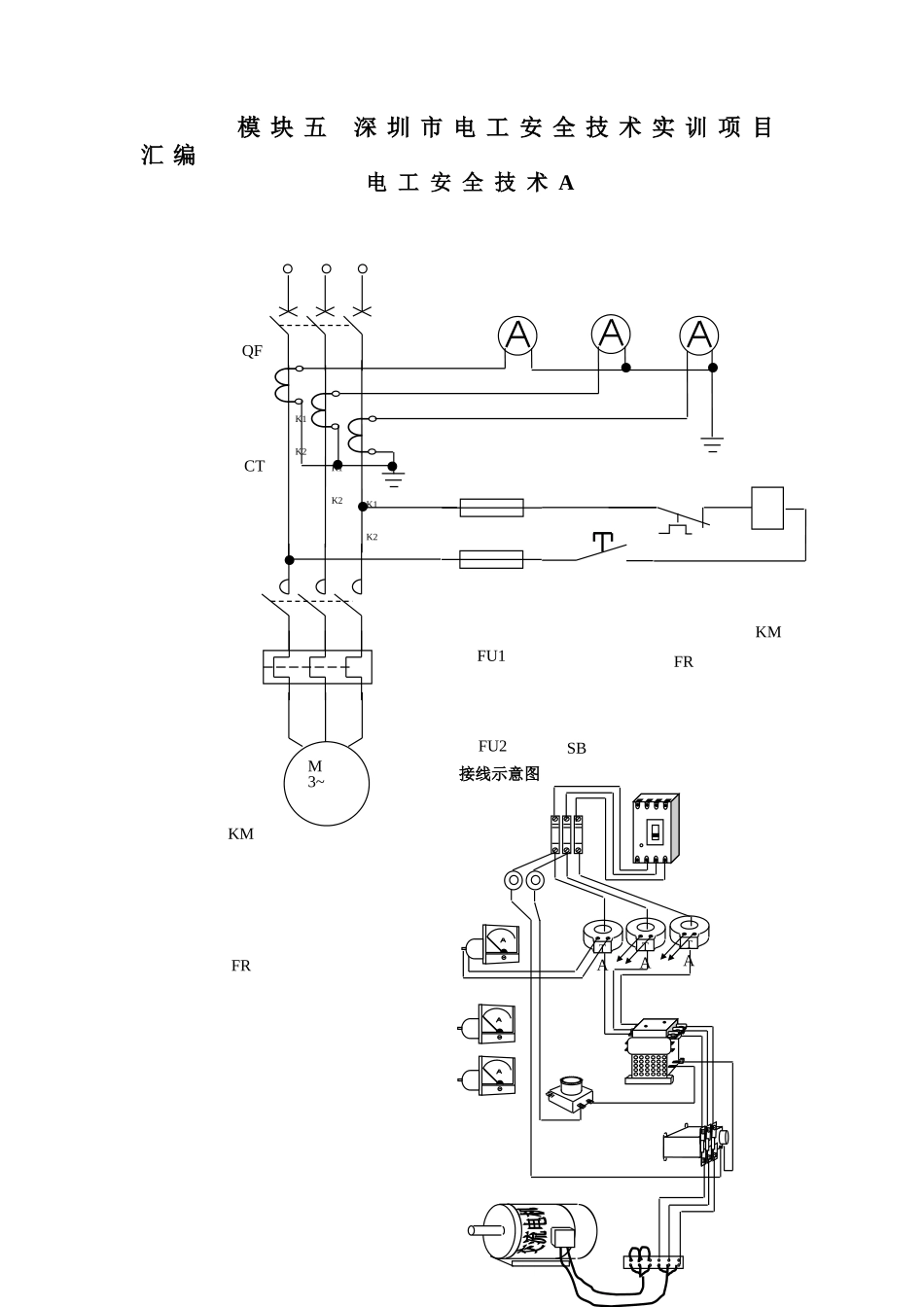
模块五深圳市电工安全技术实训项目汇编电工安全技术AM3~接线示意图TATATAQFK1K2K1K2K1K2FU1FU2SBFRKMKMFRCT工作原理:合上空气开关QF,按动按扭SB,接触器KM吸合,电动机M转动,电流表有三相电流指示。松开按扭,KM释放,电动机停止。此电路为点动。评分标准一、电气控制线路的连接(60分)得分考核内容评分表准得分扣分记录及备注考评员签字1、选择及检查元件(6分)未进行选择和检查元件者不得分2、接线工艺(21分)1、布线整齐美观,主回路按规定颜色得逞分;2、主回路横平竖直,弯成直角,得3分;3、接线端子不超过2根导线得3分;4、导线与接线端子接触良好的3分;5、无导线绝缘皮压入端子得3分;6、导线露铜不超过2mm得3分;7、导线与接线桩连接做羊眼圈或瓦型或反圈得3分3、线路检查(5分)经考评员检查不能通电此项不得分4、通电试车(201、第一次通电不成功扣10分2、第二次通电不成功或分)放弃者不得分5、接地线(8分)电机、柜体、仪表外壳有一处不接地扣4分二、触电急救(25分)1、演示人工呼吸与胸外心脏挤压法同时进行的救护方法(10分)每项操作5分2、胸外心脏挤压法的操作(15分)救护不成功不得分三、灭火器材使用(15分)①不带电设备起火②带电设备起火(由考评员指定一种情况),如何灭火。1、宜选用的灭火器2、演示使用方法违反安全操作规程或安全文明生产酌情扣5—50分答:(1)人工呼吸与胸外心脏挤压法同时进行的救护方法(步骤)1)使触电者仰卧,清除口中异物,畅通气道,解松衣服和裤带。2)胸外挤压与口对口人工呼吸同时进行,其节奏为:单人抢救时,每按15次后吹气(吹气2S,让触电者自行呼气3S)两次,反复进行;双人抢救时,每按5次后由另一个人吹气一次,反复进行。3)直到触电者苏醒。(2)胸外心脏挤压法的操作1)使触电者仰卧,清除口中异物,畅通气道。2)以中指对准锁骨凹处,掌心自然对准按压点(心窝)。双手重叠垂直向下挤压3~4cm,然后放松,每分钟挤压80次左右。每次按压和放松的时间相等。3)直到触电者苏醒。1、灭火器材使用不带电设备起火,如何进行灭火。答:1)不带电设备起火可选用二氧化碳灭火器、干粉灭火器、泡沫灭火器。2)灭火器材使用步骤:①取下灭火器。②右手提着灭火器到现场。③除掉铅封④拔掉保险销⑤左手握着喷管,右手提着压把。⑥站在上风处。⑦在距火焰二米的地方,对准火焰跟部,右手用力压下压把,左手拿着喷管左右来回摆动,喷射燃烧区。直到火熄灭。带电设备起火,如何进行灭火。答:1)带电设备起火可选用二氧化碳灭火器。2)灭火器材使用步骤:①取下灭火器。②右手提着灭火器到现场。③除掉铅封④拔掉保险销⑤左手握着喷管,右手提着压把。电工安全技术BUWKM考试评分表一、电气控制线路的连接(60分)得分考核内容评分表准得分扣分记录及备考评员签字FU1FU2SBSB1KMKMUVWNQF注1、选择及检查元件(6分)未进行选择和检查元件者不得分2、接线工艺(21分)1、布线整齐美观,主回路按规定颜色得逞分;2、主回路横平竖直,弯成直角,得3分;3、接线端子不超过2根导线得3分;4、导线与接线端子接触良好的3分;5、无导线绝缘皮压入端子得3分;6、导线露铜不超过2mm得3分;7、导线与接线桩连接做羊眼圈或瓦型或反圈得3分3、线路检查(5分)经考评员检查不能通电此项不得分4、通电试车(20分)1第一次通电不成功扣10分2、第二次通电不成功或放弃者不得分二、电气测量(通电成功后测量,8分)测量负载的相电压(4分)线电压(4分)三、导线连接(251单股或多股导线的连接”一”字”T”字连接(由考评员指定);(15分)A(15分);B(10分)C(5分);D(0分)‘分)2、用电工胶布进行绝缘处理(10分)A(10分);B(5分)C(0分);四、移动设备检查(15分)手电钻或电焊机使用前安全检查(由考评员指定)(15分)每错一项扣5分违反安全操作规程或安全文明生产酌情扣5—50分电工安全技术CUVWQFFU1FRELFU2SB1SB2SB3KMSB4KMKMFRM3~考试评分表一、电气控制线路的连接(60分)得分考核内容评分表准得分扣分记录及备注考评员签字1、选择及检查元件(6分)未进行选择和检查元件者不得分2、接线工艺(21分)1、布线整齐美观,主回路按规定颜色得逞分;2、主...

1、当您付费下载文档后,您只拥有了使用权限,并不意味着购买了版权,文档只能用于自身使用,不得用于其他商业用途(如 [转卖]进行直接盈利或[编辑后售卖]进行间接盈利)。
2、本站所有内容均由合作方或网友上传,本站不对文档的完整性、权威性及其观点立场正确性做任何保证或承诺!文档内容仅供研究参考,付费前请自行鉴别。
3、如文档内容存在违规,或者侵犯商业秘密、侵犯著作权等,请点击“违规举报”。

碎片内容

初级电工实操指导书与新标准考试题

确认删除?
VIP
微信客服
  • 扫码咨询
会员Q群
  • 会员专属群点击这里加入QQ群
客服邮箱
回到顶部