******医院工作流程图医院工作总流程:流程一:(包括病人流失原因示意图)1导医工作流程(包括病人流失原因示意图):流程二23门诊病房医...
针灸推拿理疗科中医适宜技术操作流程图目录1、针法操作流程图 22、灸法操作流程图 33、耳穴法操作流程图 44、拔火罐法操作流程图 55、...
運设用地规划许可行政许可沽走期隔2D 工作日法沆斎涮曲番 i 和隔LS 工作日=舸/囲方酉晅话2025217里蛊殖曰土程话和雌币管丑中心电西2051...
监理工作流程图附图一(一)总监理程序框图施工准备阶段监理施工阶段否监理是否附图二(二)施工测量监理程序 总动工令审批承包人施工进度...
§1.2 第 5 课时 流程图复习课教学目标:1.能运用流程图表示顺序、选择、循环这三种基本结构;能识别简单的流程图所描述的算法; 2.训...
高三化学二轮专题复习学案——流程图 【考点解读】了解科学、技术、社会的相互关系(如化学与生活、材料、能源、环境、生命过程、信息技术...
§1.2 第 2 课时 流程图与顺序结构教学目标:1.了解流程图的概念,了解常用流程图符号(输入输出框、处理框、判断框、起止框、流程线等...
东台市富安中学高二数学教学案 东台市富安中学高二数学教学案 (第 5 课时)§1.2 流程图复习课教学目标:1.能运用流程图表示顺序、选择...
东台市富安中学高二数学教学案 东台市富安中学高二数学教学案(第 2 课时) §1.2 流程图与顺序结构教学目标:1.了解流程图的概念,了...
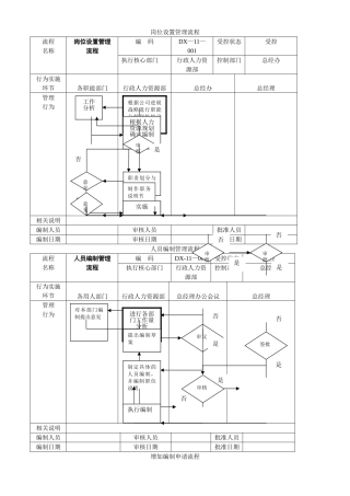
劳动合同管理流程图单位名称 行政及人力资源部 流程名称 劳动合同管理工作流程层次 2 任务概要 员工劳动合同管理工作单位 总经理 ...
配送中心作业流程图供应商发货卸货客户产生配送需求ra*收货拣核*退货需求*实体物流信息流进货作业流程图进货作业进货作业是指对物品实体上...
药店开办流程新门店拓展流程采购流程流程顾客退换货流程编码受控状态门店申请促销活动流流程门店交接班管理编码受控状态门店交接班管理流程...
7.2 存货管理业务流程一、业务目标1经营目标1.1确定合理库存,防止存货积压、闲置,造成浪费。1.2科学保管,保证数量准确、质量合格。1.3...
文案大全施工准备阶段监理施工阶段监理监理工作流程图附图一(—)总监理程序框图文案大全附图二二)施工测量监理程序文案大全附图三三)自采...
CFG 桩一.简介通过调整水泥掺量及配比,其强度等级在 C15-C25 之间变化,是介于刚性桩与柔性桩之间的一种桩型。CFG 桩和桩间土一起,...
数据流程图和业务流程图案例1•采购部查询库存信息及用户需求,若商品的库存量不能满足用户的需要,则编制相应的采购订货单,并交送给供应商...
页脚.房地产项目运作流程一、项目开拓(一)、项目信息收集处理1、市场部进行专业的调查,获取项目信息,并进行分析处理:① 、对于有效信...
土地转让流程图开放分类:土地出让权、基础知识相关词条:一、转让方须报材料1、原土地证或土地证明材料2、原土地出让合同3、上缴税务局的...
工程总承包项目管理流程图一、项目部行文流程图 3-3 项目部行文流程有关部门会签综合管理部秘书核稿,确定密级,缓急程度综合管理部复核...
物业管理全套工作流程图一 物业服务中心流程图(20 个)中心流程住户入住控制流程图业主装修控制流程图顾客报修(保修)控制流程图...

