全 国 计 算 机 技 术 与 软 件 专 业 技 术 资 格 ( 水 平 ) 考 试 china_nejcer 2019 年 上 半 年 下 午...
2017年上半年系统集成项目管理工程师考试真题(案例分析)
2017 年 上半年 系统集成项目管理工程师真题与答案(上午综合知识): 1、以下关于信息的质量属性的叙述中,不正确的是() A、完整性...
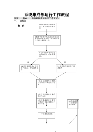
系统集成部运行工作流程售前——售中——售后项目实施阶段工作流程:一、 流程图售 前是 否1 销售部门提出服务请求,填写服务请求表格2...
下载后可任意编辑2024 系统集成项目管理工程师上午基础知识考试范围 系统集成项目管理工程师考试是软件水平考试中的一项中级资格考试,是...
下载后可任意编辑高级系统集成工程师应具备的专业知识 系统集成工程师通常分为售前和售后两类。售前工程师主要负责用户沟通、建议方案的设...
系统集成项目管理工程师 考试指南幸福哥 著2024 年 1 月 1 日下载后可任意编辑目 录前 言…………………………………………………...
下载后可任意编辑 本文由 xiaoj1977 贡献 doc 文档可能在 WAP 端浏览体验不佳。建议您优先选择 TXT,或下载源文件到本机查看。 第...
下载后可任意编辑1. 一般是指 ISO90001 质量管理体系,“需要已建立完备的企业质量管理体系,通过国家认可的第三方认证机构认证并有效运...
下载后可任意编辑系统集成项目管理工程师学习笔记总结 项目管理经验和技巧 在希赛软考学院的系统集成项目管理工程师培训课程中,培训老师...
下载后可任意编辑2024 上半年下午试题解答与分析试题一 (25 分)合同管理、变更管理、范围管理、沟通管理阅读下面说明,回答问题 1 至...
下载后可任意编辑2024 上半年试题分析与解答试题(1)所谓信息系统集成是指(1)。 (1)A.计算机网络系统的安装调试 B.计算机应用系统的部...
下载后可任意编辑1.整体管理 1.1 制定项目章程I:1、合同(假如适用)2、项目工作说明书 3、环境和组织因素 4、组织过程资产 T:1、项目...
下载后可任意编辑系统集成项目管理工程师辅导教程(第 3 版) 第 1 章 信息化基础知识 信息是一种客观事物,它与材料、能源一样,都...
下载后可任意编辑系统集成项目管理工程师知识要点一览 四控: 1、质量控制; 2、进度控制; 3、投资控制; 4、变更控制 三管: 1、...
下载后可任意编辑系统集成项目管理工程师考试大纲一、考试说明 1.考试目标 通过本考试的合格人员能够掌握系统集成项目管理的知识体系;具...
下载后可任意编辑4.1 项目的一般知识D 公司是一家系统集成商,章某是 D 公司的一名高级项目经理,现正在负责某市开发区的办公网络项目...
下载后可任意编辑系统集成项目管理工程师考试知识点一、考试说明1.考试目标通过本考试的合格人员能够掌握系统集成项目管理的知识体系;具备...
下载后可任意编辑系统集成项目管理工程师考前培训通知书一、项目介绍:“系统集成项目管理工程师考试”是由国家人力资源和社会保障部、工业...
下载后可任意编辑考试科目 1 系统集成项目管理基础知识 1:系统集成项目管理基础知识 1.信息化知识 1.1 信息化概念 信息与信息化 国...

