电脑桌面
添加小米粒文库到电脑桌面
安装后可以在桌面快捷访问

劳动合同管理工作流程图--HR猫猫VIP免费

劳动合同管理工作流程图--HR猫猫_第1页
1/5
劳动合同管理工作流程图--HR猫猫_第2页
2/5
劳动合同管理工作流程图--HR猫猫_第3页
3/5
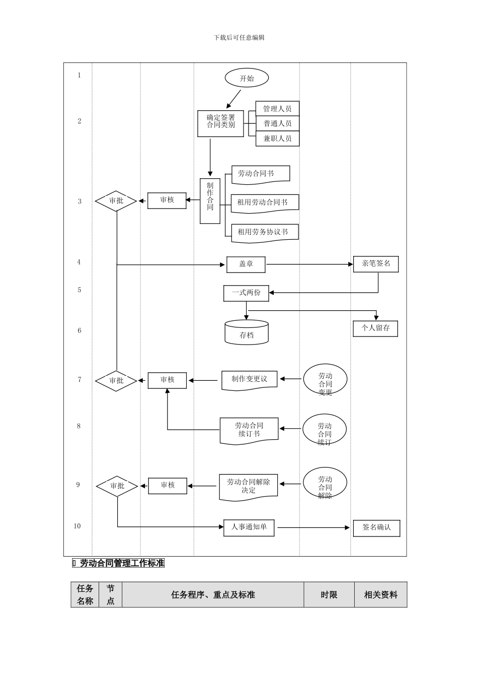
下载后可任意编辑  劳动合同管理工作流程图单位名称行政及人力资源部流程名称劳动合同管理工作流程层 次2任务概要员工劳动合同管理工作单位总经理分管领导行政及人力资源部用人部门员工节点ABCDE下载后可任意编辑 劳动合同管理工作标准任务名称节点任务程序、重点及标准时限相关资料123456存档审批7人事通知单89亲笔签名盖章审核开始管理人员普通人员兼职人员制作合同劳动合同书租用劳务协议书一式两份个人留存劳动合同变更制作变更议劳动合同续订劳动合同续订书劳动合同解除劳动合同解除决定审批审核签名确认审批审核确定签署合同类别租用劳动合同书10下载后可任意编辑劳动合同签订程序《劳动合同书》C3行政及人力资源部根据当地有关规定和企业的实际情况编制劳动合同15 个工作日行政及人力资源部根据劳动合同制定企业劳动合同中具体的实施条款,明确公司及员工各自的权利和义务7 个工作日A3行政及人力资源部制定的劳动合同报公司领导审批1 个工作日行政及人力资源部组织员工与企业签订劳动合同书3 个工作日重点劳动合同的签订标准严格、合法劳动合同调整管理程序《合同续签申请》D8合同的续订:经双方同意,应在合同期满前一个月办理续签即时D7合同变更需依据法定条款和协议条款1 个工作日D9合同解除如出现争议,需经过调解、仲裁、诉讼等进行裁决根据实际情况合同终止,双方不再保持劳动关系1 个工作日重点合同的续订、变更、解除、终止标准合法劳动合同文档管理程序《 劳 动 合同》劳动合同统一由行政及人力资源部管理即时行政及人力资源部对员工劳动合同进行标识、存档1 个工作日重点文档管理妥善保管、防止丢失、涂改及损坏标准公平、准确 劳动合同管理制度下载后可任意编辑节选公司《人力资源管理制度》第九章员工关系管理第一节劳动合同管理1.依据《劳动法》有关规定,员工与企业在平等自愿、协商一致的基础上签订劳动合同,明确双方的责任、权利和义务,以法律形式确定双方的劳动关系。2.为确立公司与员工的劳动关系,明确双方的权利与义务,公司实施全员劳动合同制管理。公司不与尚未与原单位解除劳动关系的人员签订劳动合同。3.劳动合同的签订3.1 新聘员工,公司将根据岗位性质与员工劳动关系,予以用工。3.2 公司根据岗位实际情况,与员工签订有固定期及无固定期限劳动合同,具体如下:一年期劳动合同:适用于一般员工;二年期劳动合同:适用于公司急需人才、在校园特别招聘的人员;三年期劳动合同:适用于...

1、当您付费下载文档后,您只拥有了使用权限,并不意味着购买了版权,文档只能用于自身使用,不得用于其他商业用途(如 [转卖]进行直接盈利或[编辑后售卖]进行间接盈利)。
2、本站所有内容均由合作方或网友上传,本站不对文档的完整性、权威性及其观点立场正确性做任何保证或承诺!文档内容仅供研究参考,付费前请自行鉴别。
3、如文档内容存在违规,或者侵犯商业秘密、侵犯著作权等,请点击“违规举报”。

碎片内容

劳动合同管理工作流程图--HR猫猫

您可能关注的文档

文森传品+ 关注
实名认证
内容提供者

一家传播文化教育的小店,资料丰富,随意挑选。

确认删除?
VIP
微信客服
  • 扫码咨询
会员Q群
  • 会员专属群点击这里加入QQ群
客服邮箱
回到顶部