电脑桌面
添加小米粒文库到电脑桌面
安装后可以在桌面快捷访问

增量式编码器的ABZVIP免费

增量式编码器的ABZ_第1页
1/11
增量式编码器的ABZ_第2页
2/11
增量式编码器的ABZ_第3页
3/11
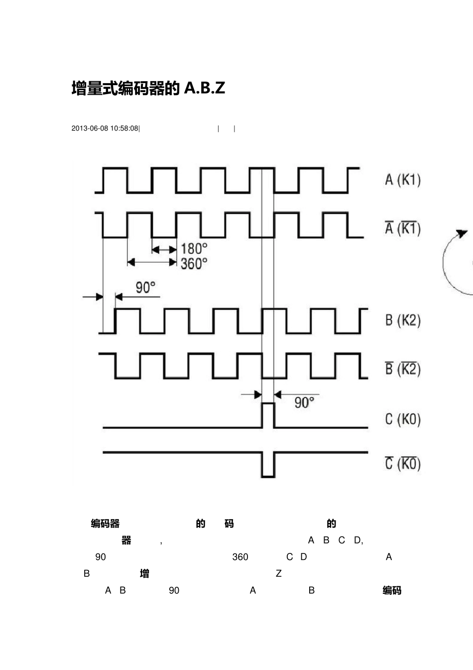
增 量 式 编 码 器的 A.B.Z 2013-06-08 10:58:08| 分类 业术电子类|举报| 阅 编 码 器是由一个中心有轴的电码 盘,有形通暗的刻线,有电发射和接收器读,获得四组方波或弦波信组合 ABCD,每个波相差 90 度相差相于一个周波 360 度,将 CD 信向,叠在 AB 相,可增 稳定信另每转输一个 Z 相脉以代表参考由于 AB 相相差 90 度,可通过比较 A 相在前是 B 相在前,以判编 码器的转转,通过脉,可获得编码器的参考 编码器码盘的材料有玻璃金属塑料,玻璃码盘是在玻璃沉很薄的刻线,热稳定性好,精度高,金属码盘直接以通和通刻线,易碎,但由于金属有一定的厚度,精度就有限,热稳定性就要比玻璃的差一个数量,塑料码盘是经济型的,本,但精度热稳定性寿命均要差一些分辨率—编码器以每旋转360 度提供多少的通或暗刻线分辨率,也解析分度或直接多少线,一般在每转分度 5~10000 线 所谓 n 的编码器就是指分辨力 360°每圈脉数除以 2 的n 次方 编码器轴每旋转一圈,A 相和 B 相都发相的脉个数,但是 A相和 B 相之间在一个 90°电气角的一周期 360°的电气角相差,可以根据个相差来判断编码器旋转的方向是转是转,转时,A 相超前 B 相 90°行相输,转时,B 相超前 A 相 90°行相输如图所示编码器每旋转一圈,Z 相在一个固定的置发一个脉,所以可以作复相或相来使用 /###################################################################################/ 编码器ABZ 相关系 TTL 编码器A 相,B 相信,Z 相信,U 相信,V 相信,W 相信,分有什么关系? 于个题的回答们从以几个方面说明 编码器有 A 相B 相Z 相信的概念 所谓 U 相V 相W 相是指的电机的电源的相交流供电,编码器没有任何关系“A 相B 相Z 相”“U 相V 相W 相”是完全没有什么关系的种概念,前者是编码器的通道输信者是交流电机的 相回路供电 而编码器的 A 相B 相Z 相信中,AB 个通道的信一般是交互差 90°脉信而 Z 相是脉...

1、当您付费下载文档后,您只拥有了使用权限,并不意味着购买了版权,文档只能用于自身使用,不得用于其他商业用途(如 [转卖]进行直接盈利或[编辑后售卖]进行间接盈利)。
2、本站所有内容均由合作方或网友上传,本站不对文档的完整性、权威性及其观点立场正确性做任何保证或承诺!文档内容仅供研究参考,付费前请自行鉴别。
3、如文档内容存在违规,或者侵犯商业秘密、侵犯著作权等,请点击“违规举报”。

碎片内容

增量式编码器的ABZ

您可能关注的文档

确认删除?
VIP
微信客服
  • 扫码咨询
会员Q群
  • 会员专属群点击这里加入QQ群
客服邮箱
回到顶部