电脑桌面
添加小米粒文库到电脑桌面
安装后可以在桌面快捷访问

摄影测量与遥感案例分析VIP免费

摄影测量与遥感案例分析_第1页
1/28
摄影测量与遥感案例分析_第2页
2/28
摄影测量与遥感案例分析_第3页
3/28
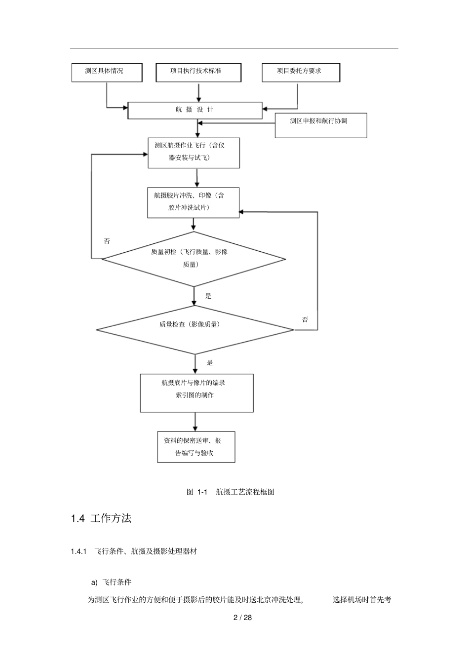
1 / 28 案例分析1 航空摄影技术设计1.1 工作区范围1.2 航摄技术内容和执行的技术标准在实施过程中,执行的技术标准为GB/T 6962 《1:500、1:1000、1:2000 地形图航空摄影规范》。1.3 技术路线与工艺流程1.3.1技术路线为了充分保证航摄项目的完成时间和成果质量,本项目拟采用如下技术路线:1.详细总结在XX 地区航摄飞行工作经验,如进行适宜彩色摄影气象条件、协调保障、航摄参数选择、 摄影处理方法、 质量控制分析等, 为本次航摄编制工作计划和实施方案提供依据。2.根据本次任务航摄比例尺的要求,结合测区地貌、地形特点,选择合适的航摄飞行平台、 航摄焦距,并进行合理的航摄设计。为了提高航摄飞行效益、航摄成果质量并按计划完成任务,本次航摄拟选择运-五机型为飞行平台,一台RC-10 航摄仪进行作业。3.为了充分保证本次航摄成果的质量,从航摄飞行天气条件,航摄仪的通光量、滤光镜等性能, 冲洗、印像试片,质量检查与监控等技术环节上严格把握。每一环节的工作均按前述技术规范标准执行。4.加强项目组织管理及协调工作,与委托方保持密切联系,定期汇报工作进展情况,以便随时合理部署和调整工作计划。1.3.2工艺流程执行的流程框图见图1-1。2 / 28 图 1-1 航摄工艺流程框图1.4 工作方法1.4.1飞行条件、航摄及摄影处理器材a) 飞行条件为测区飞行作业的方便和便于摄影后的胶片能及时送北京冲洗处理,选择机场时首先考否是是否项目执行技术标准测区具体情况项目委托方要求航 摄 设 计测区航摄作业飞行(含仪器安装与试飞)航摄胶片冲洗、印像(含胶片冲洗试片)航摄底片与像片的编录索引图的制作资料的保密送审、报告编写与验收质量初检(飞行质量、影像质量)质量检查(影像质量)测区申报和航行协调3 / 28 虑以航行协调、 保障航摄飞行作业为优先条件,兼顾距测区较近和往北京空运胶片方便、快捷。为此,拟选择XX 机场作为使用机场,XX 机场作为备用机场。根据本次航摄比例尺及飞行高度要求,综合考虑目前国内航摄飞机状况、租机费用和飞行安全,并兼顾航行协调、航摄飞行作业保障等因素,拟选择XX 航空公司的运 -五机型作为本测区航摄的飞行平台。运-五为单螺旋桨飞机,巡航速度为180km/h ,续航时间为6 小时,最高升限达4200m,有利于机场空中管制与调度,适合于丘陵、山区的中、低空航空摄影。飞机上配有先进的GPS 导航仪,可以保证航线弯曲度控制在3%以内。b) 航摄仪器本项目使用RC-10 ...

1、当您付费下载文档后,您只拥有了使用权限,并不意味着购买了版权,文档只能用于自身使用,不得用于其他商业用途(如 [转卖]进行直接盈利或[编辑后售卖]进行间接盈利)。
2、本站所有内容均由合作方或网友上传,本站不对文档的完整性、权威性及其观点立场正确性做任何保证或承诺!文档内容仅供研究参考,付费前请自行鉴别。
3、如文档内容存在违规,或者侵犯商业秘密、侵犯著作权等,请点击“违规举报”。

碎片内容

摄影测量与遥感案例分析

爱的疯狂+ 关注
实名认证
内容提供者

该用户很懒,什么也没介绍

确认删除?
VIP
微信客服
  • 扫码咨询
会员Q群
  • 会员专属群点击这里加入QQ群
客服邮箱
回到顶部