电脑桌面
添加小米粒文库到电脑桌面
安装后可以在桌面快捷访问

枞阳县长江河道管理局水利工程涉河项目报批流程图VIP免费

枞阳县长江河道管理局水利工程涉河项目报批流程图_第1页
1/16
枞阳县长江河道管理局水利工程涉河项目报批流程图_第2页
2/16
枞阳县长江河道管理局水利工程涉河项目报批流程图_第3页
3/16
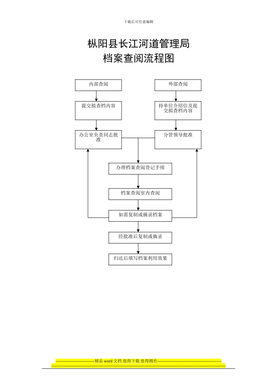
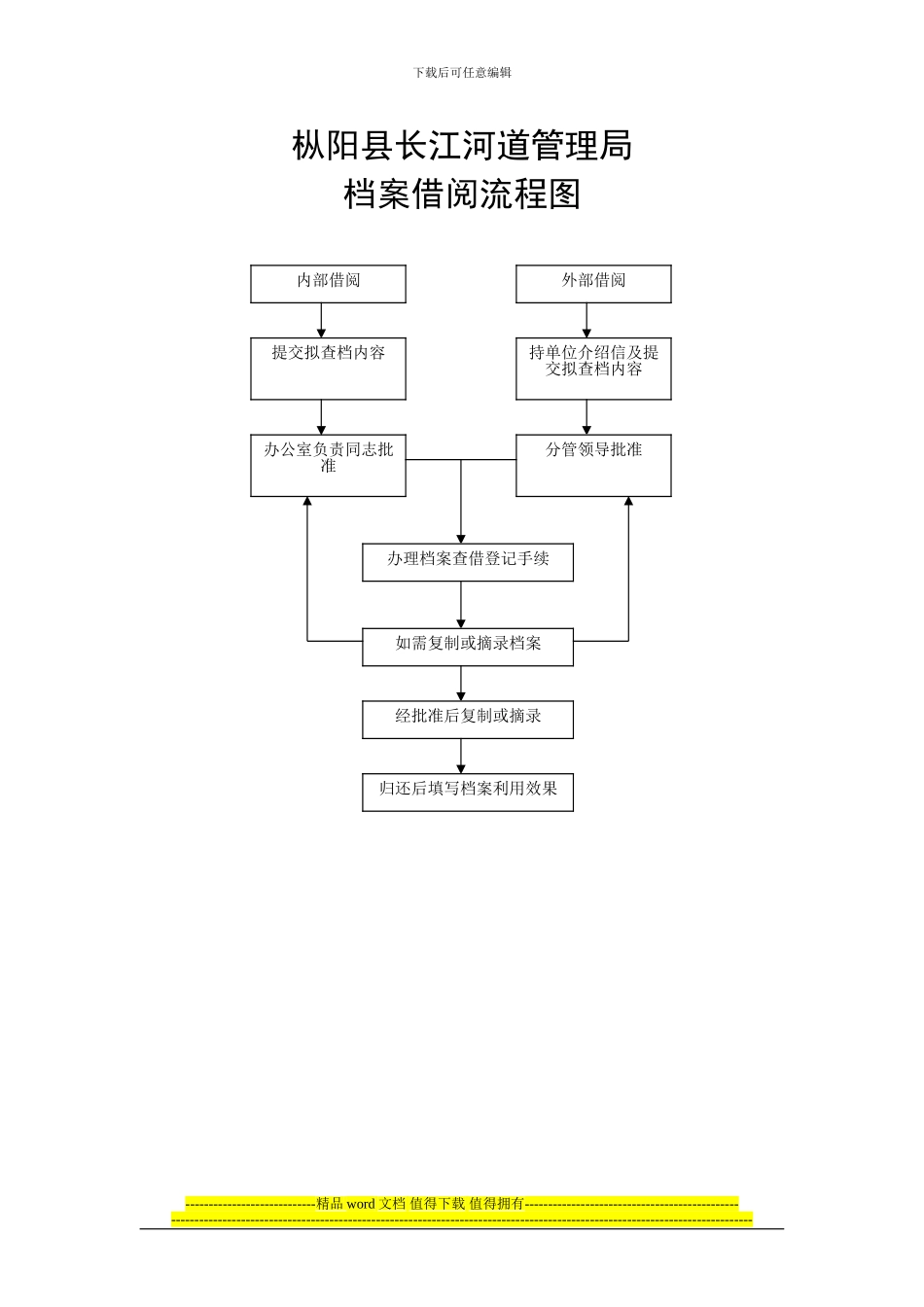
下载后可任意编辑枞阳县长江河道管理局水利工程涉河项目报批流程图说明 :1、审查依据《安徽省河道及水工程管理范围内建设项目管理办法》(试行)----------------------------精品 word 文档 值得下载 值得拥有---------------------------------------------------------------------------------------------------------------------------------------------------------------------------申请单位提出申请办公室即时会同工程股进行材料审查申请材料齐全、符合规定形式的,工程股提出初审意见后 , 报领导签发,可以当场办理的立即办文申请材料不齐全或者不符合规定的,一次性告知申请人需要补正的全部内容申请材料存在可以当场更正的错误的,申请单位可以当场更正下载后可任意编辑枞阳县长江河道管理局档案查阅流程图 ----------------------------精品 word 文档 值得下载 值得拥有---------------------------------------------------------------------------------------------------------------------------------------------------------------------------内部查阅外部查阅持单位介绍信及提交拟查档内容办公室负责同志批准分管领导批准办理档案查阅登记手续档案查阅室内查阅提交拟查档内容如需复制或摘录档案经批准后复制或摘录归还后填写档案利用效果下载后可任意编辑枞阳县长江河道管理局档案借阅流程图 ----------------------------精品 word 文档 值得下载 值得拥有---------------------------------------------------------------------------------------------------------------------------------------------------------------------------内部借阅外部借阅持单位介绍信及提交拟查档内容办公室负责同志批准分管领导批准办理档案查借登记手续提交拟查档内容如需复制或摘录档案经批准后复制或摘录归还后填写档案利用效果下载后可任意编辑枞阳县长江河道管理局发文办理流程图----------------------------精品 word 文档 值得下载 值得拥有---------------------------------------------------------------------------------------------------------------------------------------------------------------------------部门工作人员拟稿部门负责人核稿文秘人员审核会签有关部门领导签发办公室负责人复审打 印文秘人员审核拟稿人核对印刷装订登记文号用 印分 发归 档下载后可任意编辑枞阳县...

1、当您付费下载文档后,您只拥有了使用权限,并不意味着购买了版权,文档只能用于自身使用,不得用于其他商业用途(如 [转卖]进行直接盈利或[编辑后售卖]进行间接盈利)。
2、本站所有内容均由合作方或网友上传,本站不对文档的完整性、权威性及其观点立场正确性做任何保证或承诺!文档内容仅供研究参考,付费前请自行鉴别。
3、如文档内容存在违规,或者侵犯商业秘密、侵犯著作权等,请点击“违规举报”。

碎片内容

枞阳县长江河道管理局水利工程涉河项目报批流程图

元素商铺+ 关注
实名认证
内容提供者

欢迎挑选合适的文档

确认删除?
VIP
微信客服
  • 扫码咨询
会员Q群
  • 会员专属群点击这里加入QQ群
客服邮箱
回到顶部