电脑桌面
添加小米粒文库到电脑桌面
安装后可以在桌面快捷访问

MPU6000.6050中文资料VIP免费

MPU6000.6050中文资料_第1页
1/14
MPU6000.6050中文资料_第2页
2/14
MPU6000.6050中文资料_第3页
3/14
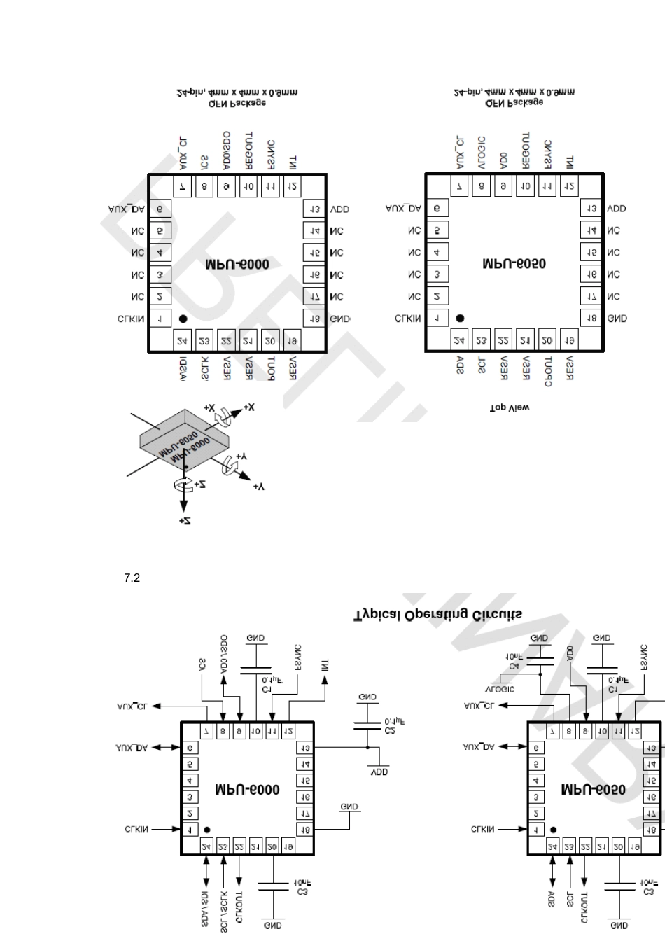
仅翻译了有用部分—— ByLeeDy.Li2013.1.7《MPU-6000/MPU-6050产品说明书》1.版本更新2.应用范围3.产品简介MPU-60X0是全球首例 9轴运动处理传感器。它集成了3轴 MEMS陀螺仪,3轴 MEMS加速度计,以及一个可扩展的数字运动处理器 DMP(DigitalMotionProcessor),可用I2C接口连接一个第三方的数字传感器,比如磁力计。扩展之后就可以通过其 I2C或 SPI接口输出一个 9轴的信号(SPI接口仅在 MPU-6000可用)。MPU-60X0也可以通过其 I2C接口连接非惯性的数字传感器,比如压力传感器。MPU-60X0对陀螺仪和加速度计分别用了三个 16位的 ADC,将其测量的模拟量转化为可输出的数字量。为了精确跟踪快速和慢速的运动,传感器的测量范围都是用户可控的,陀螺仪可测范围为±250,±500,±1000,±2000°/秒(dps),加速度计可测范围为±2,±4,±8,±16g。一个片上 1024字节的 FIFO,有助于降低系统功耗。和所有设备寄存器之间的通信采用400kHz的 I2C接口或 1MHz的 SPI接口(SPI仅MPU-6000可用)。对于需要高速传输的应用,对寄存器的读取和中断可用20MHz的 SPI。另外,片上还内嵌了一个温度传感器和在工作环境下仅有±1%变动的振荡器。芯片尺寸 4×4×0.9mm,采用QFN封装(无引线方形封装),可承受最大 10000g的冲击,并有可编程的低通滤波器。关于电源,MPU-60X0可支持 VDD范围 2.5V±5%,3.0V±5%,或 3.3V±5%。另外MPU-6050还有一个 VLOGIC引脚,用来为 I2C输出提供逻辑电平。VLOGIC电压可取1.8±5%或者 VDD。4.应用领域5.特征以数字输出 6轴或 9轴的旋转矩阵、四元数(quaternion)、欧拉角格式(EulerAngleforma)的融合演算数据。具有131LSBs/°/sec敏感度与全格感测范围为±250、±500、±1000与±2000°/sec的3轴角速度感测器(陀螺仪)。可程式控制,且程式控制范围为±2g、±4g、±8g和±16g的 3轴加速器。移除加速器与陀螺仪轴间敏感度,降低设定给予的影响与感测器的飘移。数字运动处理(DMP:DigitalMotionProcessing)引擎可减少复杂的融合演算数据、感测器同步化、姿势感应等的负荷。 运动处理数据库支持 Android、Linux与 Windows内建之运作时间偏差与磁力感测器校正演算技术,免除了客户须另外进行校正的需求。以数位输出的温度传感器以数位输入的同步引脚(Sync pin)支援视频电子影相稳定技术与 GPS可程式控制的中断(interrupt)支援姿势识别、摇摄、画面放大缩小、滚动、快速下降中断、high-G 中断、零动作感...

1、当您付费下载文档后,您只拥有了使用权限,并不意味着购买了版权,文档只能用于自身使用,不得用于其他商业用途(如 [转卖]进行直接盈利或[编辑后售卖]进行间接盈利)。
2、本站所有内容均由合作方或网友上传,本站不对文档的完整性、权威性及其观点立场正确性做任何保证或承诺!文档内容仅供研究参考,付费前请自行鉴别。
3、如文档内容存在违规,或者侵犯商业秘密、侵犯著作权等,请点击“违规举报”。

碎片内容

MPU6000.6050中文资料

确认删除?
VIP
微信客服
  • 扫码咨询
会员Q群
  • 会员专属群点击这里加入QQ群
客服邮箱
回到顶部