电脑桌面
添加小米粒文库到电脑桌面
安装后可以在桌面快捷访问

4.5.4常见夹紧机构

4.5.4常见夹紧机构_第1页
1/10
4.5.4常见夹紧机构_第2页
2/10
4.5.4常见夹紧机构_第3页
3/10
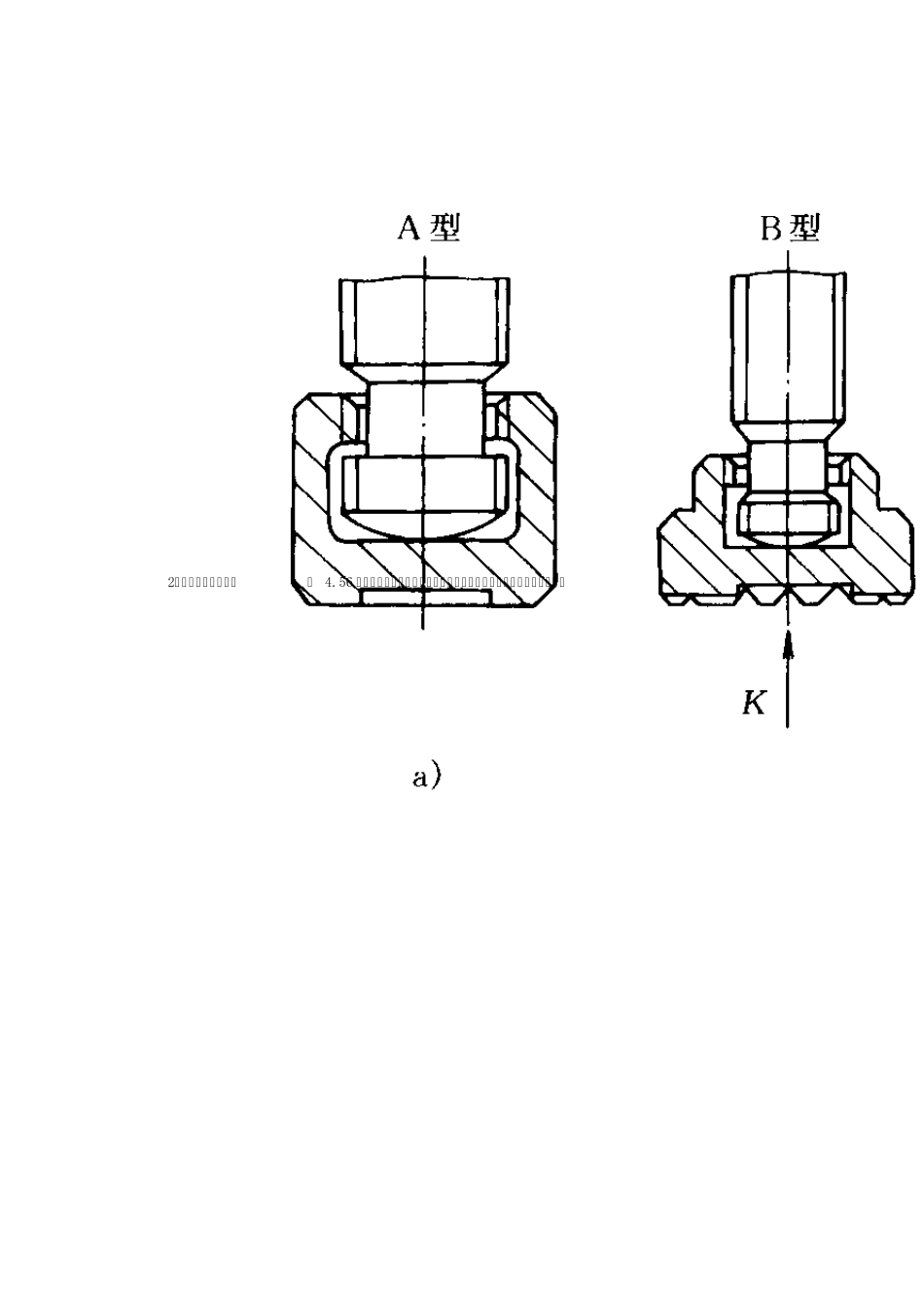
4.5.4 常见夹紧机构 夹紧机构的种类很多,这里只简单介绍其中一些典型装置。 ( 1)斜楔夹紧机构 图 4.52 所示是一些斜楔夹紧实例。斜楔夹紧机构是利用斜面的楔紧作用,将外力传递给工件,完成工件的夹紧。当楔块的升角 α 在 6 0 ~10 0 时具有自锁性能。但自锁的稳定性较差,主要用于夹紧机构中来改变力的方向。 (     2)螺旋夹紧机构 螺旋夹紧机构结构简单、容易制造,而且螺旋相当于一个斜楔缠绕在圆柱体的表面形成的;由于其升角小( 3 0 左右)则螺旋机构具有较好的自锁性能,获得的夹紧力大,是应用最广泛的一种夹紧机构。如图 4.53、 4.56 所示 1)单个螺旋夹紧机构 如图4.53( a)(b)中直接用螺钉或螺母夹紧工件的机构。螺钉头部直接压在工件表面上,可能会损伤工件或带动工件旋转。为克服这一缺点在其头部加装浮动压块,以增加接触面积,减少损伤。如图4.54 所示 夹紧动作慢使这一机构的另一缺点。通常采用一些快速结构,如快卸垫圈、快换螺母、快速机构等,如图 4.55 所示。 2)螺旋压板夹紧机构 图 4.56 是螺旋压板夹紧机构的几种典型结构,其在夹紧机构中广泛的使用。 3)钩形压板夹紧机构 图 4.57 是螺旋钩形压板夹紧机构的一些结构,其特点是结构紧凑,使用灵活、方便。 ( 3)偏心夹紧机构 它是利用偏心间直接或间接夹紧工件的机构。偏心夹紧分圆偏心和曲线偏心两种,其特点是结构简单、操作方便、夹紧迅速,缺点是夹紧力小,夹紧行程短,用于振动小、切削力不大的场合。图 4.58 是几种典型的偏心夹紧机构的实例,图4.59 是圆偏心轮的几种结构。 ( 4)联动夹紧机构 是利用机构的组合完成单件或多件的多点、多向同时夹紧的机构。它可以实现多件加工、减少辅助时间、提高生产效率、减轻工人的劳动强度等。 1) 单件联动夹紧机构 利用夹紧机构实现工件的多向、多点夹紧。如图4.60 所示机构实现二力垂直夹紧。 2)多件联动夹紧机构 一般有平行式多件联动夹紧机构和连续式多件联动夹紧机构。 ① 平行式多件联动夹紧机构 如图4.61 所示,若采用刚性压板夹紧,则因一批工件的外圆直径尺寸的不一致,将导致个别工件夹不紧的现象。在 ( b) 图中增加了浮动装置,既可以同时夹紧工件,又方便操作。在理论上平行式夹紧各工件受到的夹紧力相等,即 ② 连续式多件联动夹紧机构 如图4.62 是多个工件同时铣槽的夹具。这种方式,由于工件的夹紧力是依次...

1、当您付费下载文档后,您只拥有了使用权限,并不意味着购买了版权,文档只能用于自身使用,不得用于其他商业用途(如 [转卖]进行直接盈利或[编辑后售卖]进行间接盈利)。
2、本站所有内容均由合作方或网友上传,本站不对文档的完整性、权威性及其观点立场正确性做任何保证或承诺!文档内容仅供研究参考,付费前请自行鉴别。
3、如文档内容存在违规,或者侵犯商业秘密、侵犯著作权等,请点击“违规举报”。

碎片内容

4.5.4常见夹紧机构

小辰+ 关注
实名认证
内容提供者

出售各种文档和资料

确认删除?
VIP
微信客服
  • 扫码咨询
会员Q群
  • 会员专属群点击这里加入QQ群
客服邮箱
回到顶部