电脑桌面
添加小米粒文库到电脑桌面
安装后可以在桌面快捷访问

JAVA课程设计编写一个记事本程序

JAVA课程设计编写一个记事本程序_第1页
1/14
JAVA课程设计编写一个记事本程序_第2页
2/14
JAVA课程设计编写一个记事本程序_第3页
3/14
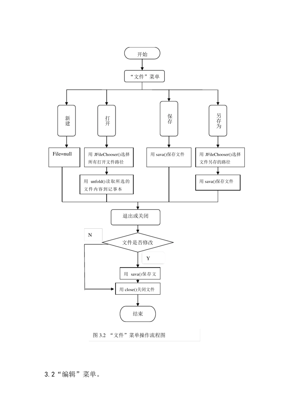
Java 语言程序设计B 报告 题目:编写一个记事本程序 一.要求:用图形用户界面实现。能实现编辑、保存、另存为、查找替换等功能。提示:使用文件输入输出流。 二.课程设计思路。 设计两个类,一个记事本的类(JSB),具有程序的要求和功能再创建一个课设的主类(KESHE),在主类中创建一个JSB 类的对象,就可以直接在编译器中运行程序。 在主界面中设计一个Frame 容器,并在其中加入一个下拉 菜单和一个文本域控件,把该容器设置为GridLayout(1,1)布局。 三.课程设计实现功能结构图。 3 .1 “文件”菜单。 3.2“编辑”菜单。 开始 “文件”菜单 新建 另存为 File=null 打开 用 JFileChooser()选择所有打开文件路径 用 unfold()读取所选的文件内容到记事本 保存 用 sava()保存文件 用 JFileChooser()选择文件另存的路径 用 sava()保存文件 退出或关闭 文件是否修改 用 sava()保存文Y 结束 N 图 3.2 “文件”菜单操作流程图 用 close()关闭文件 开始 “编辑”菜单 剪切 全选 设置修改标 签 ,text.cut() 复制 用 text.copy()实现 粘贴 设置修改标签, text.paste() 删除 设置修改标签, text.replaceRange("", start, end); 查找 替换 用FindAndReplace{} 方 法实现 用text.selectAll()实现 退出或关闭 文件是否修改 用 sava()保存文件并 结束 用 close()关闭文件 Y N 图 3.3 “编辑”菜单操作流程图 四.记事本实现功能代码实现。 4.1.界面设计。 主要代码: f=new Frame(s); p1=new TextArea(""); f.setSize(400,600); f.setBackground(Color.white); f.setVisible(true); menubar=new MenuBar(); menu1=new Menu("文件"); menu2=new Menu("编辑"); item1=new MenuItem("新建"); item2=new MenuItem("打开"); item3=new MenuItem("保存"); item4=new MenuItem("另存为"); item5=new MenuItem("退出"); item6=new MenuItem("全选"); item7=new MenuItem("复制"); item8=new MenuItem("剪切"); item9=new MenuItem("粘贴"); menu1.add(item1); menu1.add(item2); menu1.add(item4); menu1.add(item5); menu2.add(item6); menu2.add(item7); menu2.add(item8); menu2.add(item9); menubar.add(menu1); menubar.add(menu2); f.setMenuBar(menubar); 程序代码实现截图: 4.2 功能代码详细设计。 4.2.1 新建文件。...

1、当您付费下载文档后,您只拥有了使用权限,并不意味着购买了版权,文档只能用于自身使用,不得用于其他商业用途(如 [转卖]进行直接盈利或[编辑后售卖]进行间接盈利)。
2、本站所有内容均由合作方或网友上传,本站不对文档的完整性、权威性及其观点立场正确性做任何保证或承诺!文档内容仅供研究参考,付费前请自行鉴别。
3、如文档内容存在违规,或者侵犯商业秘密、侵犯著作权等,请点击“违规举报”。

碎片内容

JAVA课程设计编写一个记事本程序

确认删除?
VIP
微信客服
  • 扫码咨询
会员Q群
  • 会员专属群点击这里加入QQ群
客服邮箱
回到顶部