电脑桌面
添加小米粒文库到电脑桌面
安装后可以在桌面快捷访问

健浩电器售后服务流程

健浩电器售后服务流程_第1页
1/6
健浩电器售后服务流程_第2页
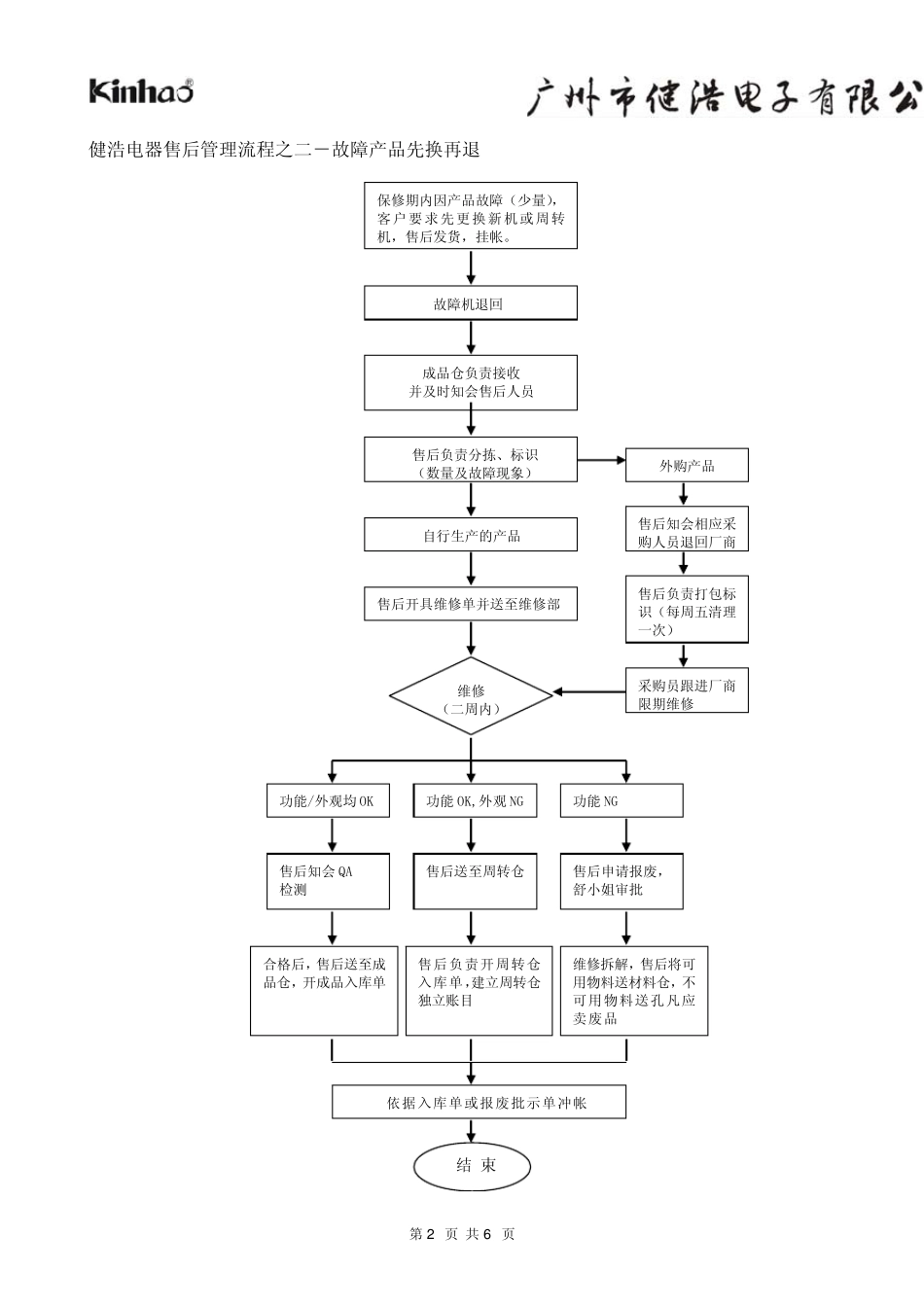
2/6
健浩电器售后服务流程_第3页
3/6
健浩电器售后管理流程之一:故障产品先发回再维修 故障产品发回 成品仓负责接收 并及时知会售后人员 售后负责分拣、标识(数量及故障现象) 第 1 页 共 6 页 质保期内 且无人为损坏 超过质保期 或人为损坏 自行生产的产品外购产品 售后开具维修单并送至维修部维修 (二周内) 成品仓负责打包发货 售后开具发货单并送至成品仓 售后负责跟进确认客户收货情况 结 束 售后负责打包标识(每周五清理一次) 采购员跟进厂商限期维修售后申请报废,同时申请同类周转机或新机更换,舒小姐审批 售后与客户 确认维修费 售后知会相应采购人员退回厂商 Y Y N 健浩电器售后管理流程之二-故障产品先换再退 保修期内因产品故障(少量),客户要求先更换新机或周转机,售后发货,挂帐。 故障机退回 成品仓负责接收 并及时知会售后人员 售后负责分拣、标识 (数量及故障现象) 外购产品 售后知会相应采购人员退回厂商 自行生产的产品 售后负责打包标识(每周五清理一次) 售后开具维修单并送至维修部 采购员跟进厂商限期维修维修 (二周内) 功能/外观均 OK 功能 NG 功能 OK,外观 NG 售后知会QA 检测 售后申请报废,舒小姐审批 售后送至周转仓 合格后,售后送至成品仓,开成品入库单 售后负责开周转仓入库单,建立周转仓独立账目 维修拆解,售后将可用物料送材料仓,不可用物料送孔凡应卖废品 依据入库单或报废批示单冲帐 第 2 页 共 6 页 结 束 健浩电器售后管理流程之三-因质量问题批量退货或更换 保修期内因产品质量(批量),客户要求批量退货或换货 第 3 页 共 6 页 换货 退货 售后负责分拣、标识 (数量及故障现象)结 束 售后跟进, 产品批量退回售后依据入库单知会出纳退款 N 售后开具销售单, 先发货,并挂帐售后负责开周转仓入库单,建立周转仓独立账目。依据周转仓入库单冲抵挂帐 售后开具改机联络单并跟进,开发部出具改机方案,PMC 排产。(一个月内完成) QC/QA 检验 车间拆解。可用物料送材料仓,登记。不可用物料送小孔卖废品 成品入库 售后负责开周转仓入库单,建立周转仓独立账目 暂缓 售后跟进, 产品批量退回售后负责分拣、标识 (数量及故障现象) Y N Y 健浩电器售后管理流程之四-因错发产生退货 客户反馈 产品错发 售后人员申请补发 部门经理确认(挂帐)售后人员跟进 错发产品返还 成品仓负责接收 并及时知会售后人员 审批...

1、当您付费下载文档后,您只拥有了使用权限,并不意味着购买了版权,文档只能用于自身使用,不得用于其他商业用途(如 [转卖]进行直接盈利或[编辑后售卖]进行间接盈利)。
2、本站所有内容均由合作方或网友上传,本站不对文档的完整性、权威性及其观点立场正确性做任何保证或承诺!文档内容仅供研究参考,付费前请自行鉴别。
3、如文档内容存在违规,或者侵犯商业秘密、侵犯著作权等,请点击“违规举报”。

碎片内容

健浩电器售后服务流程

确认删除?
VIP
微信客服
  • 扫码咨询
会员Q群
  • 会员专属群点击这里加入QQ群
客服邮箱
回到顶部