电脑桌面
添加小米粒文库到电脑桌面
安装后可以在桌面快捷访问

实验五带通滤波器(有源无源)

实验五带通滤波器(有源无源)_第1页
1/6
实验五带通滤波器(有源无源)_第2页
2/6
实验五带通滤波器(有源无源)_第3页
3/6
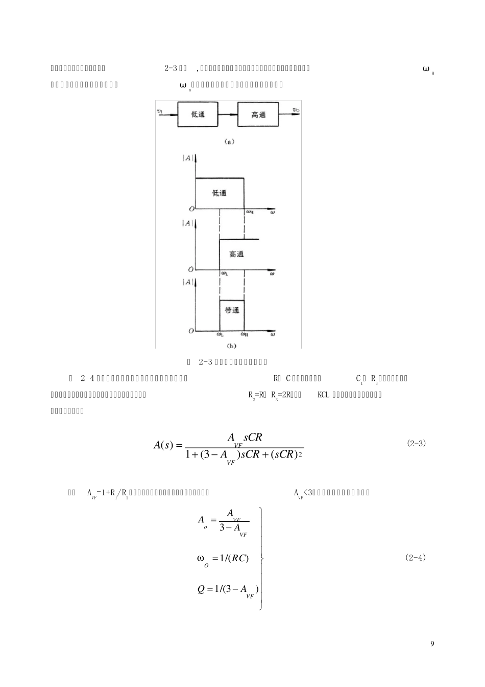
7 实验五 带通滤波器(有源、无源) 一、实验目的 1、熟悉带通滤波器构成及其特性。 2、学会测量带通滤波器幅频特性的方法。 二、实验原理说明 滤波器是一种能使有用频率信号通过而同时抑制(或大为衰减)无用频率信号的电子装置。工程上常用它作信号处理、数据传送和抑制干扰等。这里主要是讨论模拟滤波器。以往这种滤波电路主要采用无源元件R、 L 和C 组成,60 年代以来,集成运放获得了迅速发展,由它和R、 C组成的有源滤波电路,具有不用电感、体积小、重量轻等优点。此外,由于集成运放的开环电压增益和输入阻抗均很高,输出阻抗又低,构成有源滤波电路后还具有一定的电压放大和缓冲作用。但是,集成运放的带宽有限,所以目前有源滤波电路的工作频率难以做得很高,这是它的不足之处。 2.1基本概念及初步定义 滤波电路的一般结构如2— 1 所示。图中的Vi(t)表示输入信号,V0( t)为输出信号。 假设滤波器是一个线形时不变网络,则在复频域内其传递函数(系统函数)为 A( s)=)()(0sVsVi 式中A( s)是滤波电路的电压传递函数,一般为复数。对于频率来说(s=jω )则有 A( jω ) =│A( jω ) │ ejφ (ω ) (2-1) 这里│A( jω )│为传递函数的模,φ (ω )为其相位角。 此外,在滤波电路中关心的另一个量是时延τ ( ω ),它定义为 τ( ω ) = - (2-2) 通常用幅频响应来表征一个滤波电路的特性,欲使信号通过滤波器的失真很小,则相位和时延响应亦需考虑。当相位响应φ (ω )作线性变化,即时延响应τ ( ω )为常数时,输出信号才可能避免失真。 2.2滤波电路的分类 对于幅频响应,通常把能够通过的信号频率范围定义为通带,而把受阻或衰减的信号频率范围称为阻带,通带和阻带的界限频率叫做截止频率。 理想滤波电路在通带内应具有零衰减的幅频响应和线性的相位响应,而在阻带内应具有无限大的幅度衰减(│A( jω )│=0)。通常通带和阻带的相互位置不同,滤波电路通常可分为以 滤波电路 Vi(t) V0(t) 图 2-1 滤波电路的一般结构 )()(sdd实验二 滤波器(有源、无源) 8 下几类: 低通滤波电路 其幅频响应如图3-2a 所示,图中A0 表示低频增益│A│增益的幅值。由图可知,它的功能是通过从零到某一截止角频率ωH 的低频信号,而对大于ωH 的所有频率完全衰减,因此其带宽BW= ωH。 高通滤波电路 其幅频响应如图3-2b 所示,由图可以...

1、当您付费下载文档后,您只拥有了使用权限,并不意味着购买了版权,文档只能用于自身使用,不得用于其他商业用途(如 [转卖]进行直接盈利或[编辑后售卖]进行间接盈利)。
2、本站所有内容均由合作方或网友上传,本站不对文档的完整性、权威性及其观点立场正确性做任何保证或承诺!文档内容仅供研究参考,付费前请自行鉴别。
3、如文档内容存在违规,或者侵犯商业秘密、侵犯著作权等,请点击“违规举报”。

碎片内容

实验五带通滤波器(有源无源)

小辰7+ 关注
实名认证
内容提供者

出售各种资料和文档

确认删除?
VIP
微信客服
  • 扫码咨询
会员Q群
  • 会员专属群点击这里加入QQ群
客服邮箱
回到顶部