电脑桌面
添加小米粒文库到电脑桌面
安装后可以在桌面快捷访问

电磁阀原理与知识

电磁阀原理与知识_第1页
1/14
电磁阀原理与知识_第2页
2/14
电磁阀原理与知识_第3页
3/14
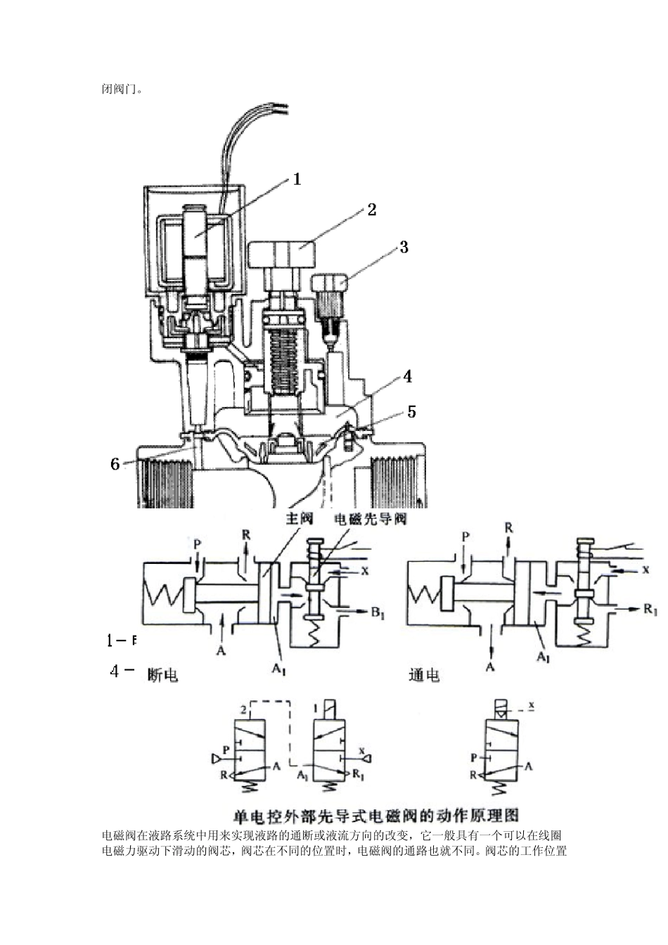
电磁阀知识 电磁阀介绍 电磁阀的工作原理,电磁阀里有密闭的腔,在的不同位置开有通孔,每个孔都通向不同的油管,腔中间是阀,两面是两块电磁铁,哪面的磁铁线圈通电阀体就会被吸引到哪边,通过控制阀体的移动来档住或漏出不同的排油的孔,而进油孔是常开的,液压油就会进入不同的排油管,然后通过油的压力来推动油刚的活塞,活塞又带动活塞杆,活塞竿带动机械装置动。这样通过控制电磁铁的电流就控制了机械运动。 分类: 国内外的电磁阀从原理上分为三大类(即:直动式、分步直动式、先导式),而从阀瓣结构和材料上的不同与原理上的区别又分为六个分支小类(直动膜片结构、分步重片结构、先导膜式结构、直动活塞结构、分步直动活塞结构、先导活塞结构),按照气路数分为2 位2 通,2 位3 通,2 位4 通,2 位5 通。 电磁阀分为单电控和双电控,指的是电磁线圈的个数,单线圈的称为单电控,双线圈的称为双电控,2 位2 通,2 位3 通一般时是单电控(单线圈),2 位4 通,2 位5 通可以是单电控(单线圈),也可以是双电控(双线圈)。 一、按被控制管路内的介质及使用工况的不同可将电磁阀分为:液用电磁阀、气用电磁阀、蒸汽电磁阀、燃气电磁阀、油用电磁阀、消防专用电磁阀、制冷电磁阀、防腐电磁阀、高温电磁阀、高压电磁阀、无压差电磁阀、超低温电磁阀(深冷电磁阀)、真空 电磁阀等 。 二 、按电磁阀内部 结构不同可分为先导式、直动式、复 合 式、反 冲 式、自 保 持 式、脉 冲式、双稳 态 、双向型 等 。 三、按电磁阀的使用材质不同可分为:铸 铁体(灰 口 铸 铁、球 墨 铸 铁)、铜 体(铸 铜 、锻 铜 )、铸 钢 体、全 不锈 钢 体(304、316)、非 金 属 材料(ABS、聚 四 氟 乙 烯 )。 四 、按管道 中介质的压力不同可分为:真空 型 (-0.1~0Mpa)、低压型 (0~0.8Mpa)、中压型 (1.0~2.5Mpa)、高压型 (4.0~6.4Mpa)、超高压型 (10~21Mpa) 五 、按介质温度 不同可分为:常温型 (~)、中温型 (~)、高温型 (~)、超高温型 (~)、低温型 (~)、超低温型 ()。 六、按工作电压不同分为:交 流电压:AC220V 380V 110V 24V; 直流电压:DC24V 12V 6V 220V; 一般常用电压为AC220V DC24V,推荐 用户 尽 量 选 用常用电压、特殊 电压供 货 周 期 较 长 。 七 、按电磁阀的防护 等 级 可分为:防爆 型 、防水 型...

1、当您付费下载文档后,您只拥有了使用权限,并不意味着购买了版权,文档只能用于自身使用,不得用于其他商业用途(如 [转卖]进行直接盈利或[编辑后售卖]进行间接盈利)。
2、本站所有内容均由合作方或网友上传,本站不对文档的完整性、权威性及其观点立场正确性做任何保证或承诺!文档内容仅供研究参考,付费前请自行鉴别。
3、如文档内容存在违规,或者侵犯商业秘密、侵犯著作权等,请点击“违规举报”。

碎片内容

电磁阀原理与知识

小辰6+ 关注
实名认证
内容提供者

出售各种资料和文档

确认删除?
VIP
微信客服
  • 扫码咨询
会员Q群
  • 会员专属群点击这里加入QQ群
客服邮箱
回到顶部