电脑桌面
添加小米粒文库到电脑桌面
安装后可以在桌面快捷访问

直流无刷电机驱动芯片L6229

直流无刷电机驱动芯片L6229_第1页
1/26
直流无刷电机驱动芯片L6229_第2页
2/26
直流无刷电机驱动芯片L6229_第3页
3/26
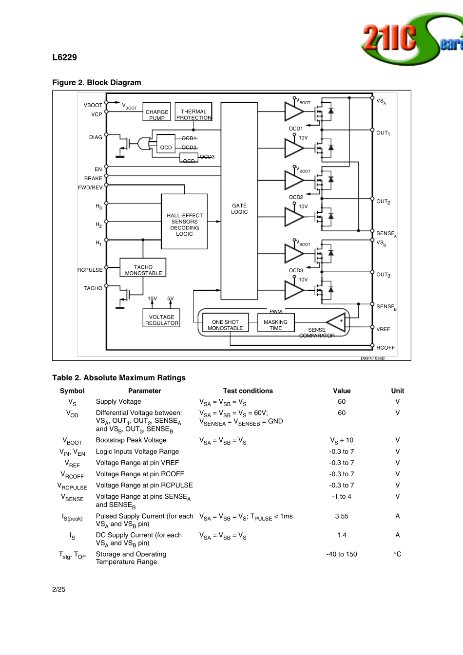
1/25L6229October 20041FEATURES■ OPERATING SUPPLY VOLTAGE FROM 8 TO 52V■ 2.8A OUTPUT PEAK CURRENT (1.4A DC)■ RDS(ON) 0.73Ω TYP. VALUE @ Tj = 25 °C■ OPERATING FREQUENCY UP TO 100KHz■ NON DISSIPATIVE OVERCURRENT DETECTION AND PROTECTION ■ DIAGNOSTIC OUTPUT■ CONSTANT tOFF PWM CURRENT CONTROLLER■ SLOW DECAY SYNCHR. RECTIFICATION■ 60° & 120° HALL EFFECT DECODING LOGIC■ BRAKE FUNCTION■ TACHO OUTPUT FOR SPEED LOOP■ CROSS CONDUCTION PROTECTION■ THERMAL SHUTDOWN■ UNDERVOLTAGE LOCKOUT■ INTEGRATED FAST FREEWEELING DIODES2DESCRIPTIONThe L6229 is a DMOS Fully Integrated Three-PhaseMotor Driver with Overcurrent Protection.Realized in MultiPower-BCD technology, the devicecombines isolated DMOS Power Transistors withCMOS and bipolar circuits on the same chip. The device includes all the circuitry needed to drive athree-phase BLDC motor including: a three-phaseDMOS Bridge, a constant off time PWM Current Con-troller and the decoding logic for single ended hallsensors that generates the required sequence for thepower stage.Available in PowerDIP24 (20+2+2), PowerSO36 andSO24 (20+2+2) packages, the L6229 features a non-dissipative overcurrent protection on the high sidePower MOSFETs and thermal shutdown.DMOS DRIVER FORTHREE-PHASE BRUSHLESS DC MOTORFigure 1. PackageTable 1. Order CodesPart NumberPackageL6229NPowerDIP24L6229PDPowerSO36L6229PDTRPowerSO36 in Tape & ReelL6229DSO24L6229DTRSO24 in Tape & ReelPow erDIP24 (20+2+2)Pow erSO36SO24 (20+2+2)Rev. 3L6229 2/25Figure 2. Block DiagramTable 2. Absolute Maximum RatingsSymbolParameterTest conditionsValueUnitVSSupply VoltageVSA = VSB = VS60VVODDifferential Voltage between:VSA, OUT1, OUT2, SENSEA and VSB, OUT3, SENSEBVSA = VSB = VS = 60V;VSENSEA = VSENSEB = GND60VVBOOTBootstrap Peak VoltageVSA = VSB = V...

1、当您付费下载文档后,您只拥有了使用权限,并不意味着购买了版权,文档只能用于自身使用,不得用于其他商业用途(如 [转卖]进行直接盈利或[编辑后售卖]进行间接盈利)。
2、本站所有内容均由合作方或网友上传,本站不对文档的完整性、权威性及其观点立场正确性做任何保证或承诺!文档内容仅供研究参考,付费前请自行鉴别。
3、如文档内容存在违规,或者侵犯商业秘密、侵犯著作权等,请点击“违规举报”。

碎片内容

直流无刷电机驱动芯片L6229

您可能关注的文档

小辰2+ 关注
实名认证
内容提供者

出售各种资料和文档

确认删除?
VIP
微信客服
  • 扫码咨询
会员Q群
  • 会员专属群点击这里加入QQ群
客服邮箱
回到顶部