电脑桌面
添加小米粒文库到电脑桌面
安装后可以在桌面快捷访问

手术部位标记制度

手术部位标记制度_第1页
1/4
手术部位标记制度_第2页
2/4
手术部位标记制度_第3页
3/4
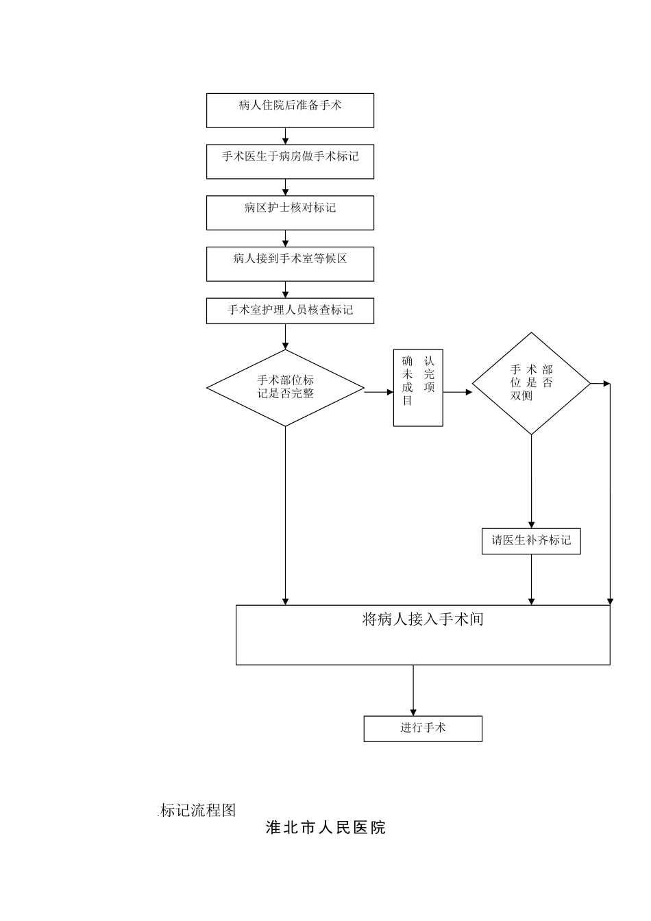
手术部位标记制度一、目的:确保手术部位标记工作有据可依,提升工作品质. 二、权责:1、主刀或一助医生在病人手术部位皮肤做标记,特别是有左右区别的手术部位。2、手术室护士:确认手术部位。3、麻醉人员:再次确认手术部位。 三、标记时间:1、急诊:由外科主刀或一助医生诊断后取得病人及家属同意后做标记。2、住院:手术前一天由主刀医生或一助取得病人及家属同意后做标记。四、标记原则:1、手术部位的标记应尽可能在清醒的状态下进行,并征求病人的同意。当病人拒绝手术部位的标记时,医生应考虑采纳书面的手术部位确认方式。2、凡涉及有双侧(有左右侧之分的肢体、器官、部位等)、多重结构(手指、脚趾、病灶部位)、多平面部位(脊柱)的手术,对手术侧或部位均需做手术部位标记。五、标记方式:1、手术标记方式以记号笔标示手术切开线或以直径 2—3 厘米空心圆标示并注明为“左"、“右”侧。2、患处已有纱布、石膏、牵引器等,统一标记于包扎物上方 4—5cm 处,以空心圆标示且注明为“左”、“右”侧。3、无法标示手术部位,如口腔、眼睛等,以空心圆标注于手术部位旁边。六、手术部位辨识及标记说明:1、医师确认病人之手术部位后,以不掉色油性记号笔标记。2、 病区护士在病人送手术室前核对标记,标记有疑问时,联络医生,完成手术部位标记。3、 病人送至手术室护理站,护理站工作人员确认手术部位:①意识清醒之病人,请病人说出医师欲执行手术的部位,核对手术部位标记是否正确。②未成年人、老年人或意识不清者,请家属说出医师欲行手术的部位,核对手术部位标记是否正确。③标记有疑问时,联络医师至手术室等候区,完成手术部位标记。4、手术室巡回护士再次确认手术部位:5、医师划刀前,手术医师、麻醉人员、手术护理人员一起再次确认手术部位。 七、注意事项:手术标记采纳不掉色的油性记号笔. 八、使用单位:各手术科室、麻醉科、手术室等。手术部位标记流程图淮北市人民医院病人住院后准备手术手术医生于病房做手术标记病区护士核对标记病人接到手术室等候区手术室护理人员核查标记手术部位标记是否完整确认未完成项目手 术 部位 是 否双侧请医生补齐标记将病人接入手术间进行手术手术部位标记确认单科别患者姓名性别年龄病案号诊断手术方式麻醉方式术者手术日期手术部位标记是指在手术前采纳一定方式对手术部位进行标记,以避开病人经过不同医务人员交换后发生手术部位错误的方法.手术标记是病人进手术室前在病区或者急诊完...

1、当您付费下载文档后,您只拥有了使用权限,并不意味着购买了版权,文档只能用于自身使用,不得用于其他商业用途(如 [转卖]进行直接盈利或[编辑后售卖]进行间接盈利)。
2、本站所有内容均由合作方或网友上传,本站不对文档的完整性、权威性及其观点立场正确性做任何保证或承诺!文档内容仅供研究参考,付费前请自行鉴别。
3、如文档内容存在违规,或者侵犯商业秘密、侵犯著作权等,请点击“违规举报”。

碎片内容

手术部位标记制度

办公文档专营+ 关注
实名认证
内容提供者

大量办公文档,欢迎选择

确认删除?
VIP
微信客服
  • 扫码咨询
会员Q群
  • 会员专属群点击这里加入QQ群
客服邮箱
回到顶部