电脑桌面
添加小米粒文库到电脑桌面
安装后可以在桌面快捷访问

有关设置余压阀的探讨

有关设置余压阀的探讨_第1页
1/15
有关设置余压阀的探讨_第2页
2/15
有关设置余压阀的探讨_第3页
3/15
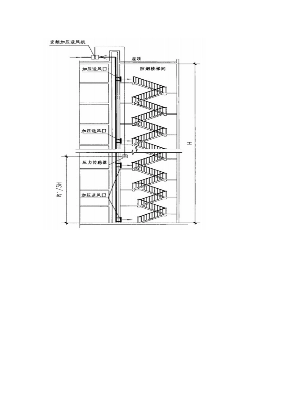
关于设置余压阀的探讨防烟楼梯间与其前室或合用前室作为高层建筑中唯一的火灾逃生通道,对保证人员安全起到至关重要的作用。在防烟楼梯间的机械加压送风系统中,为保证加压送风区域余压值稳定,一般有三种控制形式来实现:变频加压送风机+压力传感器控制系统(图 1);加压送风机出口处设置电动对开多叶调节阀+压力传感器控制系统(图 2);设置余压阀。这三种控制形式中,余压阀在工程设计中使用较多,本文就余压阀的设置位置、余压阀开启压差与余压阀阀板开启面积三个方面进行探讨。图 1:变频加压送风机+压力传感器系统 图 2:电动对开多叶调节阀+压力传感器系统一、余压阀的设置位置余压阀一般安装在需要维持压差的两个空间的隔墙上,通过调节阀阀体上的重块,使之达到设定的压差时打开,最大压差时全开,排出超压的空气后达到平衡,压差降低到最小压差后关闭。图 3:自垂式余压阀(适用于楼梯间)图 4:重锤式余压阀(适用于前室)《高层民用建筑设计防火规》(GB50045-95-2024 年版)第 8.3.7 条规定:“机械加压送风机的全压,除计算最不利环管道压力损失外,尚应有余压,其压力值应符合下列要求:防烟楼梯间为 40 Pa~50 Pa:前室、合用前室、消防电梯前室、封闭避难层(间)为 25 Pa~30Pa。”《人民防空工程设计防火规》(GB50098-2024)第 6.2.1.2 条规定:“防烟楼梯间送风系统的余压值应为 40 Pa~50 Pa,前室或合用前室送风系统的余压值应为 25 Pa~30 Pa。当前室或合用前室不直接送风时,防烟楼梯间的送风量不应小于 25000m3/h,并应在防烟楼梯间和前室或合用前室的墙上设置余压阀。”第 6.2.4 条规定:“避难走道的前室、防烟楼梯间与其前室或合用前室的排风应设置余压阀,并应按本规第 6.2.1 条的规定值整定。”根据国家规规定,在机械加压送风系统中,应保持防烟楼梯间的余压值为 40 Pa~50 Pa、前室或合用前室的余压值为 25 Pa~30 Pa。下面介绍四种情况下的余压阀设置:第一,对于防烟楼梯间与其前室只对楼梯间加压送风的情况,在防烟楼梯间与前室和前室与走道的隔墙上设置余压阀。这样空气通过余压阀从防烟楼梯间进入前室,当前室余压值超过 25 Pa,空气再通过余压阀泄漏到走道,使防烟楼梯间和前室能维持各自的压力值。(如图 5)图 5:前室或合 用前室自然排烟, 防烟楼梯间加压送风第二,对于防烟楼梯间自然排烟而前室或合用前室加压送风的情况,在前室或合用前室与走道之间的隔墙上设置余压...

1、当您付费下载文档后,您只拥有了使用权限,并不意味着购买了版权,文档只能用于自身使用,不得用于其他商业用途(如 [转卖]进行直接盈利或[编辑后售卖]进行间接盈利)。
2、本站所有内容均由合作方或网友上传,本站不对文档的完整性、权威性及其观点立场正确性做任何保证或承诺!文档内容仅供研究参考,付费前请自行鉴别。
3、如文档内容存在违规,或者侵犯商业秘密、侵犯著作权等,请点击“违规举报”。

碎片内容

有关设置余压阀的探讨

文森传品+ 关注
实名认证
内容提供者

一家传播文化教育的小店,资料丰富,随意挑选。

确认删除?
VIP
微信客服
  • 扫码咨询
会员Q群
  • 会员专属群点击这里加入QQ群
客服邮箱
回到顶部