电脑桌面
添加小米粒文库到电脑桌面
安装后可以在桌面快捷访问

车险第三方维修服务实施方案

车险第三方维修服务实施方案_第1页
1/20
车险第三方维修服务实施方案_第2页
2/20
车险第三方维修服务实施方案_第3页
3/20
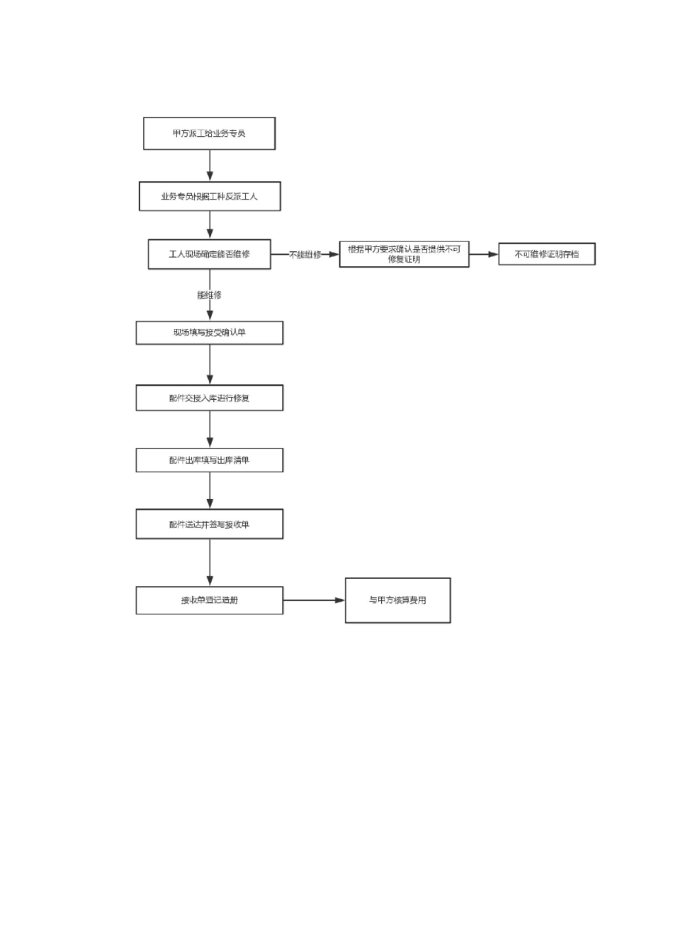
车险第三方维修服务实施方案(一)投标人对招标人提供外修服务时的工作流程及操作规程1、本规章制度称谓甲方指与我司签署委托外修协议的一切主题公司或个体客户,乙 方指 xxxxxxxxxxx 公司。2、机动车外修配件服务内容甲方委托乙方在承诺区域范围内的全部车险报案中涉及配件外 修的案件,由甲方定损员授权,乙方维修员承诺修复并及时送达指定 地点。甲方委托乙方修理配件包含并不限于 a、塑料件类:保险杠、底 盘塑料件、内衬板、仪表台、塑料水箱倒车镜真皮座椅、内饰顶等机 动车塑料件°b、玻璃钢类:后背行李箱盖、大包围等。c、碳纤维类: 水箱大框、水箱边卡子等 d、喷塑和磨砂类:表面和哑光、麻纹、麻 点、光洁、平滑。e、灯具类:灯具内部有灰尘、污垢,灯具表面刮 蹭划痕处理,老化发黄、麻点,灯具外壳断爪,裂缝等。f、铝合金 类:轮毂变形、断裂、脱漆、改色等。机盖、叶子板变形、断裂等。 托架及其他全车铝件变形等。3、机动车外修配件工作流程乙方应根据甲方的工作和管理要求,配合业务受理人员。配件维修之前乙方需确认配件是否符合外修标准,乙方应当天回馈是否能够 维修。经乙方确认可以修复的,应对甲方所需修复的零部件在约定时 间内进行修复及送达。乙方专业技术人员应根据法律规范要求,要求根据工作流程操作,以保证甲方授权维修 配件的质量。乙方根据甲方要求,对于修复好的机动车事故损坏件,需经甲方 工作人员签字确认。同时,乙方建立维修、维护配件的质量技术档案。第六条乙方保证所有修复配件在非二次碰撞的情况下不出现任 何质量问题。若出现维修质量问题,经乙方确认后,保证免费重新修 复,对于无法修复的,乙方负责赔偿同型号新件。乙方提供维修产品 质量保证书,对修复后的配件乙方保修两年。乙方根据甲方通知,在甲方时间要求范围内上门将所修保险维修 件取走并在规定时间内修复好后送还。《不可修复证明》统一由乙方分公司管理,开具前需与甲方沟通。配件维修服务的费用,以甲方提供的结算流程进行结算,乙方需提供维修清单给甲方,甲方经核对无误后进行结款。受理外修配件工作流程图4、关于受理外修配件操作规程外联人员工作期间须穿着工装,保证工装清洁卫生,保持公司形 象。业务接洽及配件接送均用我司贴有公司标志车辆。接人待物注重文明用语,在解答客户业务咨询和专业技术咨询时, 保证实事求是、专业耐心。答应客户回复的承诺,需在时效内予以解 决。经现场确认,我司有能力...

1、当您付费下载文档后,您只拥有了使用权限,并不意味着购买了版权,文档只能用于自身使用,不得用于其他商业用途(如 [转卖]进行直接盈利或[编辑后售卖]进行间接盈利)。
2、本站所有内容均由合作方或网友上传,本站不对文档的完整性、权威性及其观点立场正确性做任何保证或承诺!文档内容仅供研究参考,付费前请自行鉴别。
3、如文档内容存在违规,或者侵犯商业秘密、侵犯著作权等,请点击“违规举报”。

碎片内容

车险第三方维修服务实施方案

文森传品+ 关注
实名认证
内容提供者

一家传播文化教育的小店,资料丰富,随意挑选。

确认删除?
VIP
微信客服
  • 扫码咨询
会员Q群
  • 会员专属群点击这里加入QQ群
客服邮箱
回到顶部