电脑桌面
添加小米粒文库到电脑桌面
安装后可以在桌面快捷访问

高压旋喷桩监理实施细则

高压旋喷桩监理实施细则_第1页
1/9
高压旋喷桩监理实施细则_第2页
2/9
高压旋喷桩监理实施细则_第3页
3/9
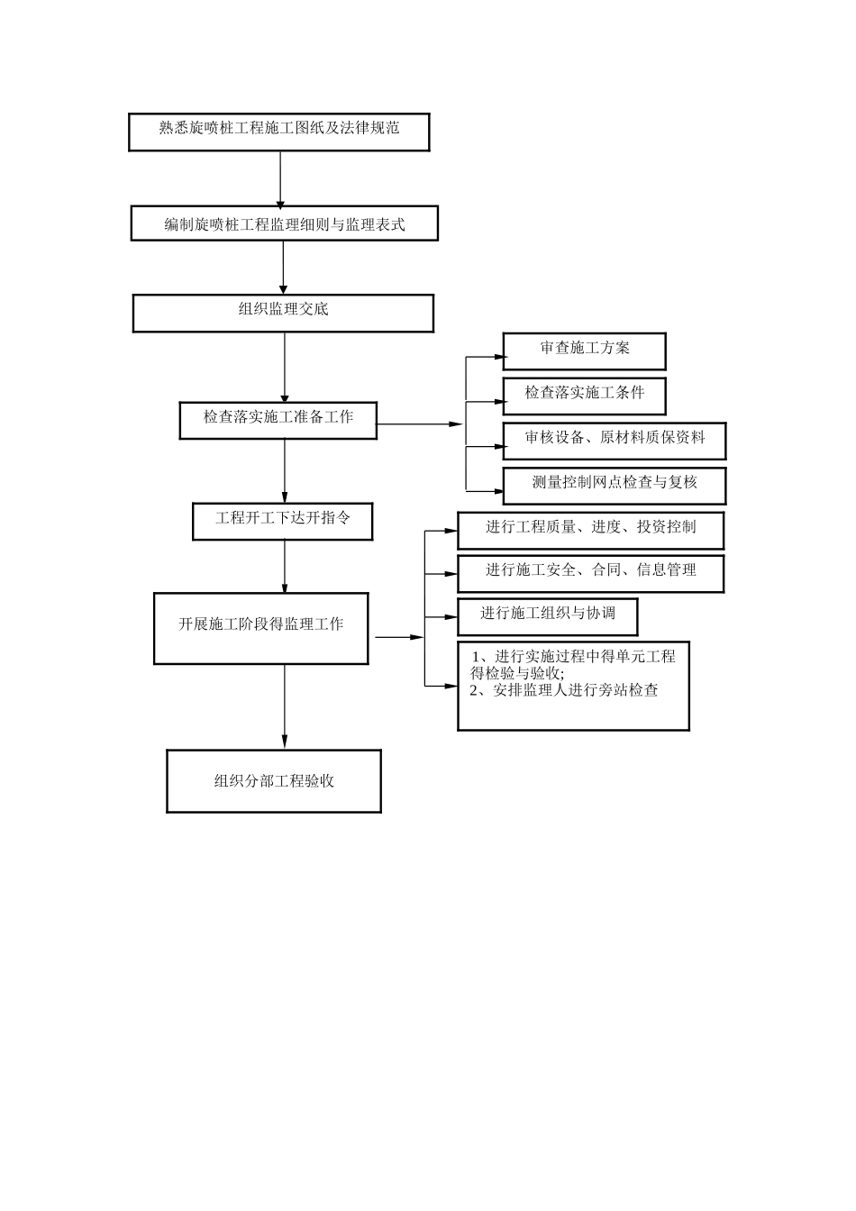
目 录一、工程概况二、编写依据三、监理工作得流程四、监理工作得控制要点及目标值五、监理工作得方法及措施高压旋喷桩监理实施细则一、 工程概况该工程管廊基坑位于李沧区安顺路,起始于 K4+830,终止于 K5+670。管廊基坑坡顶线 周 长 约 2289m, 管 廊 基 底 标 高 约 为 -3 、 3~-1 、 3m 。 管 廊 基 坑 开 挖 深 度 约5、3m~7、3m。二、编写依据 1、施工图纸以及设计交底; 2、《建筑基坑支护技术规程》(JGJ120-2025); 3、《建筑基坑工程检测技术法律规范》(GB50497—2025); 4、《混凝土结构设计法律规范》(GB50010-2025)及《建筑地基基础工程施工质量验收法律规范》(GB50202-2025); 5、《建筑边坡与基坑工程设计文件编制标准》(DBJ/T14-081-2025); 6、《建设工程监理法律规范》(GB50319—2000);7 、本工程按现行国家设计标准进行设计,施工时除应遵守本说明及设计图之外,尚应严格遵守现行国家及工程所在地区得有关规定或规程。三、监理工作得流程编制旋喷桩工程监理细则与监理表式组织监理交底检查落实施工准备工作审查施工方案检查落实施工条件审核设备、原材料质保资料工程开工下达开指令开展施工阶段得监理工作进行工程质量、进度、投资控制进行施工安全、合同、信息管理进行施工组织与协调1、进行实施过程中得单元工程得检验与验收;2、安排监理人进行旁站检查组织分部工程验收测量控制网点检查与复核熟悉旋喷桩工程施工图纸及法律规范四、监理工作得控制要点及目标值高压喷射灌浆检测项目序号项 目允许偏差(mm)检查偏差检测方法范围点数1钻孔孔序符合设计每孔1观察检查,并查钻孔记录2孔位50且≯+d/5每孔1用经纬仪及钢尺测量3△孔深+500-0每孔1测深锤量测4孔隙率1%H每孔1检查钻机导向杆或吊线用尺量5高喷灌浆喷射管下入深度不小于设计每孔1港池量喷射管下入长度6气压±0、1MPa每孔1查输水压力表及高喷记录7气量符合设计每孔1查风量表及高喷记录8△进浆密度符合设计每孔1查瞧自动记录仪或用比重计检查11△浆量不低于设计每孔1查自动记录仪及高喷记录12△浆压±0、1MPa每孔1查高喷记录并观察输浆压力表13孔口回浆密度不小于设计每孔1用比重计检查14△喷射管提升速度符合设计每孔1查瞧自动记录仪或用秒表结合钢尺量升幅16△旋摆速度符合设计每孔1观察检查并查高喷记录17成桩旋喷桩桩径不小于设计每根桩1基坑开挖后,在桩顶设计标高处,以桩中心为原点,水平 45°等角距,用尺量 4 个桩径,取平均值注:d 为...

1、当您付费下载文档后,您只拥有了使用权限,并不意味着购买了版权,文档只能用于自身使用,不得用于其他商业用途(如 [转卖]进行直接盈利或[编辑后售卖]进行间接盈利)。
2、本站所有内容均由合作方或网友上传,本站不对文档的完整性、权威性及其观点立场正确性做任何保证或承诺!文档内容仅供研究参考,付费前请自行鉴别。
3、如文档内容存在违规,或者侵犯商业秘密、侵犯著作权等,请点击“违规举报”。

碎片内容

高压旋喷桩监理实施细则

您可能关注的文档

确认删除?
VIP
微信客服
  • 扫码咨询
会员Q群
  • 会员专属群点击这里加入QQ群
客服邮箱
回到顶部