电脑桌面
添加小米粒文库到电脑桌面
安装后可以在桌面快捷访问

质量安全保证体系

质量安全保证体系_第1页
1/23
质量安全保证体系_第2页
2/23
质量安全保证体系_第3页
3/23
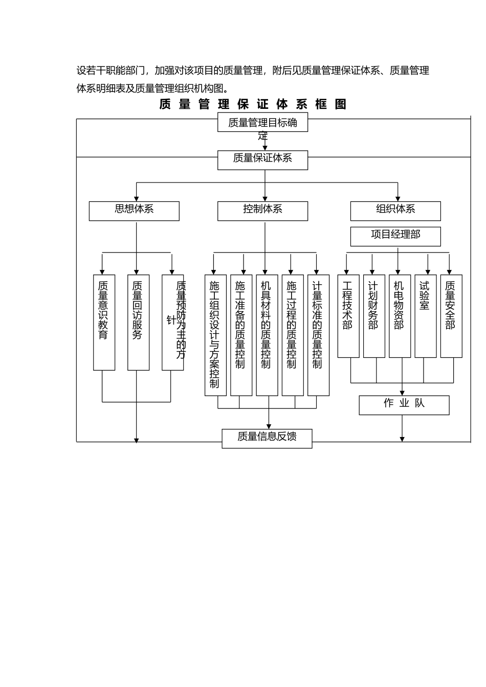
1.8 质量、安全保证体系1.8.1 质量保证体系1.8.1.1 创优规划“视精品为合格,视昨天为落后”,一贯是我们的企业精神。本工程是一项前期准备工作,工期紧、施工难度较大。为高速、优质地建设好该工程,维护我局声誉,展示我局施工技术水平,向业主提供满意的工程,制定该工程创优规划。1.8.1.2 创优目标本标段工程创优目标是:全面满足业主质量目标,创品牌工程。1.8.1.3 创优指标⑴ 工程质量:确保本标工程达到公路工程 “优良”等级。⑵ 安全工作:无死亡重伤事故;无重大机械事故。1.8.1.4 创优措施⑴ 建立创优领导组织,明确创优责任制。① 创优领导组织由项目经理部创优领导小组负责,安全质量监查工程师负责日常事务工作。② 各作业队负责人,为该作业的创优负责人,并把创优工作分解到基层作业班组。③ 各级业务部门要根据责任制及业务范围,对创优活动制定相应措施、实施细则及检查考核标准,并贯彻执行。④ 项目经理部、各作业队都要绘制创优责任制网络图,并进行张贴,以便在实施中接受上级检查和群众监督。⑵ 强化创优宣传教育,做好技术培训工作。人事部门要进行安全质量教育和技术培训工作,坚持持证上岗。并组织专题技术讲座,开展 TQC 基础知识教育。⑶ 全面加强施工技术管理。① 根据创优总目标和年度目标,各部门都要制定季度安全质量实施计划,并按PDCA 循环进度展开。② 制定全面细致的安全质量保证措施,与工艺技术紧密相连,使每项工程有工艺规程和技术保障,有安全质量保证措施。⑷ 加强内部监察检查,严格检查制度。① 项目经理部创优领导小组专职安全质量检查人员,要督促检查各作业队的安质工作,并做到严格把关,协调服务,项目部设质量安全部,人员配备应满足工作需要,各作业队设专职安全质量检查人员。② 各作业队要仔细进行分项工程项目检查验评工作,按每月施工项目进度自检和自评,项目经理部由抽查当月的验评项目总数的 25%,对未达到验标“优良”的分项工程,予以返工,重新验评,直到达到要求为止,如数据不真实,不得验评。③ 各级监察、检查人员对违章指挥、违章施工,不遵守工艺细则,有权提出劝阻和警告或处以罚款,对安全质量做出突出贡献的个人和集体,有权提出建议,请示领导给予适当奖励。④ 所有隐蔽工程未办检查签证的一律不得进行隐蔽。对严重违反安全质量的行为,监察人员有权责令停工,并立即向上一级监察部门报告。⑸ 大力推行运用新技术、新材料、新工艺、新设备,...

1、当您付费下载文档后,您只拥有了使用权限,并不意味着购买了版权,文档只能用于自身使用,不得用于其他商业用途(如 [转卖]进行直接盈利或[编辑后售卖]进行间接盈利)。
2、本站所有内容均由合作方或网友上传,本站不对文档的完整性、权威性及其观点立场正确性做任何保证或承诺!文档内容仅供研究参考,付费前请自行鉴别。
3、如文档内容存在违规,或者侵犯商业秘密、侵犯著作权等,请点击“违规举报”。

碎片内容

质量安全保证体系

您可能关注的文档

确认删除?
VIP
微信客服
  • 扫码咨询
会员Q群
  • 会员专属群点击这里加入QQ群
客服邮箱
回到顶部