电脑桌面
添加小米粒文库到电脑桌面
安装后可以在桌面快捷访问

企业员工奖惩管理流程VIP免费

企业员工奖惩管理流程_第1页
1/7
企业员工奖惩管理流程_第2页
2/7
企业员工奖惩管理流程_第3页
3/7
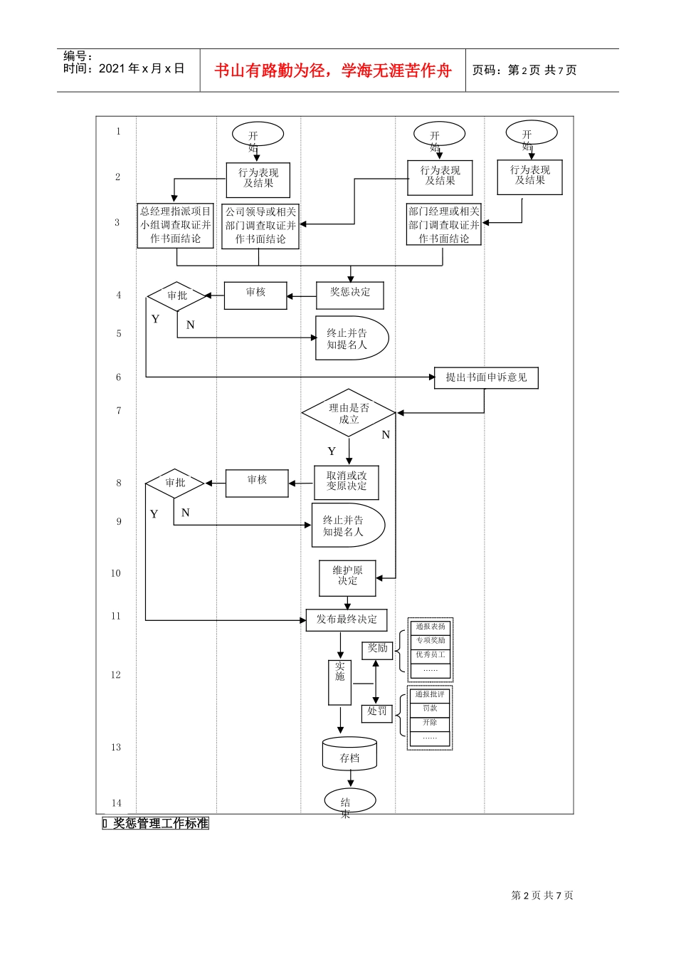
第1页共7页编号:时间:2021年x月x日书山有路勤为径,学海无涯苦作舟页码:第1页共7页当前文文件修改密码:8362839更多数据请访问精品数据网(.....)奖惩管理工作流程图单位名称行政及人力资源部流程名称奖惩管理工作流程层次2任务概要员工奖惩管理工作单位总经理分管领导行政及人力资源部各职能部门经理员工节点ABCDE第2页共7页编号:时间:2021年x月x日书山有路勤为径,学海无涯苦作舟页码:第2页共7页奖惩管理工作标准奖惩决定结束123456789行为表现及结果存档N提出书面申诉意见1011审批理由是否成立Y开始行为表现及结果开始行为表现及结果开始总经理指派项目小组调查取证并作书面结论公司领导或相关部门调查取证并作书面结论部门经理或相关部门调查取证并作书面结论终止并告知提名人取消或改变原决定审批终止并告知提名人发布最终决定实施奖励处罚通报表扬优秀员工……专项奖励NYNY维护原决定通报批评开除……罚款121314审核审核第3页共7页编号:时间:2021年x月x日书山有路勤为径,学海无涯苦作舟页码:第3页共7页任务名称节点任务程序、重点及标准时限相关资料提出奖励惩罚程序《奖惩管理规定》员工平时的表现平时直接上级根据员工平时的表现,向行政及人力资源部提出对员工进行奖励和惩罚随时行政及人力资源部对得出的意见进行审核1个工作日行政及人力资源部将审核的结果送交公司领导审批1个工作日重点提出奖励惩罚标准真实、可靠实施奖励惩罚程序《奖罚通知单》行政及人力资源部根据审批结果,通知员工本人C11行政及人力资源部公布奖励或惩罚结果C12行政及人力资源根据结果实施奖罚C13将奖励或惩罚的结果存入员工档案重点实施奖励或惩罚标准准确公正第4页共7页编号:时间:2021年x月x日书山有路勤为径,学海无涯苦作舟页码:第4页共7页奖惩管理制度节选公司《人力资源管理制度》第五章职场纪律第二节奖惩管理1.奖惩原则1.1为了维护公司正常的工作秩序,使全公司员工尽心尽责,自觉遵守公司的各项规章制度和岗位工作标准,实现行为的规范,保证生产经营过程中的各个环节有效运行。1.2坚持鼓励、沟通引导同行政管理、经济奖惩相结合,实行奖惩严明原则。1.3本规定是公司各项具体考核奖惩细则/措施制订的依据。各直线部门据此制订的考核奖惩细则/措施须报公司审批后实施。2.奖励3.1奖励形式3.1.1考核奖励:月度考核、年度考核。3.1.2特殊奖励:表彰、加薪/晋级、奖励性旅游、奖励培训、奖励性休假。3.2考核奖励对日常或年度工作表现突出的员工,直线部门负责人可在月度或年度绩效考核时提出奖励建议。3.3对符合下列条件之一的情形,公司将按不同形式给予特殊奖励。3.3.1获得政府或行业专业奖项,为公司争得重大荣誉者(市级以上);3.3.2对公司业务发展有重大贡献者;3.3.3个人业务、经营业绩完成情况优秀者;3.3.4对突发事件、事故妥善处理,防止或避免了可能发生的事故或损害公司事件;3.3.5向公司提出合理化建议,经采纳有实际成效者;3.3.6为公司节约大量成本支出或挽回重大经济损失者;3.3.7顾全大局,主动维护公司利益,具有高度的团队协作精神者;3.3.8培养和举荐人才方面成绩显著者。3.4奖励操作程序3.4.1考核奖励由直线部门负责人根据月度/年度考核结果提出奖励标准,并填写《员工月度/年度考核评价表》,报公司批准执行。3.4.2特殊奖励可由公司直接提名/评选或由直线部门负责人提出奖励建议,并填写《员工奖励审批表》,报公司批准后给予嘉奖,并获得相应奖励。4.违纪处分4.1违纪处分种类4.1.1轻微行为过失:口头警告或处以200元以下的经济处罚;第5页共7页编号:时间:2021年x月x日书山有路勤为径,学海无涯苦作舟页码:第5页共7页4.1.2行为过失:书面警告,同时给予50元—1000元经济处罚;4.1.3重大行为过失:解除劳动合同。4.2违纪行为处罚形式4.2.1轻微行为过失-----提出口头警告或处以200元以下的经济处罚;4.2.2一次行为过失或二次轻微行为过失---提出书面警告,同时处以50元—1000元的经济处罚;4.2.3一次重大行为过失或二次行为过失(不限于同一方面的问题)----解除劳动合同。4.3有下列行为之一(以下并未列尽轻微行为过失的例子,但不表示其它的不...

1、当您付费下载文档后,您只拥有了使用权限,并不意味着购买了版权,文档只能用于自身使用,不得用于其他商业用途(如 [转卖]进行直接盈利或[编辑后售卖]进行间接盈利)。
2、本站所有内容均由合作方或网友上传,本站不对文档的完整性、权威性及其观点立场正确性做任何保证或承诺!文档内容仅供研究参考,付费前请自行鉴别。
3、如文档内容存在违规,或者侵犯商业秘密、侵犯著作权等,请点击“违规举报”。

碎片内容

企业员工奖惩管理流程

您可能关注的文档

中小学文库+ 关注
实名认证
内容提供者

精品资料应用尽有

确认删除?
VIP
微信客服
  • 扫码咨询
会员Q群
  • 会员专属群点击这里加入QQ群
客服邮箱
回到顶部