电脑桌面
添加小米粒文库到电脑桌面
安装后可以在桌面快捷访问

74LS00逻辑功能测试VIP免费

74LS00逻辑功能测试_第1页
1/10
74LS00逻辑功能测试_第2页
2/10
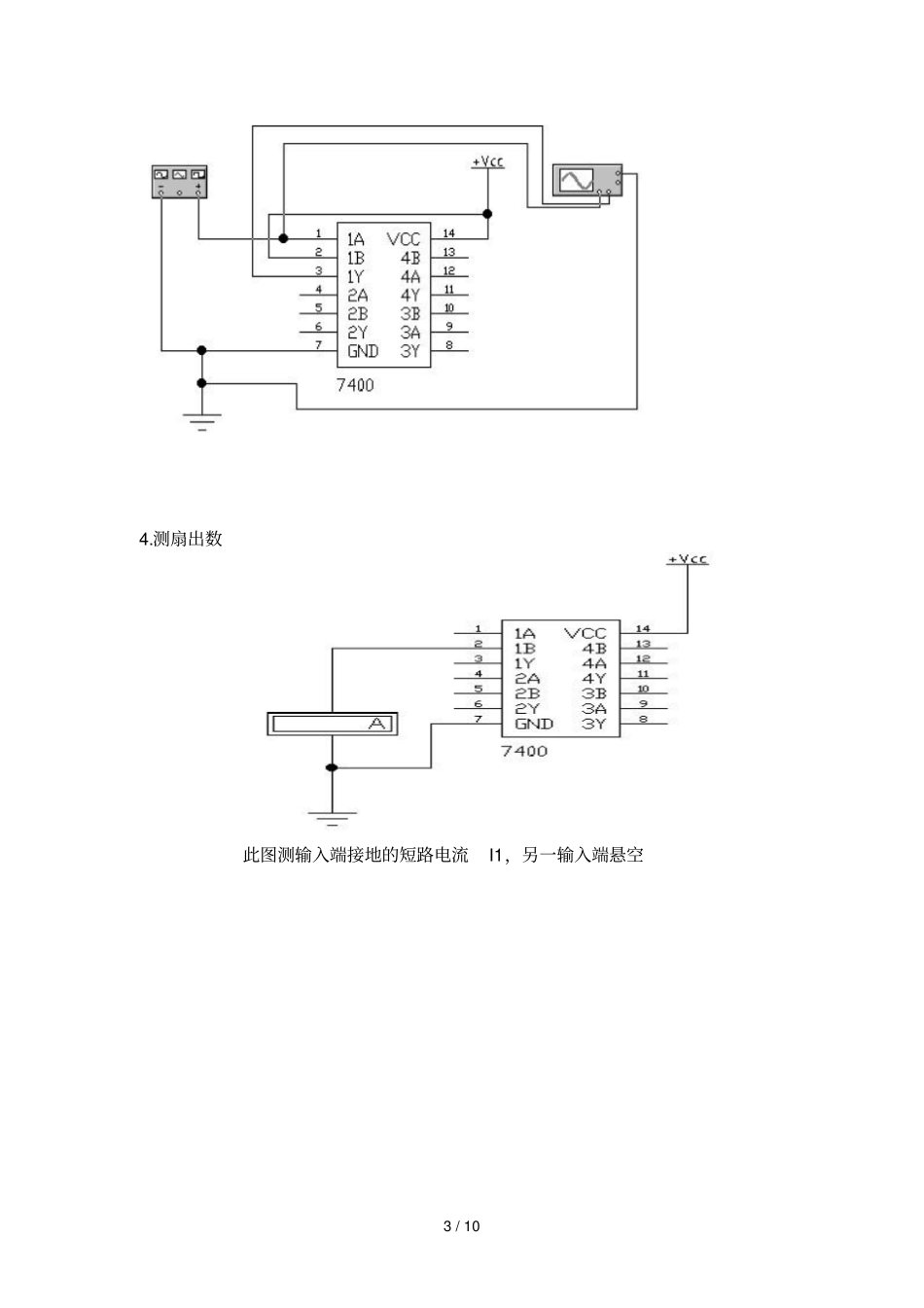
74LS00逻辑功能测试_第3页
3/10
1/10实验三74LS00逻辑功能的测试一、实验准备(老师指导)1.学会正确放置和取出74LS00如果74LS00使用不正确,很容易损坏,还容易误伤人,特别是管脚,所以使用过程中必须按老师要求。使用前要将管脚用镊子捏一下,竖向、横向都要对齐,插入电路板时要将其中一排管脚先插入,随后再插入另外一排,如果插入很容易,则说明插入方法正确,否则错误;取出时不能用手直接取,那样容易伤到手指,必须用镊子取出。插入和取出方法正确后将坏的74LS00放入实验盒中,向老师要新的74LS00,便可以进行实验了,实验后要将未损坏的归还给老师。2.认识74LS00的管脚记住74LS00的管脚分配情况,便于实验进行:1、2输入,3输出;4、5输入,6输出;7接地;9、10输入,8输出;11、12输入,13输出;14接电源。3.扇出数的定义如下面电路图中所示4.示波器中信号的合并一般示波器中波形的显示为信号与实间的关系,即为X—T(Y—T)关系图,如果要将示波器上两信号合并,则将显示选项改为X—Y。二、实验内容1.测试74LS00的逻辑功能并测输入输出电压;2.测试74LS00的传输特性,接入5V电源,用电位器改变输入电压,测试多组输入输出电压,并画出特性曲线;3.其一输入端接入函数发生器的三角波(最小值为0V,最大值为5V),将输入输出信号显示在示波器上,并将两信号合并;4.测扇出数。三、实验电路1.测7400的逻辑功能并测输入输出电压2/102.测试74LS00的传输特性,接入5V电源,用电位器改变输入电压,测试多组输入输出电压,并画出特性曲线;3.信号合成3.其一输入端接入函数发生器的三角波(最小值为0V,最大值为5V),将输入输出信号显示在示波器上,并将两信号合并;3/104.测扇出数此图测输入端接地的短路电流I1,另一输入端悬空4/10调节电位器使电压表电压为0.4V不动电位器的位置,测此时电路中电流I2则扇出数为n=I2/I1四、实验结果1.7400的逻辑功能测试输入端接逻辑信号,按下灯亮表示输入信号为高电平1,未按下灯不亮表示输入信号为低电平0,输出接在发光二级管上,发光为黄色表示输出信号为低电平,为红色表示输出信号为高电平5/10输入的逻辑信号为11,输出信号灯不亮(实验中为发光二极管,显示为黄色),表示输出为低电平,即为0。输入端1、2的输入电压为3.98V、3.98V,输出电压为0.19V。输入的逻辑信号为01,输出信号灯亮(实验中为发光二极管,显示为红色),表示输出为高电平,即为1。输入端1、2的输入电压为0V、3.98V,输出电压为3.45V。6/10输入的逻辑信号为10,输出信号灯亮(实验中为发光二极管,显示为红色),表示输出为高电平,即为1。输入端1、2的输入电压为3.98V、0V,输出电压为3.45V。输入的逻辑信号为00,输出信号灯亮(实验中为发光二极管,显示为红色),表示输出为高电平,即为1。输入端1、2的输入电压为0V、0V,输出电压为3.45V。2.7400传输特性的测试控制电位器,使输入电压变化,多测量几组数据,注意突变点数值测量。测试数据如下:输入(V)0.521.011.251.411.421.431.441.451.501.602.504.00输出(V)3.443.433.242.871.630.710.490.420.270.190.180.18画出特性曲线:7/103.信号合成函数信号发生器输入电路中的为三角波,最大值为5V,调节频率使波形显示便于观察,注意输入输出的波形位置会影响合成波形的显示,故需要多次调节以便合成波形在屏幕的合适位置,便于观察,便于测量。先调出最大值为5V的三角波后才能接入7400,要不然超过5V后会导致7400损坏。未合成前输入输出波形如下:由图形看出,对于7400来说,并不是5V三角波的所有信号都有效,只有在一定电压范围内,才有效。0InOut0.501.001.502.002.503.003.504.000.501.001.502.002.503.003.504.008/10合成后波形如下:9/10波形中边界粗大模糊,是由于输出信号的干扰,因此应将输出端悬空。相关参数如下:三角波:周期400μs,频率2.500KHZ,占空比49.0%,正脉冲宽度196.0μs输出:周期400μs,频率2.500KHZ,占空比24.0%,正脉冲宽度96.0μs在示波器中选择光标便可查看所有点的详细信息,如上面波形所示。4.扇出数的测量I1=0.27mA,I2=12.56mA,故扇出数n=I2/I1=12.56/0.27五、实验日志实验过程中遇到的问题及解决办法:1....

1、当您付费下载文档后,您只拥有了使用权限,并不意味着购买了版权,文档只能用于自身使用,不得用于其他商业用途(如 [转卖]进行直接盈利或[编辑后售卖]进行间接盈利)。
2、本站所有内容均由合作方或网友上传,本站不对文档的完整性、权威性及其观点立场正确性做任何保证或承诺!文档内容仅供研究参考,付费前请自行鉴别。
3、如文档内容存在违规,或者侵犯商业秘密、侵犯著作权等,请点击“违规举报”。

碎片内容

74LS00逻辑功能测试

您可能关注的文档

确认删除?
VIP
微信客服
  • 扫码咨询
会员Q群
  • 会员专属群点击这里加入QQ群
客服邮箱
回到顶部