电脑桌面
添加小米粒文库到电脑桌面
安装后可以在桌面快捷访问

急诊急救流程教材VIP免费

急诊急救流程教材_第1页
1/30
急诊急救流程教材_第2页
2/30
急诊急救流程教材_第3页
3/30
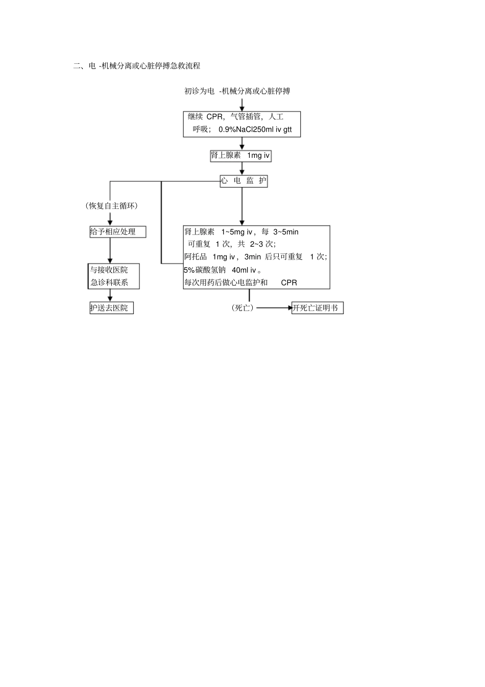
一、诊断治疗总急救流程伤病员判断有无意识(意识存在)(意识丧失)开放气道判断有无呼吸(有呼吸)(无呼吸)立即人工呼吸2次判断有无颈动脉搏动病史、体检、(有搏动)(无搏动)心电图检查立即CPR初步诊断为何种症状再进入相应项目处理心电图(直线)(无搏动心电活动)(心室颤动)二、电-机械分离或心脏停搏急救流程初诊为电-机械分离或心脏停搏继续CPR,气管插管,人工呼吸;0.9%NaCl250mlivgtt肾上腺素1mgiv心电监护(恢复自主循环)给予相应处理肾上腺素1~5mgiv,每3~5min可重复1次,共2~3次;阿托品1mgiv,3min后只可重复1次;与接收医院5%碳酸氢钠40mliv。急诊科联系每次用药后做心电监护和CPR护送去医院(死亡)开死亡证明书三、心室颤动急救流程初诊为心室颤动(无除颤器)(有除颤器)胸前区叩击连续心脏除颤3次,分别用200、300、360J(无脉搏心电活动、心脏停搏、心室颤动)(恢复自主循环)继续CPR,气管插管,人工呼吸;按相应项0.9%NaCl250mlivgtt,开放静脉目处理通道肾上腺素1mgiv心电监护,心脏除颤3次(200、300、360J)肾上腺素1~5mgiv,每3~5min重复1次,共2~3次;利多卡因50mliv,3~5min后可重复1次;25%硫酸镁4mliv,可重复1次;5%碳酸氢钠40mliv。每次用药后做心电监护、心脏除颤(用300J或360J)及CPR(死亡)开死亡证明书四、复苏后监护急救流程恢复自主循环吸氧6~8L/min,保持气道通畅,维持有效人工呼吸;头部冷敷;头部抬高30°,不侧弯选用:多巴胺40mg加入补液中,ivgtt;去甲肾上腺素1mg加入补液中,ivgtt;洛贝林3~15mgiv;尼可刹米(可拉明)0.375~1.77g,iv;纳洛酮0.4~0.8mgiv;利多卡因50mgiv;25%硫酸镁4mliv;阿托品0.5mgiv;地塞米松10mgiv。(心脏停搏)(维持自主循环)进入相应程序与接收医院急诊科联系护送去医院五、缓慢性心律失常急救流程初诊为缓慢性心律失常(心率<50次/min)(无明显异常症状、体征)(有明显异常症状、体征)氧气吸入氧气吸入;0.9%NaCl250mlivgtt阿托品1mgiv,3min后可重复1次心电图检查(好转)(无变化)多巴胺40mgivgtt(收缩压<12kPa时)异丙肾上腺素1mgivgtt心电图检查(好转)(不存在Ⅱ度Ⅱ型或Ⅲ度房(存在Ⅱ度Ⅱ型或Ⅲ度房室传导阻滞)室传导阻滞、意识不清)体外心脏起搏护送去医院与接收医院急诊科联系六、快速性心律失常急救流程初诊为快速性心律失常(心率>120次/min)(无明显异常症状、体征)(有明显异常症状、体征)氧气吸入氧气吸入;0.9%NaCl250mlivgtt(窦速)(房颤、房扑)(室上速)(宽QRS)(室速)刺激迷走神经利多卡因50mgiv,3min后可重复1次(未昏迷)(昏迷)心电图检查(收缩压<10.6kPa)25%葡萄糖溶液20ml加普罗帕酮35~70mgiv选用:心电图检查25%葡萄糖溶液20ml加维拉帕米5mgiv(当收缩压>13.3kPa时);(恶化、昏迷)(好转或无变化)25%葡萄糖溶液20ml加毛花(心率>150次/min)苷C0.4mgiv同步复律与接收医院急诊科联系护送去医院七、休克急救流程初诊为休克置患者于卧位或头和躯干抬高10°,下肢抬高20°体位;氧气吸入;0.9%NaCl250mlivgtt。(感染性)(神经性)(低血容量性)(过敏性)(心源性)多巴胺40mg0.9%NaCl肾上腺素1mg多巴胺40mg加入补液中250mlivgttiv,地塞米松加入补液中(快速)1mgiv选用:山莨菪碱10mg加入硝酸甘油5mg补液中;加入补液中去甲肾上腺素1mg加入补液中与接收医院急诊科联系护送去医院八、心绞痛、心肌梗死急救流程初诊为心绞痛、心肌梗死(心绞痛)(心肌梗死)氧气吸入氧气吸入0.9%NaCl250mlivgtt选用:选用:硝酸甘油片0.6mg舌下含服硝酸甘油片0.6mg舌下含服麝香保心丸2粒舌下含服麝香保心丸2粒舌下含服吗啡2~5mgiv硝酸甘油5mgivgtt(当收缩压>13.3kPa时)尿激酶50万uiv有并发症(如心源性休克心电图检查的心律失常、心力衰竭等),按相应规范处理与接收医院急诊科联系护送去医院九、急性左侧心力衰竭急救流程初诊为急性左侧心力衰竭(急性肺水肿)氧气吸入;置患者于坐位,双下肢下垂;0.9%NaCl250mlivgtt呋塞米40mgiv,吗啡1~3mgiv,硝酸甘油0.3mg舌下含服硝酸甘油5mg加入补液中(收缩压>13.3kPa时)多巴胺40mg加入补液中(收缩压<13.3kPa时)多巴酚丁...

1、当您付费下载文档后,您只拥有了使用权限,并不意味着购买了版权,文档只能用于自身使用,不得用于其他商业用途(如 [转卖]进行直接盈利或[编辑后售卖]进行间接盈利)。
2、本站所有内容均由合作方或网友上传,本站不对文档的完整性、权威性及其观点立场正确性做任何保证或承诺!文档内容仅供研究参考,付费前请自行鉴别。
3、如文档内容存在违规,或者侵犯商业秘密、侵犯著作权等,请点击“违规举报”。

碎片内容

急诊急救流程教材

文库当当响+ 关注
实名认证
内容提供者

该用户很懒,什么也没介绍

确认删除?
VIP
微信客服
  • 扫码咨询
会员Q群
  • 会员专属群点击这里加入QQ群
客服邮箱
回到顶部