电脑桌面
添加小米粒文库到电脑桌面
安装后可以在桌面快捷访问

屋面工程监理实施细则VIP免费

屋面工程监理实施细则_第1页
1/9
屋面工程监理实施细则_第2页
2/9
屋面工程监理实施细则_第3页
3/9
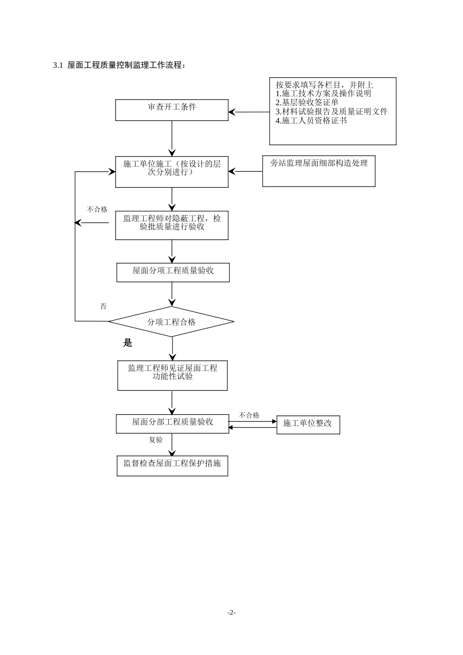
目录1.专业工程概况与特点2.执行标准、法规3.监理工作流程4.监理工作控制要点及目标值5.监理工作的方法和措施屋面工程监理实施细则1专业工程概况与特点本工程屋面防水采用两道防水设防,屋面防水细部防水构造增设附加层。具体做法依次为:钢筋砼屋面板,表面清扫干净;20厚(最薄处)C20陶粒砼2%找坡;20后1:2.5水泥砂浆找平;2厚聚氨酯防水涂料(上翻400);3厚自粘型防水卷材(上翻400);40厚挤塑聚苯板;40厚C30细石砼,分隔缝纵横间距不大于6米,缝宽20,缝内嵌聚氨酯密封胶,4@200钢筋网。2执行标准、法规1屋面工程质量验收规范GB50207-20022建筑工程施工质量验收统一标准GB50300-20013建设工程监理规范GB50319-20003监理工作流程-1-3.1屋面工程质量控制监理工作流程:否是不合格复验-2-审查开工条件施工单位施工(按设计的层次分别进行)按要求填写各栏目,并附上1.施工技术方案及操作说明2.基层验收签证单3.材料试验报告及质量证明文件4.施工人员资格证书屋面分项工程质量验收屋面分部工程质量验收分项工程合格监理工程师对隐蔽工程,检验批质量进行验收旁站监理屋面细部构造处理不合格监理工程师见证屋面工程功能性试验监督检查屋面工程保护措施施工单位整改3.2监理进度控制工作流程如下:确定工程总工期目标施工单位在开工前提交施工组织设计及施工进度计划申报否监理工程师审核可实施过程分阶段提交详细计划和变更计划申报否监理工程师审核责成施工单位采取措施可实施否监理工程师对实际值与计划值的比较可按计划执行3.3监理投资控制工作流程如下:工程项目施工合同施工单位报月支付申请监理工程师复核确认计量部位确认计量项目合格确定工程量总监审核不同意同意总监签署月支付证书业主审定业主签字支付施工单位4监理工作的控制要点及目标值:4.1卷材防水屋面找坡层(1)屋面(含天沟、檐沟)找坡层的排水坡度、厚度,必须符合设计要求。-3-(2)找坡层分格缝的位置和间距应符合设计要求。(3)找坡层表面平整度的允许偏差为5mm。4.2卷材防水屋面找平层(1)屋面(含天沟、檐沟)找平层的厚度,必须符合设计要求。(2)找平层分格缝的位置和间距应符合设计要求。(3)找平层表面平整度的允许偏差为5mm。4.3卷材防水屋面保温层(1)板状保温材料的铺设应紧贴基层,铺平垫稳,拼缝严密,找坡正确。(2)保温层厚度的允许偏差:板状保温材料为±5%,且不得大于4mm。4.4卷材防水屋面卷材防水层(1)卷材防水层不得有渗漏或积水现象。(2)卷材防水层在天沟、檐沟、檐口、水落口、泛水、变形缝和伸出屋面管道的防水构造,必须符合设计要求。(3)卷材防水层的搭接缝应粘结牢固,密封严密,不得有皱折、翘边和鼓泡等缺陷;防水层的收头应与基层粘结并固定牢固,缝口封严,不得翘边。(4)刚性保护层的分格缝留置应符合设计要求。(5)排汽屋面的排气道应纵横贯通,不得堵塞。排汽管应安装牢固,位置正确,封闭严密。(6)卷材的铺贴方向应正确,卷材搭接宽度的允许偏差为-10mm。4.4细部构造(1)天沟、檐沟的排水坡度,必须符合设计要求。(2)天沟、檐沟、檐口、水落口、泛水、变形缝和伸出屋面管道的防水构造,必须符合设计要求。5监理工作的方法和措施5.1监理质量控制工作方法监理工程师应采用如下的方法和手段开展对屋面工程的质量监理工作:(1)旁站监督在关键部位或关键工序施工过程中,如屋面细部构造处理等,由监理人员在现场进行旁站监督。(2)见证由监理人员现场监督某项功能性试验完成情况的活动。(如通球和渗漏试验)(3)平行检验项目监理部利用一定的检查或检验手段,在施工单位自检的基础上,对重要的分项工程或对质量有怀疑的材料、结构受业主委托,按照一定的比例独立进行检查或检验的活动。(如防水材料性能复试)(4)巡视监理人员对正在施工的部位或工序在现场进行的定期或不定期的监督活动。(5)指令文件监理工程师适用监理合同赋予指令控制权对施工提出书面的指示和要求。(6)支付控制手段质量监理以计量支付控制权为保障手段。(7)监理通知监理工程师利用口头或书面通知,对任何事项发出指示,并督促施工单位严格遵守和执行监理工程师的指示。...

1、当您付费下载文档后,您只拥有了使用权限,并不意味着购买了版权,文档只能用于自身使用,不得用于其他商业用途(如 [转卖]进行直接盈利或[编辑后售卖]进行间接盈利)。
2、本站所有内容均由合作方或网友上传,本站不对文档的完整性、权威性及其观点立场正确性做任何保证或承诺!文档内容仅供研究参考,付费前请自行鉴别。
3、如文档内容存在违规,或者侵犯商业秘密、侵犯著作权等,请点击“违规举报”。

碎片内容

屋面工程监理实施细则

您可能关注的文档

确认删除?
VIP
微信客服
  • 扫码咨询
会员Q群
  • 会员专属群点击这里加入QQ群
客服邮箱
回到顶部