电脑桌面
添加小米粒文库到电脑桌面
安装后可以在桌面快捷访问

20240408113027-仪器设备紧急调配制度及流程VIP免费

20240408113027-仪器设备紧急调配制度及流程_第1页
1/4
20240408113027-仪器设备紧急调配制度及流程_第2页
2/4
20240408113027-仪器设备紧急调配制度及流程_第3页
3/4
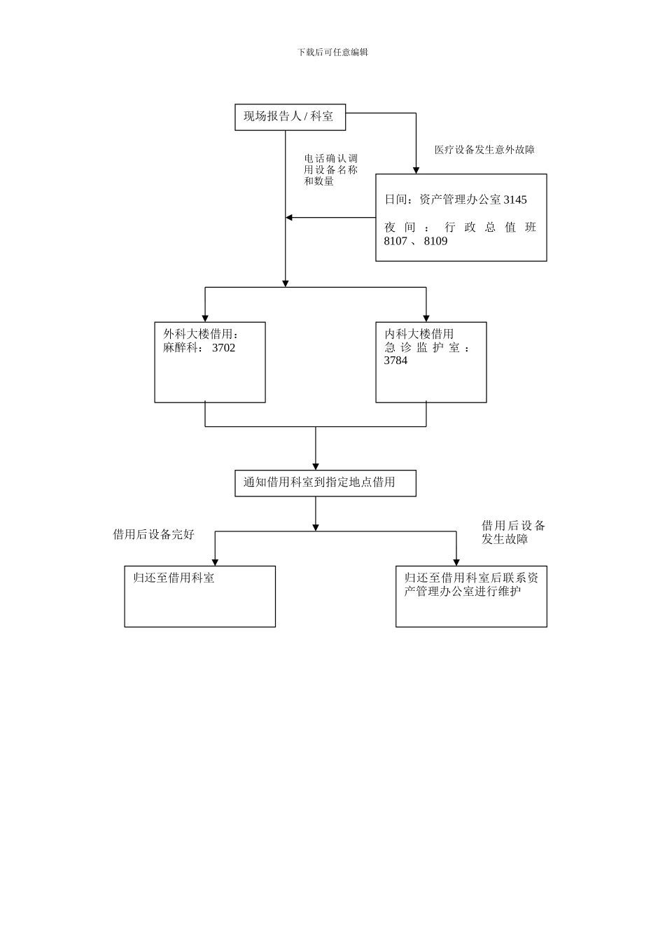
下载后可任意编辑医疗设备紧急调配制度1、 目的在医院医疗设备使用科室发生损坏或者急诊科出现突发事件接受了大量病人医疗抢救设备不够用情况下,解决医疗设备不够用的问题。2、 依据三级甲等医院评审项目3、 适用范围本院4、 职责资产管理办公室负责医疗设备紧急调配制度的执行5、 内容5.1 院内日间医疗设备调配5.1.1 由资产管理办公室负责,使用科室和借用科室共同参加。5.1.2 可以调配的医疗设备有:呼吸机、心电图机、除颤仪、监护仪5.1.3 医疗设备紧急调配在以下两种情况下可以执行:(1)使用科室医疗设备损坏无备用设备(2)紧急突发事件科室病人突增。5.1.4 医疗设备调配地点外科大楼设在麻醉科,内科大楼设在急诊监护室。5.1.5 明确医疗设备归还时间或归还条件,使用完毕及时归还。5.1.6 调用过程中医疗设备损坏,资产管理办公室负责维修。5.2 院内夜间医疗设备调配5.2.1 由行政值班负责,使用科室和借用科室共同参加5.2.2 可以调配的医疗设备有:呼吸机、心电图机、除颤仪、监护仪5.2.3 医疗设备紧急调配在以下两种情况下可以执行:(1)使用科室医疗设备损坏无备用设备(2)紧急突发事件科室病人突增。下载后可任意编辑5.2.4 医疗设备调配地点外科大楼设在麻醉科,内科大楼设在急诊监护室。5.2.5 明确医疗设备归还时间或归还条件,使用完毕及时归还。5.2.6 调用过程中医疗设备损坏,资产管理办公室负责维修。5.3 跨院医疗设备紧急调配5.3.1 突发公共事件发生,医院收治大量病人,本院医疗设备不够用时,向领近协议医院调配医疗设备。5.3.2 与领近医院有医疗设备紧急调配协议的医院有:东院医院、儿童医学中心 资产管理办公室 2008 年 6 月 5 日 仁济医院医疗设备调配流程下载后可任意编辑苗木供应合同书甲方:乙方:周至县哑柏镇绿星苗圃经甲乙双方协商同意, (以下简称甲方)从周至县哑柏镇绿星苗圃(以下简称乙方)购买银杏苗木,(用于渭政办发[2024]205 号文件,渭南市区绿化),并就相关事宜达成以下协现场报告人 / 科室日间:资产管理办公室 3145夜 间 : 行 政 总 值 班8107 、 8109外科大楼借用:麻醉科: 3702内科大楼借用急 诊 监 护 室 :3784通知借用科室到指定地点借用归还至借用科室归还至借用科室后联系资产管理办公室进行维护医疗设备发生意外故障电话确认调用设备名称和数量借用后设备完好借用后设备发生故障下载后可任意编辑议:一、苗木数量: 二、苗木规格:...

1、当您付费下载文档后,您只拥有了使用权限,并不意味着购买了版权,文档只能用于自身使用,不得用于其他商业用途(如 [转卖]进行直接盈利或[编辑后售卖]进行间接盈利)。
2、本站所有内容均由合作方或网友上传,本站不对文档的完整性、权威性及其观点立场正确性做任何保证或承诺!文档内容仅供研究参考,付费前请自行鉴别。
3、如文档内容存在违规,或者侵犯商业秘密、侵犯著作权等,请点击“违规举报”。

碎片内容

20240408113027-仪器设备紧急调配制度及流程

确认删除?
VIP
微信客服
  • 扫码咨询
会员Q群
  • 会员专属群点击这里加入QQ群
客服邮箱
回到顶部