1 / 8 ITIL 流 程 图 概述 2 / 8 1. IT 服 务支持流程图 3 / 8 成 熟 度 模 型 : 2. IT 服务提供流程 4 / 8...
ICU 技术操作流程图 一、ICU 接病人程序 接病人从手术车转移病床 连 接 呼 吸 机 观察 R 机呼气潮气量与预设是否一致 观察病...
人员招录管理程序 1. 目 的 1.1. 该 程 序 的 目 的 是 规 范 公 司 招 聘 录 用 新 员 工 的 步 骤 , 规 范...
人力资源部工作流程图(总图) 公司发展战略 组织机构设置 组织机 构图 机构 职责 年度编制计划 职位说明书 工作分析 定岗定编 ...
- 1 - HR 人力资源部管理流程图 - 2 - 行政人事部工作流程图(总图) 员工入职程序 招聘 入职 试用 转正 考勤 考核 评估 ...
、变电运行倒闸操作流程图(一)大型复杂倒闸操作流程图报告指令执行情况值班人员向调度值班员报告:X 号指令执行完毕,XX 任务在 X 时 ...
财务报销制度及报销流程第一部分总则第一条为了加强公司部管理,规公司财务报销行为,倡导一切以业务为重的指导思想,合理控制费用支出,特...
FPWINPro(第12章_利用顺序流程图编写程序)
低温炭化炉智能控制仪 操作及校验说明书 河南永煤碳纤维有限公司 设备部 2 0 1 1 -3 -2 日本岛电 FP93 可编程 PID 调节器中...
......心跳呼吸骤停抢救流程成人心跳呼吸骤停开始 CPR,吸氧,连接监护仪/除颤器1检查心脏节律,是否需要除颤无脉性电活动或心室停搏299室...
初步容量复苏(血流动力学不稳定者),双通路输液或中心静脉置管,快速输液 1500~2000ml 等渗晶体液(如林格液或生理盐水)及胶体液...
学校建设项目管理流程图建设项目的工作流程如下:建设项目划分为项目立项、工程设计与概预算、工程招标、工程建设与竣工决算五个主要环节,...
建设项目环评流程附件 1附件 2新建、改建、扩建、技改建设项目环保审批工作程序说明“环评”执行情况检查局监察大队对辖区企、事业单位历...
Forpersonal useonlyinstudyandresearch; not forcommercial use基建文件可按下列流程形成:项目申请项目建议书编制与批复形成可行性研...
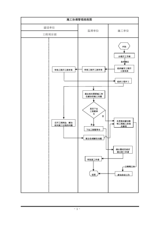
施工协调管理流程图建设单位工程项目部监理单位施工单位开始办理开工手续条件满足组织编写工程开工报审表召开工程例会,解决相关施工出现的...
实用标准工程项目管理工作流程图项目管理工作总体流程(一)工程指挥部物资公司建设部项目建议书设计单位工程部项目项目可研立项评审 与项...
精品文档给水系统施工工艺流程图施工准备施工准备材料检查管道安装管道放线水压试验调试交验支架预制冲洗消毒排污管网通水安装前检查排水系...
建筑工程施工工序控制流程图一:独立钢筋砼基础施工工艺流程施工的准备工作基础中心测放基础定位基础土方开挖垫层砼浇筑浇筑独立基础砼模板...
.患者突然发生病变时病情变化通知值班医生通知患者家属做好抢救准备通知医务科或总值班配合抢救工作患者猝死时的应急预案部分内容来源于网...
完美W ORD 格式资料 专业整理分享 康怡ERP 系统总体业务流程图及模块结构图 一、业务流程 [销售管理] 订单 订单审核 客户确认 ...

