电脑桌面
添加小米粒文库到电脑桌面
安装后可以在桌面快捷访问

分销商订单处之订单输入流程

分销商订单处之订单输入流程_第1页
1/3
分销商订单处之订单输入流程_第2页
2/3
分销商订单处之订单输入流程_第3页
3/3
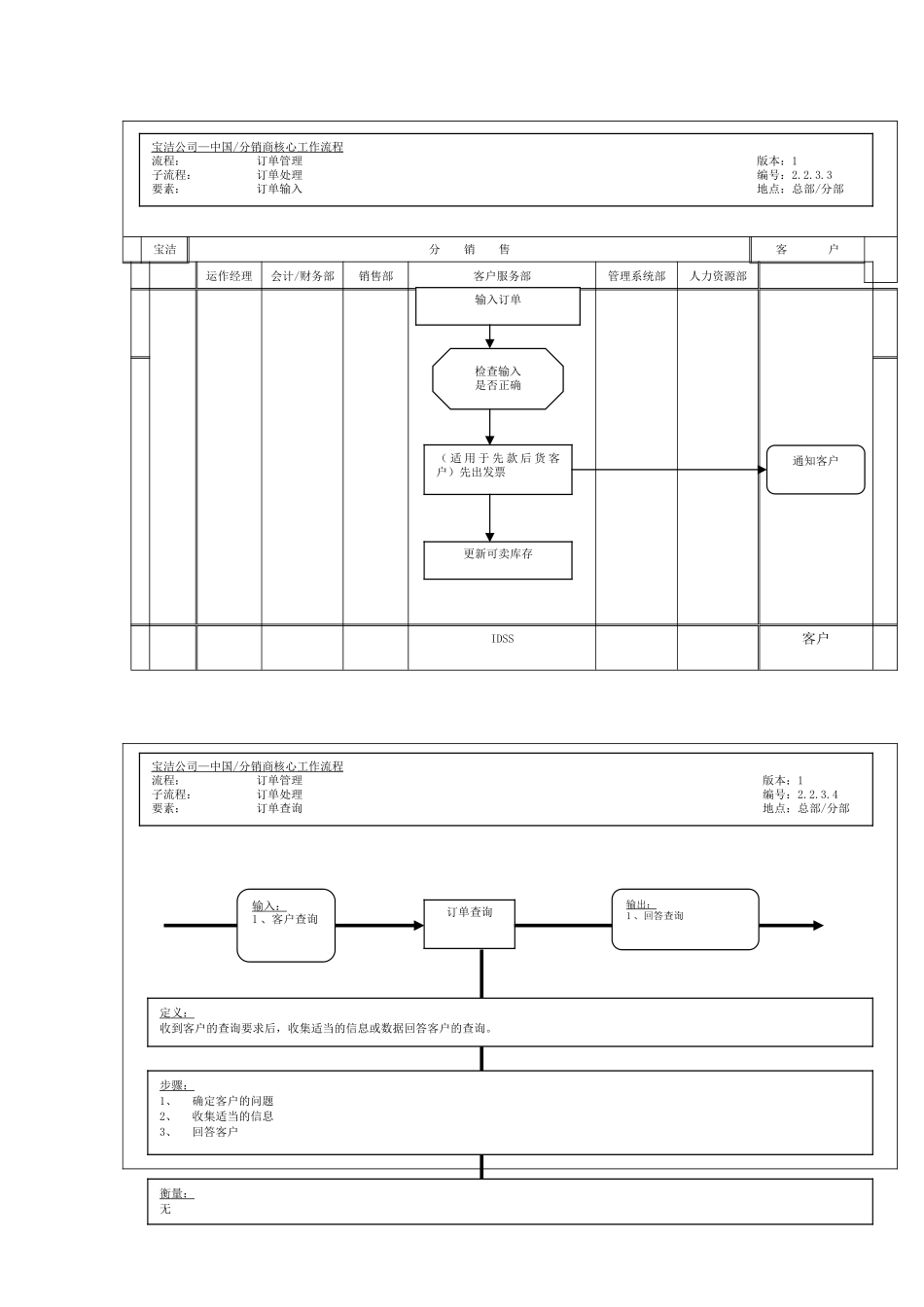
宝洁分 销 售客 户运作经理会计/财务部销售部客户服务部管理系统部人力资源部IDSS客户宝洁公司—中国 / 分销商核心工作流程 流程: 订单管理 版本:1子流程: 订单处理 编号:2.2.3.4要素: 订单查询 地点:总部/分部订单查询定义:收到客户的查询要求后,收集适当的信息或数据回答客户的查询。步骤:1、确定客户的问题2、收集适当的信息3、回答客户衡量:无宝洁公司—中国 / 分销商核心工作流程 流程: 订单管理 版本:1子流程: 订单处理 编号:2.2.3.3要素: 订单输入 地点:总部/分部输入:1 、客户查询输出:1 、回答查询输入订单检查输入是否正确( 适 用 于 先 款 后 货 客户)先出发票更新可卖库存通知客户157更多免费下载资料尽在:

1、当您付费下载文档后,您只拥有了使用权限,并不意味着购买了版权,文档只能用于自身使用,不得用于其他商业用途(如 [转卖]进行直接盈利或[编辑后售卖]进行间接盈利)。
2、本站所有内容均由合作方或网友上传,本站不对文档的完整性、权威性及其观点立场正确性做任何保证或承诺!文档内容仅供研究参考,付费前请自行鉴别。
3、如文档内容存在违规,或者侵犯商业秘密、侵犯著作权等,请点击“违规举报”。

碎片内容

分销商订单处之订单输入流程

您可能关注的文档

确认删除?
VIP
微信客服
  • 扫码咨询
会员Q群
  • 会员专属群点击这里加入QQ群
客服邮箱
回到顶部