电脑桌面
添加小米粒文库到电脑桌面
安装后可以在桌面快捷访问

考勤管理流程VIP专享

考勤管理流程_第1页
1/3
考勤管理流程_第2页
2/3
考勤管理流程_第3页
3/3
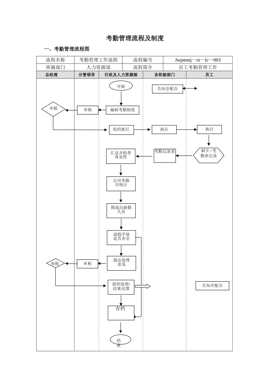
考勤管理流程及制度 一、考勤管理流程图流程名称考勤管理工作流程流程编号Jwpmmj—rz—lc—003所属部门人力资源部流程简介员工考勤管理工作总经理分管领导行政及人力资源部各职能部门员工开始组织执行汇总并检查真实性组织处理/结果反馈结束编制考勤制度公司考勤月统计执行刷卡 / 考勤表记录执行筛选出缺勤人员请假手续是否齐全提出处理意见告知并配合合告知并配合审核审核考勤记录表存档审批审批 二、考勤管理工作标准任务名称任务程序、重点及标准时限相关资料制度执行程序1、《员工考勤 管 理 制度》2、《员工考勤表》行政及人力资源部根据公司人力资源管理制度,制定公司员工考勤管理制度3 个工作日公司员工考勤制度得到公司领导审批后,行政及人力资源部组织各职能部门执行1 个工作日各职能部门执行考勤管理制度,做好员工的考勤工作,做到不遗漏一日、不遗漏一人每天重点每日的考勤管理标准公司每人每天不遗漏考勤月统计程序1、《员工考勤表》2、《员工加班申请单》3 、 《 请 假条》各职能部门每月对员工本月出勤的情况进行统计,编写考勤记录说明1 个工作日行政及人力资源部每月对公司员工本月出勤的情况进行统计,编制员工月考勤统计表2 个工作日行政及人力资源部从月考勤统计表中筛选出本月缺勤的员工1 个工作日重点员工月考勤统计表的汇总和核对标准汇总及时、核对准确缺勤人员处理程序1、《员工考勤 管 理 制度》2、《员工缺勤记录》行政及人力资源部检查缺勤员工的请假手续是否齐备1 个工作日假如缺勤员工各种请假手续齐备(病假、事假),则将相关资料存档保管2 个工作日假如缺勤员工未能履行公司规定的请假手续,行政及人力资源部根据制度进行处理2 个工作日处理意见报公司领导审批1 个工作日缺勤人员所在职能部门应配合处理缺勤人员,如口头批判教育、行政处分、扣发工资等处理即时行政及人力资源部将缺勤人员的缺勤卡、处理意见等存档,并妥善保管即时重点对缺勤人员的处理标准处理及时、得当三、考勤管理制度1、工作时间a)公司作息时间根据季节变化分冬令和夏令作息时间,具体作息时间以公司颁布的季节作息时间表为准;b)如因业务、生产需要,公司可根据具体情况酌情进行作息时间调整或延长工作时间。2、考勤方式车间组长、部门主管对所属员工部门或班组员工进行考勤登记,登记要求真实客观,不得对其部属迟到、早退、旷工等行为进行包庇纵容,如经发现,对主管进行同等处罚。3、迟到、早退、旷工、休假管理规定...

1、当您付费下载文档后,您只拥有了使用权限,并不意味着购买了版权,文档只能用于自身使用,不得用于其他商业用途(如 [转卖]进行直接盈利或[编辑后售卖]进行间接盈利)。
2、本站所有内容均由合作方或网友上传,本站不对文档的完整性、权威性及其观点立场正确性做任何保证或承诺!文档内容仅供研究参考,付费前请自行鉴别。
3、如文档内容存在违规,或者侵犯商业秘密、侵犯著作权等,请点击“违规举报”。

碎片内容

考勤管理流程

确认删除?
VIP
微信客服
  • 扫码咨询
会员Q群
  • 会员专属群点击这里加入QQ群
客服邮箱
回到顶部